

Single-room air handling unit
CIVIC EC LB 1200
CIVIC EC LBE 1200
CIVIC EC LBE2 1200
USER’S MANUAL
CIVIC EC LBE 1200 Single Room Air Handling Unit
This user’s manual is a main operating document intended for technical, maintenance, and operating staff.
The manual contains information about purpose, technical details, operating principle, design, and installation of the CIVIC EC LB(E/E2) 1200 unit and all its modifications.
Technical and maintenance staff must have theoretical and practical training in the field of ventilation systems and should be able to work in accordance with workplace safety rules as well as construction norms and standards applicable in the territory of the country.
SAFETY REQUIREMENTS
All user’s manual requirements as well as the provisions of all the applicable local and national construction, electrical, and technical norms and standards must be observed when installing and operating the unit.
Disconnect the unit from the power supply prior to any connection, servicing, maintenance, and repair operations.
Only qualified electricians with a work permit for electrical units up to 1000 V are allowed for installation. The present user’s manual should be carefully read before beginning works.
Check the unit for any visible damage of the impeller, the casing, and the grille before starting installation. The casing internals must be free of any foreign objects that can damage the impeller blades.
While mounting the unit, avoid compression of the casing! Deformation of the casing may result in motor jam and excessive noise.
Misuse of the unit and any unauthorised modifications are not allowed.
Do not expose the unit to adverse atmospheric agents (rain, sun, etc.).
Transported air must not contain any dust or other solid impurities, sticky substances, or fibrous materials.
Do not use the unit in a hazardous or explosive environment containing spirits, gasoline, insecticides, etc.
CiViC eC lB(e/e2) 1200
Do not close or block the intake or extract vents in order to ensure the efficient air flow.
Do not sit on the unit and do not put objects on it.
The information in this user’s manual was correct at the time of the document’s preparation.
The Company reserves the right to modify the technical characteristics, design, or configuration of its products at any time in order to incorporate the latest technological developments.
Never touch the unit with wet or damp hands.
Never touch the unit when barefoot.
This unit is not intended for use by persons (including children) with reduced physical, sensory or mental capabilities, or lack of experience and knowledge, unless they have been given supervision or instruction concerning use of the unit by a person responsible for their safety.
Children should be supervised to ensure that they do not play with the unit.
Ensure that the unit is switched off from the supply mains before removing the guard.
Precautions must be taken to avoid the back-flow of gases into the room from the open flue of gas or other fuel-burning appliances.
If the supply cord is damaged, it must be replaced by the manufacturer, its service agent, or similarly qualified persons in order to avoid a safety hazard.
THE PRODUCT MUST BE DISPOSED SEPARATELY AT THE END OF ITS SERVICE LIFE.
DO NOT DISPOSE THE UNIT AS UNSORTED DOMESTIC WASTE.
PURPOSE
The unit is designed to ensure continuous mechanical air exchange in houses, offices, hotels, cafes, conference halls, and other utility and public spaces as well as to recover the heat energy contained in the air extracted from the premises to warm up the filtered stream of intake air.
The unit is not intended for organizing ventilation in swimming pools, saunas, greenhouses, summer gardens, and other spaces with high humidity.
Due to the ability to save heating energy by means of energy recovery, the unit is an important element of energy-efficient premises.
The unit is a component part and is not designed for stand-alone operation. It is rated for continuous operation.
Transported air must not contain any flammable or explosive mixtures, evaporation of chemicals, sticky substances, fibrous materials, coarse dust, soot and oil particles or environments favourable for the formation of hazardous substances (toxic substances, dust, pathogenic germs).
THE UNIT SHOULD NOT BE OPERATED BY CHILDREN OR PERSONS WITH REDUCED
PHYSICAL, MENTAL, OR SENSORY CAPACITIES, OR THOSE WITHOUT THE APPROPRIATE TRAINING.
THE UNIT MUST BE INSTALLED AND CONNECTED ONLY BY PROPERLY QUALIFIED PERSONNEL AFTER THE APPROPRIATE BRIEFING.
THE CHOICE OF UNIT INSTALLATION LOCATION MUST PREVENT UNAUTHORISED ACCESS BY UNATTENDED CHILDREN.
DELIVERY SET
| NAME | NUMBER |
| Unit section | 2 |
| L-shaped bend | 2 |
| Set of fixing screws | 1 |
| Decorative panel | 1 |
| User’s manual | 1 |
| Control panel (for units with S22 and S25 automation) | 1 |
| Packing box | 2 |
DESIGNATION KEY

TECHNICAL DATA
The unit is designed for indoor application with the ambient temperature ranging from +1 °C up to +40 °C and relative humidity up to 60 % without condensation. In cold, damp rooms, there is a possibility of freezing or condensation inside and outside the casing.
In order to prevent condensation on the internal walls of the unit, it is necessary that the surface temperature of the casing is 2-3 °C above the dew point temperature of the transported air.
The unit should be operated continuously, and in cases where ventilation is not necessary, reduce the air flow of the fans to a minimum (20%). This will ensure a favorable indoor climate and reduce the amount of condensation inside the unit, which can damage electronic components. Never use the unit for dehumidification, for example, of new buildings.
The unit is rated as a Class I electrical appliance.
Hazardous parts access and water ingress protection rating:
IP20 for the unit connected to the air ducts
IP44 for the unit motors
The unit design is constantly being improved, thus some models may be slightly different from those described in this manual.
| CIVIC EC LB 1200 | CIVIC EC LBE 1200 | CIVIC EC LBE2 1200 | |
| Supply voltage [V/50 (60) Hz] | 1-230 | 3400 | |
| Maximum power consumption without electric heaters [W] | 350 | ||
| Preheater power [W] | – | 6300 | 6300 |
| Reheater power [W] | – | – | 6300 |
| Maximum unit current without electric heaters [A] | 2. | ||
| Maximum unit current with electric heaters [A] | – | 10. | 19. |
| Air flow [m3/h] | 1240 | ||
| Sound pressure level at 3 m distance [dBA] | 24 | ||
| Transported air temperature [°C] | -25…+40 | ||
| Casing material | painted steel | ||
| Insulation | 40 mm mineral wool | ||
| Extract filter | G4 | ||
| Supply filter | G4 + optional F7 | ||
| Connected air duct diameter [mm] | 400 | ||
| Weight [kg] | 394 | 398 | 400 |
| Heat recovery efficiency [961 | 84…96 | ||
| Heat exchanger type | counter-flow | ||
| Heat exchanger material | polystyrene | ||
| SEC class | A+ | ||
Units without a drain pump are designed to operate in an electrical supply network with a frequency of 50(60) Hz, with a drain pump — 50 Hz only.
OVERALL DIMENSIONS [mm]

| H | H1 | D | H3 | H4 | H5 | L | Ll | L2 | L3 |
| 2106 | 2000 | 400 | 545 | 1110 | 70 | 1900 | 1951 | 265 | 535 |
DESIGN AND OPERATING PRINCIPLE
UNIT OPERATION LOGIC
Heat Recovery mode: warm stale extract air from the room flows into the unit, where it is filtered by the extract filters, then air flows through the heat exchanger and is exhausted outside by the extract fan. Cold fresh air from the outside flows into the unit, where it is cleaned by the supply filters. Then the air flows through the heat exchangers and is directed to the room with the supply fan. Heat energy of warm extract air is transferred to clean intake fresh air from the outside and warms it up. The air flows are fully separated while flowing through the heat exchanger. Heat recovery minimizes heat losses, which reduces the cost of space heating in the cold season.
Summer Cooling mode: the bypass damper is opened, the intake air that is supplied to the premises bypasses the heat exchanger and its temperature doesn’t change.
The units have three frost protection modes (danger of freezing appears when the exhaust air temperature downstream of the heat exchanger is lower than +5 °C and intake air temperature upstream of the heat exchanger is lower than -3 °C):
— gradual reduction of the supply fan speed
— with the bypass
— with the electric preheater (if the unit is equipped with a preheater)
Mode selection and settings are described in the control system user’s manual.

UNIT DESIGN
The units are available in left-hand and right-hand design. Choosing the right arrangement can improve the ease of installation, shorten the length of the ducts and reduce the number of air duct bends.

DVUT 1200 HB E2 EC unit design

1 – air dampers 2 – G4 supply filter 3 – F7 supply filter (option) 4 – preheater 5 – supply fan 6 – SETUP MODE button 7 – louver shutters for adjusting supply air direction 8 – extract fan 9 – reheater 10 – control unit 11 – differential pressure switch of the extract filter 12 – G4 extract filter 13 – differential pressure switch of the supply filter 14 – terminal block for internal connections 15 – bypass damper 16 – counter-flow heat exchanger
The unit is equipped with a service door for technical and maintenance operations. Opening the service door while the unit is running will lead to its shut down. The unit design enables installation of a bypass duct with a bypass damper to route the intake air stream without contacting the heat exchanger.
The unit is equipped with differential pressure switches to control filter clogging.
Additional equipment for the unit is available on a separate order.
- Humidity sensor. The unit with an installed humidity sensor maintains a set indoor humidity level. As the extract air humidity rises above the set point, the system automatically switches to the maximum speed. As the humidity drops down below the set point the unit returns to the previous mode.
- CO2 sensor. Measures the level of concentration of carbon dioxide in the room and generates a signal that controls the performance of the fan. Air flow control based on CO2 concentration is an efficient energy saving solution.
- VOC sensor. Qualitative assessment of air saturation with contaminants (cigarette smoke, exhaled air, solvent and detergent vapours).
- The sensor sensitivity can be adjusted with regards to the expected maximum level of air pollution. Enables on-demand ventilation which results in considerable energy savings as air is exchanged only upon reaching the preset level of pollution.
MOUNTING AND SET-UP
READ THE USER’S MANUAL BEFORE INSTALLING THE UNIT.
While choosing the mounting location provide enough access for maintenance or repair work.

The unit is designed for mounting to a horizontal surface adjacent to the wall with the ready-made holes for the air ducts. Lower the supports on the feet of the unit. During operation, the unit must stand on supports. By adjusting the height of the supports, achieve a strictly horizontal unit position.
To get the best performance of the unit and to minimize turbulence-induced air pressure losses, connect the straight air duct section to the unit spigots.
Minimum straight air duct length:
• equal to 1 air duct diameter on the intake side
• equal to 3 air duct diameters on outlet side
If the air ducts are too short or not connected, protect the unit parts from ingress of foreign objects. To prevent uncontrollable access to the fan, the spigots may be covered with a protecting grille or other protecting device with mesh width not more than 12.5 mm. The unit sections are equipped with feet with rollers and supports.
By turning the adjusting screw head, the unit can be mounted on rollers or on supports.

1 – adjusting screw head
2 – roller
3 – support
Open the service door. Connect the sections of the unit.


Secure the sections with screw connections (mounting screws are included in the delivery set).

Close the door and install the decorative panel.

CO2 , VOC, HUMIDITY SENSOR MOUNTING (NOT INCLUDED IN THE DELIVERY SET)
The sensors are installed in the exhaust air duct upstream of the heat exchanger. Before installation, remove the protection plate and remove the extract filter.

Install the CO2 and VOC sensors in the respective brackets and connect the connectors to them.

1 – mounting bracket for the VOC sensor
2 – VOC sensor
3 – connector of the VOC sensor
4 – mounting bracket for the CO2 sensor
5 – CO2 sensor
6 – connector of the CO sensor
To connect the humidity sensor, unscrew the screws securing the bracket and remove it.

CiViC eC lB(e/e2) 1200
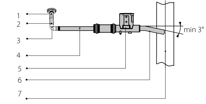
CONDENSATE DRAINAGE
The models without a drain pump are equipped with condensate drain pipes.

Connect the drain system to the spigots.

1 – drain pipe (Ø 20 mm) 2 – coupling 3 – L-shaped bend (Ø 20 mm) 4, 6 – connection pipe 5 – U-trap 7 – sewage system
A separate drainage system must be connected to each drain pipe. Connect the drain pipe, bend, U-trap and the sewage system with metal, plastic or rubber connection pipes.
While laying the connection pipes provide the slope of minimum 3° downwards. Before starting operation, provide free drainage for the condensed water, otherwise it is accumulated inside the unit that may cause the equipment damage and condensate outflow to the room. Fill up the U-trap with water before using it.
For the units with a drain pump make sure that the flexible hose (Ø 6 mm) from the pump is connected to the sewage system.
The drain pump provides timely pumping of the condensed water from the unit.

THE CONDENSATE DRAINAGE SYSTEM IS DESIGNED FOR NORMAL OPERATION IN PREMISES WITH AIR TEMPERATURES ABOVE 0 °C!
IF THE EXPECTED AMBIENT AIR TEMPERATURES ARE BELOW 0 °C, THE CONDENSATE DRAINAGE SYSTEM MUST BE EQUIPPED WITH HEAT INSULATION AND PREHEATING FACILITIES.
CONNECTION TO POWER MAINS
POWER OFF THE POWER SUPPLY PRIOR TO ANY OPERATIONS WITH THE UNIT. THE UNIT MUST BE CONNECTED TO POWER SUPPLY BY A QUALIFIED ELECTRICIAN.
THE RATED ELECTRICAL PARAMETERS OF THE UNIT ARE GIVEN ON THE MANUFACTURER’S LABEL.
ANY TAMPERING WITH THE INTERNAL CONNECTIONS IS PROHIBITED AND WILL VOID THE WARRANTY.
DO NOT LAY THE CABLE IN CLOSE PROXIMITY TO THE CONTROL PANEL CABLE! WHILE ROUTING THE CONTROL PANEL CABLE DO NOT COIL THE EXTRA LENGTH.
After mounting the unit, make internal connections according to the label on the casing.
To access the terminal block, remove the fixing screws and remove the cover.

The unit with a drain pump is designed to be connected to 1~230 V/50 Hz or 3~400 V/50 Hz power mains, without a drain pump — 1~230 V/50(60) Hz or 3~400 V/50(60) Hz.
The drain pump is not included in the delivery set and must be ordered separately.
The unit is rated for connection to 3~400 V/50 (60) Hz power mains according to the wiring diagram.
The connection must be made using durable, insulated and heat-resistant conductors (cables, wires). The actual wire cross section selection must be based on the maximum load current, maximum conductor temperature depending on the wire type, insulation, length and installation method. The external power input must be equipped with an automatic circuit breaker built into the stationary wiring to open the circuit in the event of overload or short-circuit. The position of the external circuit breaker must ensure free access for quick unit power-off.
The trip current of the automatic circuit breaker must exceed the maximum current consumption of the unit (refer to the “Technical data” section or to the unit label). It is recommended to select the rated current of the circuit breaker from the standard series, following the maximum current of the connected unit. The circuit breaker is not included in the delivery set and can be ordered separately.
To access the terminal block, remove the fixing screws and remove the cover.

Route the cables to the terminal block unit through the sealed cable glands in the unit.
Complete the electrical connections as shown in the external connections diagram.
EXTERNAL CONNECTION DIAGRAM FOR CIVIC EC LB 1200

EXTERNAL CONNECTION DIAGRAM FOR CIVIC EC LBE 1200, CIVIC EC LBE2 1200

| Designation | Name | Wire type | Note |
| PK1 * | Contact from a fire alarm panel | 2 x 0.75 mm2 | Remove the jumper. |
| CCU* | Cooler control | 2 x 0.75 mm2 | 3 A, 30 V DC/-250 AC |
| P1 * | External control panel | 4 x 0.25 mm2 | Maximum cable length from the to 10 |
| controller the control panel — m. | |||
| Boost* | On/Off contacts of the Boost mode | 2 x 0.75 mm2 |
*Is not included in the delivery set.
— ELECTRIC SHOCK HAZARD!
CONTROL
The unit can be controlled using a wired wall control panel (S22, S25) and a mobile app (S21).
Control panels and the application can be used together or separately.
The control panel functions and operation of the mobile application are described in the respective user’s manuals.
TECHNICAL MAINTENANCE
DISCONNECT THE UNIT FROM POWER SUPPLY BEFORE ANY MAINTENANCE OPERATIONS!
MAKE SURE THE UNIT IS DISCONNECTED FROM POWER MAINS BEFORE REMOVING THE PROTECTION
Maintenance operations of the unit are required 3-4 times per year. They include general cleaning of the unit and the following operations:
- Filter maintenance.
Dirty filters increase air resistance in the system and reduce supply air volume. The filters require cleaning not less than 3-4 times per year. Clean the filter with a vacuum cleaner or replace it with a new one. To clean the filters, remove them from the unit. For new filters, contact the Seller.
- Heat exchanger maintenance (once per year).
Some dust may accumulate on the heat exchanger even in case of regular maintenance of the filters. To maintain the high heat recovery efficiency, regular cleaning is required. To clean the heat exchanger, remove it from the unit and clean the heat exchanger by using compressed air or a vacuum cleaner. After cleaning, reinstall the eat
exchanger into the unit.
- Fan maintenance (once per year).
Even in case of regular maintenance of the filters, some dust may accumulate inside the fans and reduce the fan performance and supply air flow.
To access the fans, remove the protection plates (secured with the screws).
Clean the fans with a soft cloth, brush, or using compressed air.
Do not use water, aggressive solvents, or sharp objects as they may damage the impeller.
- Ductwork system maintenance (once in 5 years).
Even regular fulfilling of all the maintenance operations prescribed above may not completely prevent dirt accumulation in the air ducts, which leads to air pollution and reduces the unit capacity. Duct maintenance means regular cleaning or replacement.
TROUBLESHOOTING
IF UNIDENTIFIED NOISES OR ODOURS SHOULD ARISE AND IN CASE OF DEFORMATION OF ELEMENTS, VIBRATION, TERMINATION OF AIR SUPPLY/EXTRACTION OR REDUCED SYSTEM PERFORMANCE, IMMEDIATELY DISCONNECT THE UNIT FROM POWER SUPPLY AND CONTACT THE SELLER FOR THE UNIT DIAGNOSTICS DIAGNOSTICS MUST BE CARRIED OUT BY QUALIFIED SPECIALISTS
| Problem | Possible reasons | Troubleshooting |
| The fan(s) does (do) not start when the unit is on. | No power supply. | Make sure the power supply line is connected correctly, otherwise troubleshoot the connection error. |
| The motor is jammed, the impeller blades are soiled. | Turn the unit off Troubleshoot the motor jam and the impeller clogging. Clean the blades. Restart the unit | |
| Alarm in the system. | Turn the unit off. Contact the Seller. | |
| Automatic circuit breaker trips following the unit turning on. | Overcurrent as a result of short circuit in the electric line. | Turn the unit off. Contact the Seller. |
| Low air flow. | Low set fan speed. | Set higher speed. |
| The filters and the fans are clogged, the heat exchanger is clogged. | Clean or replace the filters, clean the fans and the heat exchanger. | |
| Ventilation system elements (air ducts, diffusers, louver shutters, grilles) are clogged, damaged or closed. | Clean or replace the ventilation system elements, such as air ducts, diffusers, louver shutters, grilles. | |
| Cold supply air. | The extract filter is soiled. | Clean or replace the extract filter. |
| Noise, vibration. | The impeller(s) is soiled. | Clean the impeller(s). |
| The fan or casing screw connection is loose. | Tighten the screw connection of the fans or the casing all the way. | |
| No anti-vibration connectors on air duct pipe flanges. | Install anti vibration connectors. | |
| Water leakage. | The drainage system is soiled, damaged, or installed incorrectly. | Clean the drain line. Check the drain line slope angle. Make sure that the U-trap is filled with water and the drain pipes are frost protected. |
If troubleshooting steps have failed, contact the Seller of the product.
In case of faults not described in the table, contact the Seller for further information.
STORAGE AND TRANSPORTATION REGULATIONS
- Store the unit in the manufacturer’s original packaging box in a dry closed ventilated premise with temperature range +5 ˚C…+40 ˚C and relative humidity up to 70 %.
- Storage environment must not contain aggressive vapors and chemical mixtures provoking corrosion, insulation, and sealing deformation.
- Use suitable hoist machinery for handling and storage operations to prevent possible damage to the unit.
- Follow the handling requirements applicable for the particular type of cargo.
- The unit can be carried in the original packaging by any mode of transport provided proper protection against precipitation and mechanical damage. The unit must be transported only in the working position.
- Avoid sharp blows, scratches, or rough handling during loading and unloading.
- Prior to the initial power-up after transportation at low temperatures, allow the unit to warm up at operating temperature for at least 3-4 hours.
MANUFACTURER’S WARRANTY
The product is in compliance with EU norms and standards on low voltage guidelines and electromagnetic compatibility. We hereby declare that the product complies with the provisions of Electromagnetic Compatibility (EMC) Directive 2014/30/EU of the European Parliament and of the Council, Low Voltage Directive (LVD) 2014/35/EU of the European Parliament and of the Council and CE-marking Council Directive 93/68/EEC. This certificate is issued following test carried out on samples of the product referred to above. The manufacturer hereby warrants normal operation of the unit for 24 months after the retail sale date provided the user’s observance of the transportation, storage, installation, and operation regulations. Should any malfunctions occur in the course of the unit operation through the Manufacturer’s fault during the guaranteed period of operation, the user is entitled to get all the faults eliminated by the manufacturer by means of warranty repair at the factory free of charge. The warranty repair includes work specific to elimination of faults in the unit operation to ensure its intended use by the user within the guaranteed period of operation. The faults are eliminated by means of replacement or repair of the unit components or a specific part of such unit component.
The warranty repair does not include:
- routine technical maintenance
- unit installation/dismantling
- unit setup
To benefit from warranty repair, the user must provide the unit, the user’s manual with the purchase date stamp, and the payment paperwork certifying the purchase. The unit model must comply with the one stated in the user’s manual. Contact the Seller for warranty service.
The manufacturer’s warranty does not apply to the following cases:
- User’s failure to submit the unit with the entire delivery package as stated in the user’s manual including submission with missing component parts previously dismounted by the user.
- Mismatch of the unit model and the brand name with the information stated on the unit packaging and in the user’s manual.
- User’s failure to ensure timely technical maintenance of the unit.
- External damage to the unit casing (excluding external modifications as required for installation) and internal components caused by the user.
- Redesign or engineering changes to the unit.
- Replacement and use of any assemblies, parts and components not approved by the manufacturer.
- Unit misuse.
- Violation of the unit installation regulations by the user.
- Violation of the unit control regulations by the user.
- Unit connection to power mains with a voltage different from the one stated in the user’s manual.
- Unit breakdown due to voltage surges in power mains.
- Discretionary repair of the unit by the user.
- Unit repair by any persons without the manufacturer’s authorization.
- Expiration of the unit warranty period.
- Violation of the unit transportation regulations by the user.
- Violation of the unit storage regulations by the user.
- Wrongful actions against the unit committed by third parties.
- Unit breakdown due to circumstances of insuperable force (fire, flood, earthquake, war, hostilities of any kind, blockades).
- Missing seals if provided by the user’s manual.
- Failure to submit the user’s manual with the unit purchase date stamp.
- Missing payment paperwork certifying the unit purchase.
FOLLOWING THE REGULATIONS STIPULATED HEREIN WILL ENSURE A LONG AND TROUBLE-FREE OPERATION OF THE UNIT.
USER’S WARRANTY CLAIMS SHALL BE SUBJECT TO REVIEW ONLY UPON PRESENTATION OF THE UNIT, THE PAYMENT DOCUMENT AND THE USER’S MANUAL WITH THE PURCHASE DATE STAMP.
CERTIFICATE OF ACCEPTANCE
| Unit Type | Single-room air handling unit |
| Model | |
| Serial Number | |
| Manufacture Date | |
| Quality Inspector’s Stamp |
SELLER INFORMATION
| Seller | |
| Address | |
| Phone Number | |
| Purchase Date | |
| This is to certify acceptance of the complete unit delivery with the user’s manual. The warranty terms are acknowledged and accepted. | |
| Customer’s Signature | |

INSTALLATION CERTIFICATE
| The unit is installed pursuant to the requirements stated | |||
| in the present user’s manual. | |||
| Company name | |||
| Address | |||
| Phone Number | |||
| Installation Technician’s Full Name | |||
| Installation Date: | Signature: | ||
| The unit has been installed in accordance with the provisions of all the applicable local and national construction, electrical and technical codes and standards.The unit operates normally as intended by the manufacturer. | |||
| Signature: | |||

WARRANTY CARD
| Unit Type | Single-room air handling unit |
| Model | |
| Serial Number | |
| Manufacture Date | |
| Purchase Date | |
| Warranty Period | |
| Seller |



http://blaubergventilatoren.de
B142-1EN-02

















