Sport-Thieme 111 8634 Aluminium Barrier

Thank you for choosing a Sport-Thieme product!
Please read the following notes carefully before use so you can enjoy this product safely and keep these instructions for future reference.
If you have any questions, our team is here for you.
Items included

- Post, 140 cm long, 60×2.5 mm tube
- Handrail, 500 cm long, 60×2.5 mm tube
- T-connector
- 90-degree bend
The number of items will depend on the barrier length ordered. Each T-connector is supplied with three rivets.
General
As the barrier is made entirely of aluminium, it requires no maintenance. Installation is straightforward, so you should be able to do it easily yourself.
The handrails and posts are joined by very sturdy, precision-fit aluminum-cast T-connectors; the rails and posts just need to be inserted into the connectors and secured via the pre-marked boreholes.
Unless the barrier encloses an entire area, the end section is completed by a 90-degree bend 4 .

Assembly
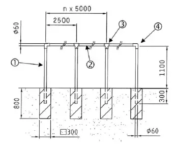
Each foundation should measure 300×300×800 mm, with a distance of 2,500 mm between the centres.
The posts must be coated with bitumen or epoxy coal tar where they are set into concrete to prevent corrosion.
Once the posts have been set in concrete, another anti-corrosion coat should be applied to the section where the aluminium and concrete join.
When setting the posts in concrete, do not use rapid-set additives or anti-freeze agents, as these can damage the posts.
Fill half of the moist-earth pit with B25 concrete and compress. Then insert the posts, align them and fill the pits with concrete. Make sure the posts protrude by 1,100 mm above ground and are 2,500 mm apart (measured from centre point to centre point). Then allow the concrete to set.
Add the handrails using the T-connectors as shown above and use the 90-degree bends at each end of the barrier.
Drill the holes as marked out on the T-connectors using a 5.0-mm-diameter drill, and then secure using three rivets per connector (as shown in figure above). The 90-degree bends do not require drilling or riveting.
Warnings
- This product must only be used for its intended purpose.
- Do not overload or climb on this equipment.
Maintenance and care
- Perform a visual inspection regularly.
- Tighten the screw connections routinely.
- Inspect the equipment for any damage and replace worn parts.
- Due to continuous quality control of our products, technical changes may occur which could lead to minor alterations to the instructions.
If you have any questions,our experts at Sport-Thieme are here for you.

















