CRUZ 924-771 Aluminium Bars

Code: 924- 77x |
Model: Cruz Airo T |
Lot:
Weight:
|
![]() |
|
R 26.03 ECE Type Approval Number |
![]() |
![]() |
![]() |
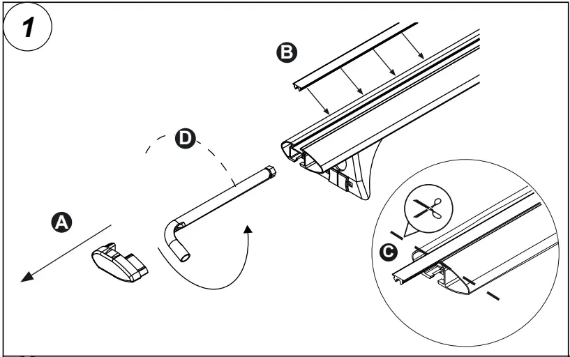
Package content
Check!

| Code | ![]() | ![]() | Lot | ||
| 924-771 | 823-771 | 108 cm | 2x (012-151) 1x (012-152) | 4,83 kg | 01/14 |
| 924-773 | 823-773 | 118 cm | 5,08 kg | 01/14 | |
| 924-775 | 823-775 | 128 cm | 5,30 kg | 01/14 | |
| 924-776 | 823-776 | 133 cm | 5,52 kg | 01/14 |
Code
924-77x
Lv 7 2014 – r2

Important!
Bars must be used with Cruz fixation Kits!
Assembly instructions
Read first!




Customer Support
Cruzber S.A., ES-A14018311
P.I. Las Salinas II, E-14960 Rute
www.cruzber.com



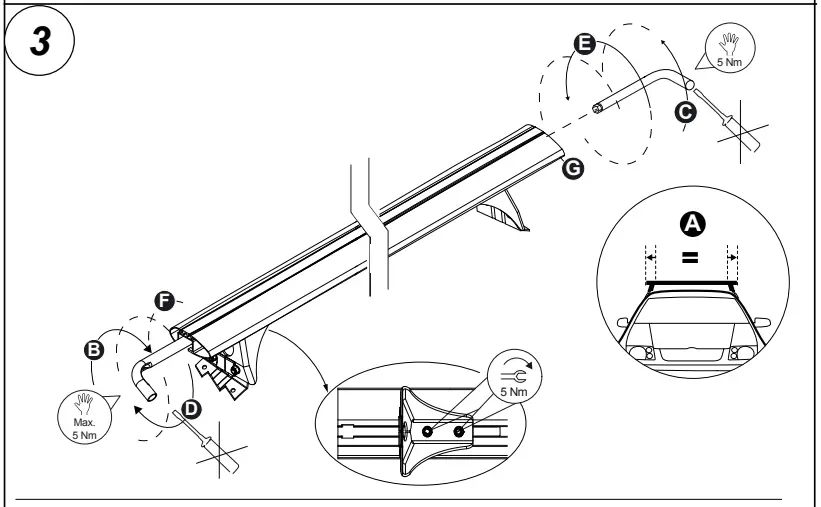
Kit A: Max. 60 kg














