INNOVATIVE MNPA10-8500I Terminal Stand

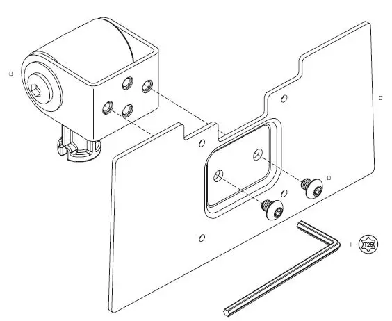
Parts List

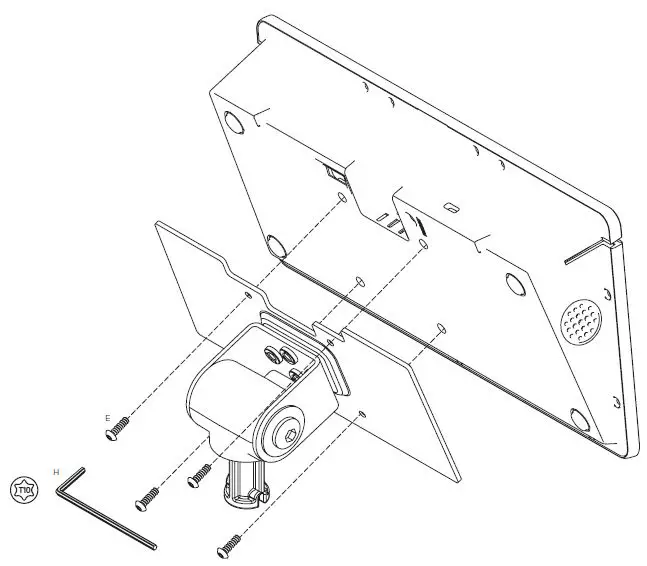
ASSEMBLY




Innovative Ergonomic Solutions
800 524 2744
[email protected]
team-ies.com






Innovative Ergonomic Solutions
800 524 2744
[email protected]
team-ies.com
Download manual
Here you can download full pdf version of manual, it may contain additional safety instructions, warranty information, FCC rules, etc.