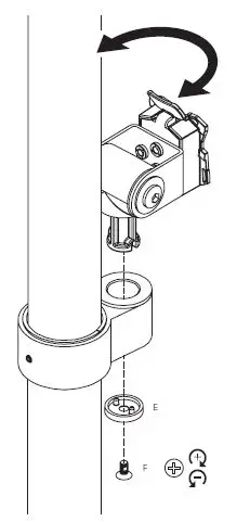
innovative MNPA10-LANE-WK Ingenico Lane Payment Terminal Stand






Innovative Ergonomic Solutions
800 524 2744
[email protected]
team-ies.com






Innovative Ergonomic Solutions
800 524 2744
[email protected]
team-ies.com
Download manual
Here you can download full pdf version of manual, it may contain additional safety instructions, warranty information, FCC rules, etc.