INNOVATIVE PTS-04-8500I Payment Terminal Stand

Parts List
A. M3-0.5 x 10mm Button Head Screw 4x 714485

B. T10 L-Key 1x 714898

C. T25 L-Key 1x 714899

Instruction
IMPORTANT:
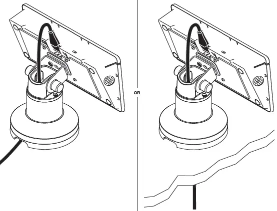
Determine cable routing prior to installing mount. This will ensure the mount is installed in the correct orientation for your installation.
Above Surface Cable Routing
Locate the mount cable exit and plan your installation accordingly.

Below Surface Cable Routing
Cables may pass through the mount (requires grommet hole).


ROTATION
Placement of the two rotation stop screws in the outer ring determine the amount of payment terminal rotation. You can remove the screws from their original location and place them in any of the holes in the outer ring to allow for the amount of desired rotation.

OR
NO ROTATION
There are rotation stop ribs underneath the top portion of the mount that can be placed directly over the rotation stop screw or pin.
This positioning will prevent the payment terminal from rotating. Determine the proper rotation stop screw location for your installation.

When placing the top of the mount onto the base, ensure the rotation stop ribs fall in between the rotation stops that were set in place in Step 2.
Or in a no rotation configuration, the ribs must be placed over top the rotation stop screw or pin.
HOW TO RELEASE MOUNT
Locate the release tab inside the mount. Using a screwdriver, or similar tool, pull back on the tab. With the tab pulled back, lift up on the upper portion of the mount to release.




ADJUSTMENT FEATURE
To adjust the tilt friction, remove the hex nut covers and tighten or loosen the 13mm hex nut while securing the pivot screw on the inside of the mount with a 14mm wrench. Adjust both sides as needed.

Innovative Ergonomic Solutions
800 524 2744
[email protected]
team-ies.com



















