Godox MoveLink 2.4GHz Wireless Microphone System

Forward
Thank you for purchasing Godox Movelink 2.4GHz wireless microphone system. These products are suitable for video recording, journalistic shooting, audio recording, etc. Please read this manual carefully before using to make sure the correct operation and exert the optimum function.
Features
- CD Adopt globally accepted 2.4GHz wireless and frequency-hopping technology to avoid same frequency disturbance, which can be usead in WIFI and Bluetooth simultaneously (may be influenced in occasions with multiple WIFI nodes)
- Clear, stable and lossless sound quality
- The maximum wireless distance up to 50m
- With TFT display to show the parameters setting
- Support 3.5mm Earphone real-time monitoring
- With output volume control and silence function
- Stable match of transmitting and receiving
- Supports two-way transmitting and one-way receiving
- Freely switch mono or stereo channel to offer more output options
- Two lithium battery charging methods through USB port or Movelink charging case connected to power supply.
Warning
- Do not disassemble. Should repairs become necessary, this product must be sent to an authorized maintenance center.
- Always keep this product dry. Do not use in rain or in damp conditions .
- Keep out of reach of children .
- Do not use the device in the presence of flammable gas. In certain circumstance, please pay attention to the relevant warnings .
- Do not leave or store the product if the ambient temperature reads over 40°C. Tum off the devices immediately in the event of malfunction.
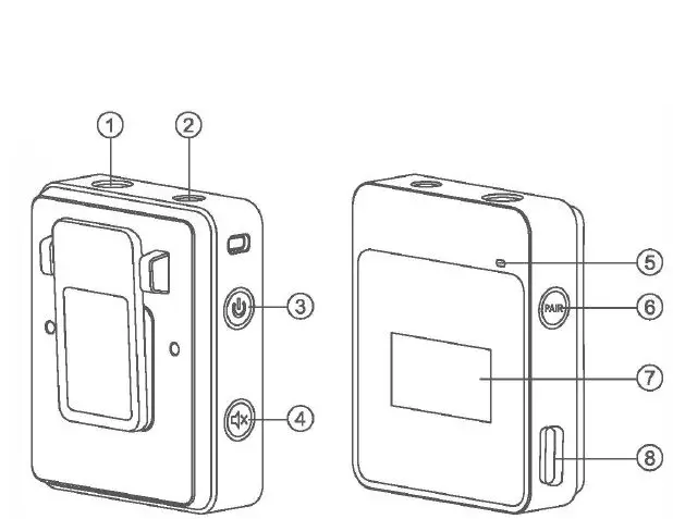
Names of Parts
Movelink TX (Transmitter)
- Built-in Microphone
- 3.5mm Audio Port
- Power Switch Button
- Mute Button
- Working Indicator
- Pairing Button
- TFT Display
- USB Type-C Port

Movellnk RX {Receiver)
- 3.5mm Audio Sync Monitoring Port
- 3.5mm TRS Audio Output Port
- Power Switch/Switch Volume Setting Button
- Sound+/-
- Pairing Button
- Working Indicator
- TFT Display
- USB Type-C Port

Functions and Operation
Movellnk TX (Transmitter)
- Display
Icon 1: connecting channel. A means connecting to A channel.
Icon 2: connecting state. The icon on the picture means connected state.
Icon 3: battery level.
Icon 4: recording and silent icon. The icon on the picture means recording state.
Icon 5: soundbyte indication.
- Function Introduction
Power switch: long press the power switch to power on or off. In the state of power-on, if there is USB Type-C Cable inserted, long press the power switch to enter standby state and the charging animation will be displayed. In standby state, long press the power switch to power on.
Short press the TX mute button to switch on or off silent mode.
Long press the pairing button to match the receiver. The indicator will light blue when successfully matched.
Charge the products through USB Type-C port directly. The charging animation will be displayed in charging. - Installation Method
Using built-In microphone: Through the back clip
Install the transmitter on the collar through the back clip, aiming the built-in microphone towards the sound source direction.
For achieving better invisibility during the usage, it is recommended to fix the back dip towards the outside.

Through the magnetic mount
Back clip of Movelink transmitter and receiver with magnetic which can be mount on smooth metal iron surface.The including iron sheet can strongly absorb the back clip, allowing the transmitter or receiver to be hidden in the clothes. Hold the transmitter in one hand with the back clip facing out and put it into the clothes. With the other hand, cover the iron sheet on the dothes to absorb the back clip. After the back clip is strongly sucked, you can let them go. Note that single-layer clothes can be strongly adsorbed. Thicker, ultra-thick or multilayer clothes will have weak adsorption capacity and will not be able to adsorb. In this case, please do not use this installation method.

Using External Microphone:
Insert the 3.5mm lavalier microphone into the transmitter’ s 3.5mm audio port and lock it tightly. Clip the transmitter onto the belt by back clip and clip the lavalier microphone on the other end onto the collar. When using the external microphone, the built-in microphone wilt be automatically turned off.

Movelink RX (Receiver)
- Screen Display
Icon 1: A channel transmitter’s battery level
Icon 2: B channel transmitter’s battery level
Icon 3: A/B channel’s soundbyte dynamic display Icon 4: Connection or disconnection of A/B channel Icon 5: Sound channel selection display
Icon 6: A/B channel’s volume adjustment display Icon 7: Sound volume adjustment interface
Icon 8: Pairing interface - Function Introduction
- Power Switch:
long press the power switch to power on or off. In the state of power-on, if there is USB Type-C inserted, long press the power switch to enter standby state and the charging animation will be displayed. In standby state, long press the power switch to power on. - Volume Adjustment:
- In dual sound setting mode, short press the sound +P button to increase or decrease the A/B transmitter’s sound volume simultaneously; long press the •sound +/-• button to increase or decrease the A/B transmitter’s sound volume gradually.
- Switch Channel: Short press the power switch button @ to separately adjust the volume of “A channel•, MB channel• and “A&B dual channel. The channel with blinking figures can be adjusted volumes and will be switched to dual channel adjustment if there are no operations after 3 seconds.
- In mono channel mode setting, short press or long press the “volume +• 0 to increase the channel’s volume gradually. If one of the transmitter’s volumes is up to maximum, the current volume slider can only be displayed instead of being controlled; short press or long press the “volume -” 0 to decrease the channel’s volume gradually. If one of the transmitter’s volumes is up to minimum, the current volume slider can only be displayed instead of being controlled.
- There are 16 levels of volume adjustment: -5dB-10db.
- Long press the pairing button to match the singles of transmitters. The left channel will automatically receive A transmitter’s singles while the right channel will receive B transmitter’s. Short press the pairing button to select mono channel and stereo channel.
- Charge the products through USB Type-C port directly. The charging animation will be displayed in charging.
- Power Switch:
- Installation Method
Install the receiver onto the camera’s hot shoe and fix it through the back clip. And connect the receiver with the camera by 3.5mm TRS-TRS audio connect cable. Then, insert the your earphone plug into the 3.5mm Audio Sync Monitoring Port to monitor.

Port and Indicator
- Ports:
Transmitter LINE IN: audio singles input
Receiver LINE Out: audio singles output
Receiver Audio Sync Monitoring Port: insert the earphone plug into monitoring port - Indicator:
Working indicator: the indicator will display green in normal working state.- Transmitter
In standby state, the indicator will be off.
In bootup state, the indicator will be orange in non-connection, be blue in connection.
During the pairing, the indicator will blink in red for two times circular1y. - Receiver
In standby state, the indicator will be off.
In bootup state, the indicator will be orange in non-connection, be blue in connection.
During the pairing, the indicator will blink in red for two times circular1y.
- Transmitter
What’s in the Box


| Name | Model | Included Items |
| MoveLink Transmitter | MovelinkTX | Movelink TX (Transmitter)x1 Wind Capx1 USB Type.(: Cablex1 Iron Sheetx1 |
| MoveLink Receiver | MovelinkRX | MovelinkRX (Receiver) 1 USB Type-C Cable x1 Iron Sheetx1 |
| MovelinkM1 | MoveLinkM1 | MoveLink TX (Transmitter)x1 MoveLlnk RX (Receiver)x1 Wind Capx1 1.2m Omnidirectional Lavali8′ Microphonex1 3.5mmTRS-TRS Audio Connect Gable (for camera)x1 3.5mmTRS-TRRS Audio Conned Cable (for phone) x1 USB Type-C Cablex2 Iron Sheet 2 |
| MovelinkM2 | MoveLinkM2 | MoveLink TX (Transmitter)x2 MoveLlnk RX (Receiver)x1 Wind Capx2 1.2m Omnidirectional Lavalier Microphonex2 3.5mmTRS-TRS Audio Connect Gable (for camera)x1 3.5mmTRS-TRRS Audio Connect Gable (for phone)x1 USB Type-C Cablex3 Movelink Charging Casex1 Wrist Strapx1 Iron Sheetx3 |
Note: Packing lists of all models also Include the Instruction manual (with warranty).
Optional Accessory
Movelink Charging Case ML-C3(Include USB Type-C Cable and a Wrist Strap) There are three charging bases in Movelink, which can charge three transmitters or receivers of Move Link system after being connected to power supply.
Movelink Charging Case Schematic Diagram of Charging:
The indicator will display yellow during the charging process and tum to green when being fully charged.

Movelink system has two charging ways:
A. being charged from USB Type-C cable;
B. being charged through Movelink Charging Case.
Technique Data
| Name | MoveLink RX (Receiver) | MoveLink TX (Transmitter) |
| Simulated Output | 3.5mmTRS | |
| Sensitivity | >— – —-< | -32dB+/-2dB |
| Max.SPL | >— – —-< | 120dB |
| Simulated Input | — | 3.5mmTRS Lavalier microphone input |
| Equivalent Input Noise Level | 21.BdB (A weighting) | |
| Frequency Range | 50Hz-20KHz | |
| Max. Output Electrical Level | +3dBu | |
| Single to Noise Ratio | 70dB or higher | |
| Fixing Method | Back clip (installed onto camera’ s hotshoe) | |
| Display | TFT Display | |
| Dynamic Range | 100dBA (microphone preamplifier) | |
| Working Range | 50m (in no shelter situation) | |
| Power Supply | Built-in lithium battery | |
| Working Time | Approx. 6H | |
| Battery Capacity | 300mAh | |
| Transmission Type | 2.4GHz Frequency hopping system | |
| 2.4G Wireless Frequency Range | 2404MHz-2476MHz | |
| Max.Transmitting Power of 2.4G wireless | 18dbm | |
| Sound Pick-up Mode | Omnidirectional | |
| vVorking Environment Temperature | -10-50″( | |
| Dimension | Length 50mm )< width 40mm )< thickness14mm | |
| Weight | 27g | |
| Name | Movelink Charging Case ML-C3 |
| Material | ABS Material |
| Suitable Models | Movelink TX, Movelink RX |
| Charging Input | USB Type-C |
| Dimension | Length 163mm )< Width 66mm )< Thickness 28mm |
| Weight | 129g |
Troubleshooting
- Unable to receive audio signal. Make sure batteries are installed correctly and Power Switch is turned on. Check if the transmitter and the receiver are set to the same channel, if the microphone or earphone is well connected, or if the devices are set to the correct mode.
- Check if the transmitter is set to mute mode or not.
- Signal disturbance or shooting interference. Change a different channel of the transmitter and receiver.
- Operation audio distance limited or signal missing. Check if batteries are exhausted. If so, replace them.
Maintenance
- Avoid sudden drops. The device may fail to work after strong shocks, impacts, or excess stress.
- Keep dry. The product isn’ t water-proof. Malfunction, rust, and corrosion may occur and go beyond repair if soaked in water or exposed to high humidity.
- Avoid sudden temperature changes. Condensation happens if sudden temperature changes such as the circumstance when taking the product out of a building with higher temperature to outside in winter. Please put the product in a handbag or plastic bag beforehand.
- Keep away from strong magnetic field. The strong static or magnetic field produced by devices such as radio transmitters leads to malfunction.
- Changes made to the specifications or designs may not be reflected in this manual.
FCC Caution
This device complies with part 15 of the FCC Rules. Operation is subject to the following two conditions:
- This device may not cause harmful interference, and
- this device must accept any interference received, including interference that may cause undesired operation.
Any Changes or modifications not expressly approved by the party responsible for compliance could void the user’s authority to operate the equipment.
Note: This equipment has been tested and found to comply with the limits for a Class B digital device, pursuant to part 15 of the FCC Rules. These limits are designed to provide reasonable protection against harmful interference in a residential installation. This equipment generates uses and can radiate radio frequency energy and, if not installed and used in accordance with the instructions, may cause harmful interference to radio communications. However, there is no guarantee that interference will not occur in a particular installation. If this equipment does cause harmful interference to radio or television reception, which can be determined by turning the equipment off and on, the user is encouraged to try to correct the interference by one or more of the following measures:
- Reorient or relocate the receiving antenna.
- Increase the separation between the equipment and receiver.
- Connect the equipment into an outlet on a circuit different from that to which the receiver is connected.
- Consult the dealer or an experienced radiofTV technician for help.
The device has been evaluated to meet general RF exposure requirement. The device can be used in portable exposure condition without restriction.
Warranty
Dear customers, as this warranty card is an important certificate to apply for our maintenance service, please fill in the following form in coordination with the seller and saf&-keep it. Thank you!
| Product Information | Model | Product Code Number |
| Customer Information | Name | Contact Number |
| Address | ||
| Seller Information | Name | |
| Contact Number | ||
| Address | ||
| Date of Sale | ||
| Note | ||
Note: Thls fom, shall be sealed by the seller.
Applicable Products
The document applies to the products listed on the Product Maintenance Information (see below for further information). Other products or accessories (e.g. promotional items,giveaways and additional accessories attached.etc.) are not included in this warranty scope.
Warranty Period
The warranty period of products and accessories isimplemented according to the relevant Product Maintenance Information. The warranty period is calculated from the day(purchase date) when the product is bought for the first time.and the purchase date is considered as the date registered onthe warranty card when buying the product.
How to Get the Maintenance Service
If maintenance service is needed, you can directly contact the product distributor or authorized service institutions. You can also contact the Godox after-sale service call and we will offer you service. When applying for maintenance service, you should provide valid warranty card. If you cannot provide valid warranty card, we may offer you maintenance service once confirmed that the product or accessory is involved in the maintenance scope, but that shall not be considered as our obligation.
Inapplicable Cases
The guarantee and service offered by this document are not applicable in the following cases: Q). The product or accessory has expired Its warranty period; ®· Breakage or damage caused by Inappropriate usage, maintenance or preservation, such as improper packing, Improper usage, Improper plugging In/out external equipment, falling off or squeezing by external force, contactIng or exposing to the Improper temperature, solvent, acid, base, flooding and damp environments, ate; @. Breakage or damage caused by non.authorized Institution or staff In the process of installation, maintenance, alternation, addition and detachment; @. The original Identifying Information of product or accessory Is modified, alternated, or removed; <ID. No valid warranty card; ®· Breakage or damage caused by using illegally authorized, nonstandard or non-public released software; ([). Breakage or damage caused by force majaure or accident; ®· Breakage or damage that could not be attributed to the product itself. Once met these situations above, you should seek solutions from the related responsible parties and Godox assumes no responsibility. The damage caused by parts, accessories and software that beyond the warranty period or scope is not included in our maintenance scope. The normal discoloration, abrasion and consumption are not the breakage within the maintenance scope.
Maintenance and Service Support Information
The warranty period and service types of products are implemented according to the following Product Maintenance Information:
| Product Type Name Maintenance Period(month) Maintenance Period(month) Type | Warranty Service Type | ||
| Parts | Product Main Body | 12 | Customer sends the product to designated site |
| Battery | Customer sends the product to designated site | ||
| Charger, Power Cable,Sync Cable, Electrical Parts etc. | 12 | Customer sends the product to designated site | |
| Battery Case, Windscreen Foam, Wind Cap, Locking Device, Lanyard, Tie, Velcro Tape, Clip, Bag, Package etc. | No | Without warranty | |




















