Ailofy B0C4L93GM7 Immersion TV Backlight
Immersion TV Backlight

Basic Operations
Switch Button: Device on/Off/Hold on to change colors
Function Button: Camera mode/Music mode/Pairing mode
Note:
★When first powered on, the device flashes blue. If not, press and hold the function button for 5 seconds until the camera flashes blue.
Status Indicator
Flashing blue & yellow
In pairing mode
Flashing blue
Connecting to the cloud or offline
Solid blue
Device on
Off
Device off
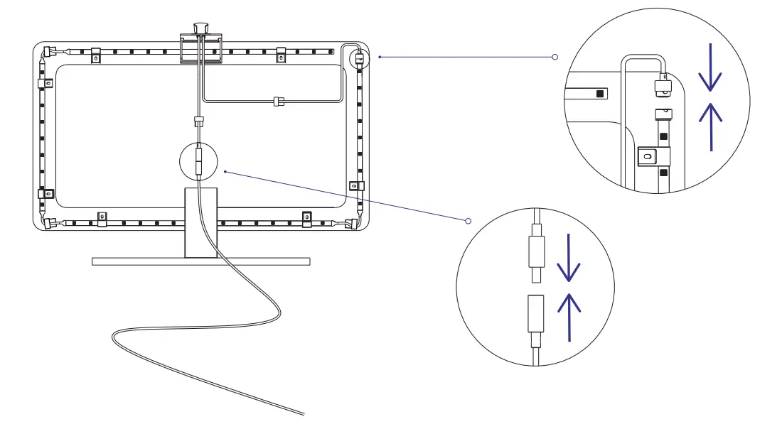
Installation
① Keep the installation surface clean and dry.
② Remove the adhesive backing on the strip light and stick it on the installation surface.

- When the strip light is slightly longer than the edges of the TV, you can bend and paste the light strip.

- When the strip light is the same length as the edges of the TV, you can use a wire clip to fix the connection line inside.

- When the strip light is slightly shorter than the edges of the TV, you can straighten the connection line to the corners and fix it with wire clips.

③ Install the adhesive clips buckle on the strip light and fix it


④ Remove the adhesive backing on the controller, position the controller to the top-center of the TV and support it with the bracket.



⑤ Connect the strip light to the controller, and connect the controller to the power adapter. Fix the wires with wire adhesive clips.
Cautions
- Do not leave this device on while it is coiled, as it might overheat.
- Avoid bending the strip where an LED is located as it might damage the strip light.
- Apply this device to the TV with a suitable size. Do not cut or stretch the strip light.
- Indoor use only.
- Do not use this device if the power is damaged.
Getting Started
① Download the Ailofy app and sign in or create an account.
![]() | ![]() |
② Follow the instructions in the Ailofy app to set up.

③ Open the Ailofy app and tap the + sign on the top right corner of the My Home tab. Tap Add Device and then select CAM TV backlight.
Note:
★Please make sure your smartphone turns on the Bluetooth.
★This device only supports the 2.4GHz and 802.11 b/g/n bands.
5GHz is not supported.
Calibration
① Enter the page for calibration, and select the camera installation position as per instructions.
Note:
★The phone must be connected to the same network as the device.
② Tap Done to complete the calibration.
Note:
★Select the correct position point, and the calibration lines do not overlap or cross.
★When you calibrate each position of a segment of the strip light, it flashes.
Connecting To Your Voice Assistant
Alexa
① Enter the Ailofy app, go to your Account settings, and tap Smart Integrations.
② Tap Alexa to bind your Ailofy account.
③ When binding successfully, you can control your Ailofy lights via alexa
Google Assistant
① Open the Googe Home app, and log in to your account.
② Tap Set up device.
③ Tap Works with google.
④ Search the Ailofy device list and log in with your Ailofy account.
⑤ Wait a few more seconds, and it is completed.
FCC Warning
Any changes or modifications not expressly approved by the party responsible for compliance could void the user’s authority to operate the equipment. This device complies with Part 15 of the FCC Rules.
Operation is subject to the following two conditions: (1) This device may not cause harmful interference, and (2) This device must accept any interference received, including interference that may cause undesired operation. This equipment has been tested and found to comply with the limits for a Class B digital device, pursuant to Part 15 of the FCC Rules. These limits are designed to provide reasonable protection against harmful interference in a residential installation. This equipment generates uses and can radiate radio frequency energy and, if not installed and used in accordance with the instructions, may cause harmful interference to radio communications. However, there is no guarantee that interference will not occur in a particular installation. If this equipment does cause harmful interference to radio or television reception, which can be determined by turning the equipment off and on, the user is encouraged to try to correct the interference by one of the following measures:
- Reorient or relocate the receiving antenna.
- Increase the separation between the equipment and receiver.
- Connect the equipment into an outlet on a circuit different from that to which receiver is connected.
- Consult the dealer or an experienced radio/TV technician for help.
Rf Radiation Exposure Statement
This equipment complies with FCC radiation exposure limits set forth for an uncontrolled environment. This equipment should be installed and operated with minimum distance of 20 cm between the radiator and your body.
Need Help
Service Email: [email protected]
Service URL: www.ailofy.com

























