BN Products BNR6500 Power Mixer User Manual
Thank you
Thank you for choosing our BNR6500 Electric Mixer
This manual covers the proper operation and maintenance.
Before operating, please read this manual carefully for important procedures and safety.
All technical data and drawings in this manual are consistent with the information on this product. As a result of revisions and other on going updates, the contents of this manual may be slightly different from the actual product. BN Products reserves the right to make changes at any time, without notice and without incurring any obligation, please understand.
The copyright of this instruction manual belongs to us. No reproduction is allowed without the written consent of BN Products-USA. All rights reserved.
This manual is a permanent part of this generator set and should accompany the generator set if it is resold.
PRODUCT DESCRIPTION
From low-viscosity paints to high-viscosity mortars these electric mixers will get your job done quicker, safer and easier than a conventional ½” drill motor. The ergonomically designed handles and the variable 2-speed motor with soft-start make the job quicker, safer and easier. The heavy duty gearbox and high-torque motor will outlast a standard ½” drill motor by 3-4 times.
The machines have been designed to mix liquid and powder building materials such as paint, mortar, adhesive, plaster, epoxy and similar substances.
The relevant mixing action depends on the consistency of the materials and the quantity that has to be mixed. This must be set up for the appropriate mixing paddles.
You must abide by certain safety precautions when using the equipment, in order to prevent injuries and damages from occurring. Therefore you must always read through this operating manual carefully.
PLEASE NOTE This manual must be kept in a safe place so that the information that it contains is always available. This operating manual must accompany the equipment if it is transferred to someone else.
We do not accept any liability for accidents or damage arising from ignoring this manual and the safety instructions.
SAFETY INSTRUCTIONS
Read through these operating instructions carefully before using these tools. Become familiar with the functions and method of operation. To ensure proper operation, always maintain the tools according to the instructions. The operating instructions and associated documents should always be kept close to the appliance.
When using power tools, you· must observe the following basic safety precautions in order to ensure protection from electric shocks, injury and fire.
Read and follow all the instructions before using these power tools. Follow the notes on safety.
PLEASE NOTE Always check to see if voltage corresponds with the manufacturer’s requirements
Our mixers are double-insulated in accordance with EN60745; therefore, an ground wire is not required.
USE PROPER EXTENSION CORD: Only use an approved extension cable that is suitable..for the machine’s power.
SWITCH OFF OR UNPLUG THE MACHINE IMMEDIATELY IN CASE OF:
- Malfunction in the plug or power cable.
- Broken switch.
- Smoke or smell of scorched insulation.
GENERAL SAFETY RULES
WARNING! Read all safety warnings and all Instructions. Failure to follow the warnings and instructions may result in electric shock, fire and/ or serious injury.
Save all warnings and instructions for future reference.
The term “power tool” in the warnings refers to your electric power tool or
battery-operated (cordless) power tool.
WORK AREA SAFETY
- Keep work area clean and well lit. Cluttered or dark areas invite accidents.
- Do not operate power tools in explosive atmospheres, such as in the presence of flammable liquids, gases or dust. Power tools create sparks which may ignite the dust or fumes.
- Keep children and bystanders away while operating a power tool. Distractions can cause you to lose control.
ELECTRIC SAFETY
- Power tool plugs must match the outlet: Never modify the plug in any way. Do not use any adapter plugs grounded power tools. Unmodified plugs and matching outlets will reduce risk of electric shock.
- Avoid body contact with grounded surfaces, such as pipes, radiators, ranges and refrigerators. There is an increased risk of electric shock if your body is grounded.
- Do not expose power tools to rain or wet conditions. Water entering a power tool will increase the risk of electric shock.
- Do not abuse the cord. Never use the cord for carrying, pulling or unplugging the power tool. Keep cord away from heat, oil, sharp edges or moving parts. Damaged or entangled cords increase the risk of electric shock.
- When operating a power tool outdoors, use an extension cord suitable for outdoor use. Use of a cord suitable for outdoor use reduces the risk of electric shock.
PERSONAL SAFETY
- Stay alert, watch what you are doing and use common sense when operating a power tool. Do not, use a power tool while you are tired or under the influence of drugs, alcohol or medication. A moment of inattention while operating power tools may result in serious personal injury.
- Use personal protective equipment. Always wear eye protection. Protective equipment such as dust mask, non-skid safety shoes, hard hat. and/or hearing protection used for appropriate conditions will reduce personal injuries. .
- Prevent unintentional starting. Make sure the switch is in the off position before connecting to power source.
- Carrying power tools with your finger on the switch or energizing power tools that have the switch on invites accidents.
- Remove any adjusting key or wrench before starting the power tool.
on. A wrench or a key left attached to a rotating part of the power tool may result in personal injury. - Do not overreach. Keep proper footing and balance at all times. This enables better control of the power tool in unexpected situations.
- Dress properly. Do not wear loose clothing or jewellery. Keep your hair, clothing and gloves away from moving parts. Loose clothes, jewellery or long hair can be caught in moving parts.
- If devices are provided for the connection of dust extraction and collection facilities, ensure these are connected and properly used. Use of dust collection can reduce dust-related hazards.
POWER TOOL USE AND CARE
- Use the correct power tool for your application. The correct power tool will do the job better and safer at the rate for which it was designed.
- Do not use the power tool if the switch does not turn it on and off properly. Any power tool that cannot be controlled with the switch is dangerous and must be repaired.
- Disconnect the plug from the power source and/or the battery pack before making any adjustments, changing accessories, or storing power tools. Such preventive safety measures reduce the risk of starting the power tool accidentally.
- Store idle power tools out of the reach of children and do not allow persons unfamiliar with the power tool or these instructions to operte the power tool. Power tools are dangerous in the hands of untrained users.
- Maintain power tools. Check for misalignment or binding of moving parts, breakage of parts and any other condition that may affect the power tool’s operation. If damaged, have the power tool repaired before use. Many accidents are caused by poorly maintained power tools.
- Use the power tool, accessories and tool bits etc. in accordance with these Instructions, taking into account the working conditions and the work to be performed. Use of the power tool for operations different from those intended could result in a hazardous situation.
SERVICE
Have your power tool serviced by a qualified repair person using only Identical replacement parts. This will ensure that the safety of the power tool is maintained.
PRECAUTION ON USING MIXERS
Attention! You must abide by the following basic safety measures to prevent electrical shocks, injuries and the danger of fire when using electric tools. Read and abide by these instructions before you start to use any tools.
These Instructions must be kept in a safe place.
- The equipment must never be used in areas where an explosive atmosphere exists.
- Never mix in solvents or substances containing solvent that have flash points below 21°C.
- Do not let the cable touch any parts of your body,
- Only use the extension cord approved for use in the working area.
- The unit must only be started and stopped when it is inside a mixing vessel. Ensure that the mixing vessel is placed on a solid, secure base,
- Never reach into the mixing vessel with your hands or any other object during the mixing process.
- We recommend that you always wear industrial safety gloves and safety goggles when working with the mixer.
- Wearing close-fitting clothes is mandatory.
- Always allow for reaction torque
- Always wear a dust mask
BEFORE INITIAL OPERATION
Check to see that the rated voltage on the tool nameplate corresponds to the tool requirement. Before using the tool, read the instruction book carefully
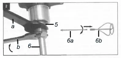
Mixer Assembly:
First screw mixer shaft (6a) together with mixer paddle (6b). Screw the mixer paddle (6) into the mixer (5). Use the two wrenches to tighten. Use one of the wrenches (a) to hold the mixer (5) in place and then use the second wrench (b) to tighten up the mixer (6). Proceed in the reverse sequence to undo the paddle from the mixer.
STARTING THE MIXER
Ensure that the data listed on the nameplate matches the voltage before connecting the unit up to power.

- Switching on: Press the switch
- Continuous running: Press the locking knob on the switch to lock it in place.
- Switching off: Press the switch briefly
- Speed control: Use the speed control to select the speed.
- Switching between 1st· 2nd gear
The switch position enables you to work at high or low speeds. The gear switch position should only be changed when the unit is stopped in order to prevent the gearing from being damaged.
1st gear – Upper position
2nd gear- Lower position
CARE AND MAINTENANCE
- Remove the plug from the socket before making any adjustment, servicing or maintenance.
- Your power tool requires no additional lubrication or maintenance. Always store your power tool in a dryplace.
- If the electric cord is damaged, it must be replaced by the manufacturer, service agent or similarly qualified persons in order to avoid a hazard.
CLEANING
- Keep the safety devices, ventilation slots and motor housing as free of dirt and dust as possible.
- Clean the unit by rubbing it with a clean cloth or blow it clean using low-pressure compressed air.
- We recommend that you always clean the unit immediately after using it.
- Clean the unit regularly by rubbing it with a damp cloth and a little soft soap. Do not use cleaners or solvents –these will attack the plastic parts in the unit. You must also ensure that water cannot get into the inside of the unit.
CARBON BRUSHES
If excessive sparking occurs you must have the carbon brushes checked by a qualified electrician.
Attention! Changing the brushes should be done by a qualified electrician.
MAINTENANCE
Other than Carbon Brushes, there are no parts fitted inside the unit that require maintenance.
CORRECTIVE ACTION IN CASE OF FAILURE
The operating switch is switched on, but the motor is not working.
- Wires in the electric plug or in the socket are loose. Have socket and plug checked or repaired or replaced.
- The switch is faulty. Have the switch replaced.
The operating switch is switched on, but unusual noises can be heard, the motor is not working or only very slowly.
- Switch contact has failed. Have the switch replaced.
- Component jammed. Have the electric tool checked or repaired.
- Too much thrust, as a result the motor is dragging. Use less thrust during the task.
Motor gets hot.
- Foreign substances have got inside the motor. Have the foreign substances removed.
- Lack of or contaminated lubrication grease. Have lubricating grease applied or replaced.
- Pressure too high. Use less thrust during the task
Frequent or strong sparks on the commutator.
- Short circuit on the armature. Have the armature replaced.
- Carbon brushes worn out or jammed. Have the carbon brushes checked.
- Rough running of the commutator. Have the surface of the commutator cleaned or ground.
For your own safety, never remove parts or accessories of the electric tool during operation, In case of fault or damage have the electric tool repaired only by a specialist workshop or by the manufacturer.
The BNR6500 Hand Held Power Mixer

- Variable speed adjustment with a lock-on feature.
- Two-speed gear box.
- Powerful high torque motor.
- Soft-start and constant speed control.
- Ergonomically designed handle with soft grip design.
- Double insulated.
- 12’ power cord.
- Standard M14 paddle connection.
- BNRA0315 1/2” Chuck
- Includes general purpose mixing paddle (2’x 6-1/2”).
3450 Sabin Brown Road • Wickenburg, AZ 85390
(800) 992-3833 • [email protected]

















