netvue Birdfy Smart AI Bird Feeder Camera

What’s In The Box


Camera Structure


Insert Micro SD Card
Birthday Cam comes with a built-in card slot that supports up to 128GB Micro SD card. Step 1: Open the top silicone plug. Step 2: Insert the Micro SD card. Make sure to plug it in the right direction. Step 3: Finally, close the silicone plug.
Battery Charging
The batteries inside the camera are not fully charged according to the transportation safety regulations. Please fully charge the camera before using it. Please charge the batteries with provided Type C Port Cable (DC5V / 1.5A adapter not included). The status light will be in solid yellow when charging and will turn to solid green when it is fully charged. It takes about 14 hours to fully charge your camera.
How To Turn On & Off The Camera
To turn on the camera: Long press the power button for 3s to turn on the camera. Then the Status Light in the front of the camera will be solid blue. Double click the power button to enter WiFi mode after the prompt tone.

| LED Indicator | Description |
| Solid Blue | Working |
| None | Sleep/Power Off |
| Solid Yellow | Charging |
| Solid Green | Charging Finished |
To turn off the camera: Long press the power button for 3s to turn off the camera. Then the Status The light in the front of the camera will be off.
Install The Antenna

Attach the provided antenna clockwise to the Birdfy camera.
Read Before Installation
- Keep Birdfy Feeder and all accessories out of reach of children and pets.
- Make sure the camera has been fully charged (DC5V / 1.5A).
- Working temperature: -10°C to 50°C (14°F to 122°F) Working relative humidity: 0-95%
- Please do not expose the camera lens to direct sunlight.
- The camera has an IP65 waterproof rating, which supports working properly under rain or snow. But it can not be soaked in water.
Note:
- Birdy Feeder Cam only works with 2.4GHz Wi-Fi.
- Strong lights may interfere with the device’s ability to scan QR codes.
- Avoid placing the device behind furniture or near microwave products. Try to keep it within range of your Wi-Fi signal.
Set Up With Netvue App
Download Netvue App from App Store or Google Play. Follow the in-app instruction to complete the entire setup process.
Installation
Check the following things before you drill holes on your wall: Birdfy Cam has been successfully added to your Netvue App and is able to stream video.
Step 1: Find a good installation spot Please install the camera in a position where its view is not blocked and ensure that it is within the coverage of the Wi-Fi network. We recommend installing it at a height of 2.2-3.5 meters in an open area to make it easier for birds to find it. 
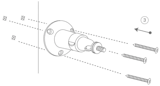
Step 2:
- Use the provided drilling template to mark the position of holes on your wall. Use a drill bit (15/64″, 6mm) to drill three holes.
- Install anchors to fix the screws.
- Install the Threaded Bracket on your wall with the screws provided.
Step 3: Align the screw hole on the back of the camera with the bracket screw, and then turn it clockwise to tighten it.
Step 4: Rotate the handle nut on the bracket counterclockwise to loosen and adjust the camera angle to cover the surveillance area. Finally, tighten the handle nut clockwise.
Bird Detection
Protect Plan provides optional advanced features for those with higher security needs, and each plan supports multiple devices. Bird Detection has undergone massive machine learning and uses AI intelligent recognition algorithms to inform you in real-time “what species of bird is coming”, automatically save the bird images/videos data for you, and also provide bird knowledge learning and so on.
FCC STATEMENT
This equipment has been tested and found to comply with the limits for a Class B digital device, pursuant to Part 15 of the FCC Rules. These limits are designed to provide reasonable protection against harmful interference when the equipment is operated in a commercial environment. This equipment generates uses and can radiate radio frequency energy and, if not installed and used in accordance with the instructions, may cause harmful interference to radio communications. The antennas used for this transmitter must be installed to provide a separation distance of at least 20 cm from all persons and must not be co-located for operating in conjunction with any other antenna or transmitter. FCC (USA) 15.9 prohibition against eavesdropping except for the operations of law enforcement officers conducted under lawful authority, no person shall use, either directly or indirectly, a device operated pursuant to the provision of this part for the purpose of overhearing or recording the private conversations of other unless such use is authorized by all of the parties engaging in the conversation. FCC ID 2AO8RNI-8201 CE RED This product can be used across EU member states.
CE RED Das Produkt kann in allen EU-Mitgliedstaaten verwendet werden.
https://my.netvue.com/?utm_source=product_manual
Continuous Video Recording Event Video Recording Human Detection Learn more on my.netvue.com
Feel free to contact us for additional help:
https://my.netvue.com/?utm_source=product_manual
[email protected]
Netvue Forum
netvue.com/community
netvue.com
240 W Whitter Blvd Ste A, La Habra, CA 90631 © Netvue Inc.
FAQS
Yes, you even do that before you set it up outside. The camera can be used anywhere if you take it out of the feeder.
You probably would just have to wipe the Camera Lens a couple times a year.
The camera may need to be wiped, but the roof gives the camera more protection and the camera is set back in the plastic food holder
Birdfy Lite does not include bird identifying function, but you can subscribe it monthly on the app. Birdfy AI can permanently identifying the birds.
Black sunflower seeds.
Many birds lie sunflower hearts or black oil sunflower seeds. Some like peanuts (unsalted).
Probably not if it’s jumping on & off it regularly.
the netvue app
no, it is not required to work. Only to save your videos.
Only if you have a hummingbird feeder in view of the camera. As far as I know, hummingbirds do not really eat seeds and the like.
The subscription is for the app to help name the types of birds. Yes you should be able to put the app on a tablet or computer.
This camera has a night vision function and thus you can see the birds clearly at night. But generally, birds don’t eat at night, instead, you can see them resting.
Not sure of this, would need to read the owner’s manual or maybe ask her.
Yes you can in your settings.
Yes. We use it with an Android Samsung tablet.
netvue Birdfy Smart AI Bird Feeder Camera

















