
NI-8201 Birdfy Camera
User Guide 
Warning
NOTE: This equipment has been tested and found to comply with the limits for a Class B digital device, pursuant to part 15 of the FCC Rules. These limits are designed to protect reasonably against harmful interference in a residential installation. This equipment generates uses and can radiate radio frequency energy and, if not installed and used in accordance with the instructions, may cause harmful interference to radio communications. However, there is no guarantee that interference will not occur in a particular installation. If this equipment does cause harmful interference to radio or television reception, which can be determined by turning the equipment off and on, the user is encouraged to try to correct the interference by one or more of the following measures:
– Reorient or relocate the receiving antenna.
– Increase the separation between the equipment and receiver.
-Connect the equipment into an outlet on a circuit different from that to which the receiver is connected.
-Consult the dealer or an experienced radio/TV technician for help.
The antennas used for this transmitter must be installed to provide a separation distance of at least 20 cm from all persons and must not be co-located for operating in conjunction with any other antenna or transmitter.
FCC (USA) 15.9 prohibition against eavesdropping except for the operations of law enforcement officers conducted under lawful authority, no person shall use, either directly or indirectly, a device operated pursuant to the provision of this part for the purpose of overhearing or recording the private conversations of other unless such use is authorized by all of the parties engaging in the conversation. Changes or modifications not expressly approved by the party responsible for compliance could void the user’s authority to operate the equipment.
FCC ID: 2AO8RNI-8201
CE RED
This product can be used across EU member states.
What’s In The Box


Camera Structure 

Insert Micro SD Card
Birthday Cam comes with a built-in card slot that supports up to 128GB Micro SD card.
Step 1: Open the top silicone plug.
Step 2: Insert the Micro SD card. Make sure to plug it in the right direction.
Step 3: Finally, close the silicone plug.
Battery Charging
The batteries inside the camera are not fully charged according to the transportation safety regulations. Please fully charge the camera before using it. Please charge the batteries with provided Type C Port Cable (DC5V / 1.5A adapter not included).
The status light will be in solid yellow when charging and will turn to solid green when it is fully charged. It takes about 14 hours to fully charge your camera.
How To Turn On & Off The Camera
To turn on the camera:
Long press the power button for 3s to turn on the camera. Then the Status Light in the front of the camera will be solid blue. Double click the power button to enter WiFi mode after the prompt tone.
| LED Indicator | Description |
| Solid Blue | Working |
| None | Sleep/Power Off |
| Solid Yellow | Charging |
| Solid Green | Charging Finished |
To turn off the camera:
Long press the power button for 3s to turn off the camera. Then the Status
The light in the front of the camera will be off.
Install The Antenna 
Attach the provided antenna clockwise to the Birdfy Cam.
Read Before Installation
- Keep Birdfy Cam and all accessories out of reach of children and pets.
- Make sure the camera has been fully charged (DC5V / 1.5A).
- Working temperature: -10°C to 50°C (14°F to 122°F)
Working relative humidity: 0-95% - Please do not expose the camera lens to direct sunlight.
- The camera has an IP65 waterproof rating, which supports working properly under rain or snows. But it can not be soaked in water.
Note:
- Birthday Cam only works with 2.4GHz Wi-Fi.
- Strong lights may interfere with the device’s ability to scan QR codes.
- Avoid placing the device behind furniture or near microwave products. Try to keep it within range of your Wi-Fi signal.
Set Up With Netvue App

https://download.netvue.com/
Download Netvue App from App Store or Google Play. Follow the in-app instruction to complete the entire setup process.
Installation
Check the following things before you drill holes on your wall: Birdfy Cam has been successfully added to your Netvue App and is able to stream video.
Step 1: Find a good installation spot
Please install the camera in a position where its view is not blocked and ensure that it is within the coverage of the Wi-Fi network.
We recommend installing it at a height of 2.2-3.5 meters in an open area to make it easier for birds to find it.

Step 2:
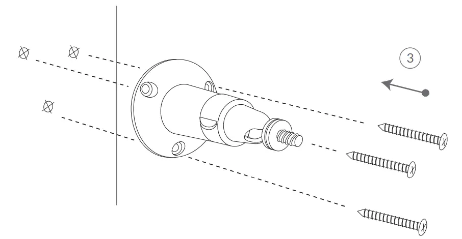
- Use the provided drilling template to mark the position of holes on your wall. Use a drill bit (15/64″, 6mm) to drill three holes.
- Install anchors to fix the screws.
- Install the Threaded Bracket on your wall with the screws provided.

Step 3:
Align the screw hole on the back of the camera with the bracket screw, and then turn it clockwise to tighten it.
Step 4:
Rotate the handle nut on the bracket counterclockwise to loosen and adjust the camera angle to cover the surveillance area. Finally, tighten the handle nut clockwise.
AI Bird Recognition
(This service is free for life.)
AI Bird Recognition has undergone massive machine learning and uses AI intelligent recognition algorithms to inform you in real-time “what species of bird is coming”, automatically save the bird images/videos data for you, and also provide bird knowledge learning and so on.
https://my.netvue.com/?utm_source=product_manual
Feel free to contact us for additional help:
https://my.netvue.com/?utm_source=product_manual
Netvue Web Client
Netvue Forum
[email protected]
netvue.com/community
in-App Chat
@NetvueTech
1(866)749-0567
netvue.com
240 W Whitter Blvd Ste A, La Habra, CA 90631
© Netvue Inc.






















