

USER MANUAL
ELECTRIC FIREPLACE INSERT![]()
MODEL NO: INF28-3D
INF28-3D Electric Fireplace Insert
IMPORTANT
READ ALL INSTRUCTIONS BEFORE USING YOUR ELECTRIC FIREPLACE. FAILURE TO FOLLOW INSTRUCTIONS MAY LEAD TO DAMAGE TO THE MACHINE OR PERSONAL INJURY.
KEEP THIS USER MANUAL FOR FUTURE REFERENCE.
Warranty Registration
Thank you for purchasing a TURBRO Electric Fireplace!
We’re extremely happy that you have decided to join us.
To thank you we’re giving you a warranty extension. All you need to do is register your new product at https://www.turbro.com/pages/warranty-registration. Once it’s registered, you’ll get a 1-year extension on the 1-year manufacturer warranty for a total of 2 years. It’s that easy!
Tip for First-Time Use
When using this fireplace for the first time, or after a long period of storage, let the fireplace run for at least 15 minutes with the thermostat set at the maximum heat level to remove the “new product” smell. This smell is because the fireplace absorbs moisture, creating an odor similar to that of old leather. It will go away after a few minutes of use.
Safety Instructions
Please read the following instructions before attempting to assemble, operate, or install this product.
- Do not use this product with missing, damaged, or broken legs.
- Do not use this product outdoors. This product is for indoor use only.
- This product is not intended for use in bathrooms, laundry areas, and similar indoor locations. Do not place this product where it may fall into a bathtub or other water container.
- This product is hot when in use. Keep combustible materials such as furniture, pillows, bedding, papers, clothes, and curtains at least 3ft from the hot air outlet.
- Do not use this product in an elevated location, such as on a shelf, raised platform, countertop, etc.
- Do not run the power cord of this product under carpeting, throw rugs, runners, or similar items. Arrange the cord away from high-traffic areas so that it will not be tripped over.
- Extreme caution is required when the product is used near children or invalids and whenever the product is left operating unattended.
- Do not operate this product with a damaged power cord or plug, after the appliance malfunctions, or the product is damaged. Any repairs to this appliance should be carried out by a qualified service person.
- Under no circumstances should this product be modified. Parts removed for service must be replaced prior to using this product.
- Connect to properly grounded power outlets only.
- Always plug the fireplace directly into a wall outlet. An extension cord, outlet, or power strip should never be used with this product.
- This product, when installed, must be electrically grounded in accordance with local electrical codes. For the USA: National Electric Code, ANSI/NFPA No. 70. For Canada: CSA C22.1 Canadian Electrical codes.
- To disconnect this product, turn the product off from the control panel, then remove the power plug from the outlet.
- Always unplug this product if you do not plan to use it for a long period of time.
- Do not insert or allow foreign objects to enter any ventilation or exhaust openings as this may cause an electric shock, fire, or damage to the appliance.
- To prevent possible fires, do not block air intakes or exhausts in any manner. Do not use on soft surfaces, like a bed, where the opening may be blocked.
- The fireplace has hot, sparking, and arcing parts inside. Do not use it in areas where gasoline, paint, or flammable liquids are used or stored. This appliance should not be used as a drying rack for clothing.
- Use this appliance only as described in this manual. Any other use not recommended by the manufacturer may cause fire, electric shock, or personal injury.
CAUTION
- This product can expose you to toxic chemicals including Di (2-ethylhexyl) phthalate (DEHP), which may cause cancer or harm developmental growth.
- Wash hands after installation.
For more information go to www.p65Warnings.ca.gov
Electrical Safety
- A 15-amp, 120-volt, 60 Hz circuit with a properly grounded outlet is required. Preferably, the item will be on a dedicated circuit. Having other appliances on the same circuit may cause the circuit breaker to trip or the fuse to blow while the product is in operation. The product comes with a 6 ft (1.8m) long power cord with a 3-prong plug, which is located on the right side of the appliance.
- Electrical outlet wiring must comply with local building codes and other applicable regulations to reduce the risk of fire, electrical shock, and personal injury.
- Do not use this item if any part of it has been submerged in water. Immediately call a qualified service technician to inspect the item and replace any part of the electrical system which has been underwater.
- This product is equipped with a polarized plug where one prong is wider than the other. For your safety, please insert the plug correctly.
If you are unable to insert the plug into the electrical outlet try reversing the plug. If the plug still does not fit, contact a qualified electrician. - Always plug the unit into a wall outlet. An extension cord, power strip, outlet extender, or any similar products should never be used with this product as it may increase the risk of fire.
US 3-Pin Polarized Plug


- This product must be grounded. If the heater should malfunction or breakdown, grounding provides a path of least resistance for electric current to reduce the risk of electric shock. This product is equipped with a cord having an equipment-grounding conductor and a grounding plug. The plug must be plugged into an appropriate outlet that is properly installed and grounded in accordance with all local codes and ordinances.
- This heater is for use on 120-volt circuits only and has a grounded plug. An adapter is available for connecting the three-blade grounding-type plug to a two-slot wall outlet. The green grounding lug extending from the adapter must be connected to a permanent ground such as a properly grounded outlet box. The adapter should not be used if a three-slot grounded receptacle is available.
You may run the power cord out of the framed wall opening to an existing outlet or install an outlet on a nearby wall stud within the wall.
In order to use the power safely, please make sure:
- NEVER use the relocatable power tap/outlet/power strip.
- NEVER exceed the maximum amperage for the circuit (Should be 120V 15amp). NEVER plug other appliances into the same circuit.
- SHOULD make sure the plug is in good condition and not loose.

The length of the power cord is 6ft. A grounded extension cord can be used, if the cord is not long enough to reach the outlet. When using the extension cord, please kindly NOTE:
- The cord is no longer than 7.87ft.
- The minimum of the wiring is AWG No. 14.
- The minimum rated power is 1900W.

Overheating Protection
- This heater has an overheating protection cutoff that switches the appliance off automatically if it overheats.
- Obstruction of the rear air intakes or front grill may result in overheating. If this occurs, please disconnect the heater from the power socket and allow it to cool for 10-15 minutes before powering it on again.
- Should problems persist, please contact TURBRO customer service team via [email protected].
TECHNICAL SPECIFICATIONS
| Power Supply | 110-120V/60Hz |
| Rated Current | 13.6 A |
| Rated Power | 1500W / 2120 BTU |
| Adjustable Thermostat | 70°F – 95°F |
| Heating Area | 400 – 4000sq.ft |
| Heating Element | 100% Infrared Quartz Tube |
| Noise Level (dBA) | ≤42dBA |
| Timer | 30 min. – 8 hrs |
| Lighting Effect | LED |
| Remote Control | Yes |
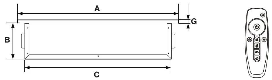
Dimensions


| Part | A | B | C | D | E | F | G |
| mm | 710 | 160 | 635 | 745 | 605 | 590 | 20 |
| inch | 27.95 | 6.3 | 25 | 29.33 | 23.82 | 23.33 | 0.79 |
Parts List

| Part | Description | Quantity |
| A | Fireplace Insert | 1 pcs |
| B & C | Metal Trim Base | 1 set |
| D | Remote Control | 1 pcs |
| E | Phillips-Head Screw | 9 pcs |
CAUTION:
This insert has front panel made of GLASS!
ALWAYS use extreme caution when handling glass. Failure to do so could result in personal injury or property damage.
Installation
INSTALLATION WARNINGS
- The fireplace is heavy and should be assembled near its desired location.
- It is recommended that two people move the fully-assembled fireplace to prevent injury.
- Keep combustible materials such as furniture, bedding, papers, clothes, and curtains at least 3 ft away from the fireplace.
- Make sure that the unit is installed so that the power cord is not compressed against or caught on the fireplace and that it has an unobstructed path to a grounded power outlet.
BEFORE ASSEMBLY
Open the unit and check carefully for visible damage. If you have any problems with installation, operation, missing parts, or other damage, please contact the TURBRO customer service team. Do not dispose of packaging until you are satisfied with your fireplace.
Contact the TURBRO customer service team before returning the unit.
INSTALLATION LOCATION
The fireplace should be located in an area that is not in direct sunlight, not susceptible to moisture, and away from any uninsulated exterior walls.
TOOLS REQUIRED
Phillips-head screwdriver (not included)
Tip: Use a 6-8 inch screwdriver to attach the legs. A long screwdriver will help you quickly finish assembly.
ASSEMBLY INSTRUCTIONS


- The trims (B & C) are packaged with the fireplace. Before installation, remove the trims from the back of the fireplace.
- Attaching the metal trims pieces (Optional: Attach this metal base when you need to increase the height). Fasten the trim (C) to the trim (B) with 4 screws. Align and attach the assembled metal base (B & C) to the bottom of the fireplace insert (A) with 5 screws.
- Recessing into a wall
Prepare the opening and outlet. Place the unit into the framed opening gently and no fixing brackets are needed.Opening Size Ranges Width
(min)Width
(suggest)Height (min) Height
(suggest)Depth
(min)Depth
(suggest)mm 720 745 610 620 175 185 inch 28.35 29.33 24.02 24.41 6.89 7.28 
- Inserting into a cabinet or wood mantel
Make sure the depth is enough for placement: at least 9 inches.
Make sure to spare enough on the top of the fireplace for dissipating the heat: at least 8 inches.
Control Panel

| POWER FLAME FLAME SPEED | HEATER TIMER |
A.
POWER BUTTON
- Touch this button to power on the fireplace. Then you will hear a ‘beep’ sound. In the default setting, the flame is amber with the highest brightness.
- Touch the power button to turn off the fireplace. You will hear the ‘beep’ sound twice. This machine remembers all the settings (except the timer setting) and recovers those settings when you power on the fireplace next time (Only if you never pull the plug).
- If the plug is unplugged or a power outage occurs, all the settings will be back to the original default setting when turning on next time.
B.
FLAME CONTROL
- Touch the flame control button to switch the flame color among 5 settings.
Display A V M P H OFF Flame Colors Amber Violet Blue Polar Breathing Off NOTE: When the digital screen displays ‘H’, the flame is turned off and only the firewood lights on. When the digital screen displays ‘OFF’, both the flame and firewood are turned off.
C.
FLAME SPEED
- Touch the flame speed button to switch the speed of the dancing flame among 5 settings (S1 to S5). The default speed setting of the flame is S3.
D.
HEATER / THERMOSTAT CONTROL
- Touch the heater button to switch the temperature setting. See the table for detailed temperature settings instruction. The default temperature setting is 95°F / 35°C.
- Press and hold the heater button for 5 seconds to switch between
Fahrenheit (°F) and Celsius (°C) display.
NOTE: To protect the machine and extend the span of life of the machine, the built-in blower will continue to operate for 60 seconds to cool off after the heater function turned off.
E.
Timer
- Press the timer button to choose your desired operation time.
- When it completes the desired setting, the timer will turn off with a long ‘beep’ sound.
| Fahrenheit Temperature | Celsius Temperature |
| 95°F | 35°C |
| 94°F | 34°C |
| 93°F | 33°C |
| … | … |
| 71°F | 22°C |
| 70°F | 21°C |
| OFF | OFF |
| Timer Interval | Display |
| 30 Minutes | 0.5 H |
| 1 Hour | 1 H |
| 2 Hours | 2 H |
| 3 Hours | 3 H |
| 5 Hours | 5 H |
| 8 Hours | 8 H |
| OFF | OFF |
Remote Control
The remote control can be used up to 13 feet (4 meters) away from the heater, so long as there are no obstructions between the remote control and the heater.
The remote can control all the settings as the control panel does. But the following function only can be active by the remote.
FLAME BRIGHTNESS
The flame brightness only can be adjusted by using the remote. There are five flame brightness settings from F1 to F5. The default flame brightness is F5 (the highest brightness).

| POWER FLAME FLAME SPEED HEATER | TIMER FLAME BRIGHTNESS UP FLAME BRIGHTNESS DOWN CHILD LOCK |
REMOTE CONTROL BATTERIES
Press and slide the battery cover on the rear of the remote and remove the cover. Insert two new AAA 1.5V batteries into the battery compartment. Ensure that the polarity is correct. Batteries are not included in the package due to safety during transportation.
Note: Do not mix old and new batteries together in the remote. Do not mix alkaline, standard (carbon-zinc), or rechargeable (NiCad, NiMh, etc.) batteries together
FCC/IC Information
Warning: Changes or modifications to this unit not expressly approved by the party responsible for compliance coul void user’s authority to operate the equipment.
NOTE: This equipment has been tested and found to comply with the limits for Class B digital device. pursuant to part 15 of the FCC
Rules. These limits are designed to provide reasonable protection against harmful interference in a residential installation.
This equipment generates, uses, and can radiate radio frequency energy and, if not installed and used in accordance with the instructions, may cause harmful interference to radio communications.
However, there is no guarantee that interference will not occur in a particular installation. If this equipment does cause harmful interference to radio or television reception, which can be determined by turning the equipment off and on, the user is encouraged to try to correct the interference by one or more of the following measures:
- Reorient or relocate the receiving antenna.
- Increase the separation between the equipment and the receiver.
- Connect the equipment into an outlet on a circuit different from that to which the receiver is connected.
- Consult the dealer or an experienced radio/TV technician for help.
This device complies with Part 15 of the FCC Rules. Operation is subject to the following two conditions:
- This device may not cause harmful interference, and
- This device must accept any inference received, including interference that may cause undesired operation.
Modifications not approved by the party responsible for compliance could void user’s authority to operate the equipment.
This Class B digital apparatus complies with Canadian ICES-003.
Cleaning & Maintenance
- Always turn the fireplace OFF and unplug the power cord from the outlet before cleaning.
- Use a vacuum or duster to remove dust and dirt from the fireplace and vent areas.
- Clean with a soft, damp cloth and buff with a dry cloth to maintain the luster of this product.
- Never use abrasive cleaners, liquid sprays, or any cleaner that could scratch the surface of the appliance.
Troubleshooting
Customer Support: [email protected]
| Problem | Possible Cause(s) | Corrective Action |
| The fireplace doesn’t operate | • The fireplace is not plugged in. | • Make sure the fireplace is plugged into a standard 120V outlet. |
| • A circuit breaker is tripped or a fuse is blown. | • Check additional appliances on the circuit. Ideally, the fireplace should be on a dedicated 15-amp circuit. | |
| • The vents are dirty or clogged. | • Unplug the unit. Clear the vent area of dust and debris. Wait ten minutes, plug the unit in again, and turn on the fireplace. | |
| • The ON/OFF switch is defective. • There is loose wiring. • The fireplace switch is defective. • The fireplace assembly is defective. | • Contact customer service. | |
| Power light is ON but the flame effect is not visible | • The fireplace is not operating correctly. | • Contact customer service. |
| Excessive noise when the fireplace is operating | • The fan is defective. | • Contact customer service. |
| • The fireplace assembly is defective. |
Warranty Information
TURBRO provides a 1-year limited warranty for TURBRO Heater, from the date of purchase, subject to the following conditions and limitations outlined below.
WHAT IS COVERED?
- This warranty is limited to the repair or replacement of part(s) proved to be defective in material or workmanship, after said defect is confirmed by the manufacturer’s inspection.
- The manufacturer may, at its discretion, fully discharge all obligations with respect to this warranty by refunding the wholesale price of the defective part(s).
WHAT IS NOT COVERED?
- Damage caused by the owner when attempting to fix or alter the product themselves.
- Damage caused by misuse, abuse, neglect, alterations, or unauthorized repair.
- Natural depreciation.
- Any alteration misuse of the product will nullify this warranty.
- This warranty is non-transferrable, which is effective for the original buyer from the authorized seller only.
HOW TO REQUEST WARRANTY SERVICES?
- To obtain the benefit of this warranty, please leave a message online (www.turbro.com/contact ), or send an email to support@ turbro.com.
WHAT WILL TURBRO DO?
- Repair the item.
- Replace the item if not repairable.
- Refund the item under certain circumstances.

© Katmai Technology Limited
[email protected]
www.turbro.com
![]()























