TURBRO INF36-W Electric Fireplace

Warranty Registration
Thank you for purchasing a TURBRO Electric Fireplace!
We’re extremely happy that you have decided to join us
To thank you we re giving you a warranty extension. All you need to do is register your new product at https://www.turbro.compageswarranty-registration. Once fs registered. you’ll get a 1-year extension on the 1-year manufacturer warranty for a total of 2 years. If’s that easy!
Tip for First-Time Use
when using this fire place tor the First time, or after a long period of storage, let the fireplace run tor at least 15 minutes with the thermostat set at the maximum heat level to remove the new product smell. This smell is because the fireplace absorbs moisture, creating an Ddor similar to that of old leather, It wll go away after a few minutes of use.
Safety Instructions
Please read the following instructions before atempting to assemble, operate, or install this product.
- Do not use this product with missing, damaged, or broken legs.
- Do not use this product outdoors, This product is for indoor use only.
- This product is not intended for use in bathrooms, laundry areas, and similar indoor locations, Do not place this product where it may fall into a bathtub or other water container.
- This product is hot when in use, Keep combustible materials such as furniture, pillows, bedding, papers, clothes, and curtains at least St from the hot air outiet.
- Do not use this product in an elevated location, such as on a sheif, raised platform, countertop, etc
- Do not run the power cord of this product under carpeting, throw rugs, runners, or similar items, Arrange the cord away from high-traffic areas so that it will not be tripped over.
- Extreme caution is required when the product is used near children or invalids and whenever the product is left operating unattended.
- Do not operate this product with a damaged power cord or plug, after the appliance main functions, or the product is damaged, Any repairs to this appliance should be carried out by a qualified service person,
- Under no circumstances should this product be modified. Parts removed tor service must be replaced prior to using this product.
- Connect to properly grounded power outlets ony
- Always plug the fireplace directly into a wall outlet, An extension cord, outlet, or power strip should never be used with this product,
- This product, when installed, must be electrically grounded in accordance with local electrical codes. For the USA: National Electric Code, ANSUNFPA N0. 70. For Canada: CSA C221 Canadian Electrical codes.
- To disconnect this product, tum the product off from the control panel, then remove the power plug from the outlet,
- Always unplug this product if you do not plan to use it for a long period of time.
- Do not insert or allow foreign objects to enter any ventilation or exhaust openings as this may cause an electric shock, fire, or damage to the appliance.
- To prevent possible fires, do not block air intakes or exhausts in any manner. Do not use on soft surfaces, like a bed, where the opening may be blocked.
- The fireplace has hot, sparking, and arcing parts inside. Do not use it in areas where gasoline, paint, or flammable liquids are used or stored. This appliance should not be used as a drying rack for clothing.
- Use this appliance only as described in this manual. Any other use not recommended by the manufacturer may cause fire, electric shock, or personal injury.
CAUTION
- This product can expose you to toxic chemicals including Di (2-ethylhexyl) phthalate (DEHP), which may cause cancer or harm developmental growth.
- Wash hands after installation.
For more information go to www.p65Warnings.ca.gov
Electrical Safety
- A 15-amp, 120-volt, 60 Hz circuit with a properly grounded outlet is required. Preferably, the item will be on a dedicated circuit. Having other appliances on the same circuit may cause the circuit breaker to trip or the fuse to blow while the product is in operation. The product comes with a 6 ft (1.8m) long power cord with a 3-prong plug, which is located on the right side of the appliance.
- Electrical outlet wiring must comply with local building codes and other applicable regulations to reduce the risk of fire, electrical shock, and personal injury.
- Do not use this item if any part of it has been submerged in water. Immediately call a qualified service technician to inspect the item and replace any part of the electrical system which has been underwater.
- This product is equipped with a polarized plug where one prong is wider than the other. For your safety, please insert the plug correctly. If you are unable to insert the plug into the electrical outlet try reversing the plug. If the plug still does not fit, contact a qualified electrician.
- Always plug the unit into a wall outlet. An extension cord, power strip, outlet extender, or any similar products should never be used with this product as it may increase the risk of fire.
US 3-Pin Polarized Plug 
US 3-Pin Polarized Plug
- This product must be grounded. If the heater should malfunction or breakdown, grounding provides a path of least resistance for electric current to reduce the risk of electric shock. This product is equipped with a cord having an equipment-grounding conductor and a grounding plug. The plug must be plugged into an appropriate outlet that is properly installed and grounded in accordance with all local codes and ordinances.
- This heater is for use on 120-volt circuits only and has a grounded plug. An adapter is available for connecting the three-blade grounding-type plug to a two-slot wall outlet. The green grounding lug extending from the adapter must be connected to a permanent ground such as a properly grounded outlet box. The adapter should not be used if a three-slot grounded receptacle is available.
You may run the power cord out of the framed wall opening to an existing outlet or install an outlet on a nearby wall stud within the wall.
In order to use the power safely, please make sure:
- NEVER use the relocatable power tap/outlet/power strip.
- NEVER exceed the maximum amperage for the circuit {Should be 120V 15amp). NEVER plug other appliances into the same circuit.
- SHOULD make sure the plug is in good condition and not loose.
The length of the power cord is 6ft. A grounded extension cord can be used, if the cord is not long enough to reach the outlet. When using the extension cord, please kindly NOTE:
- The cord is no longer than 7.87ft.
- The minimum of the wiring is AWG No. 14.
- The minimum rated power is 1900W.
Overheating Protection
- This heater has an overheating protection cutoff that switches the appliance off automatically if it overheats.
- Obstruction of the rear air intakes or front grill may result in overheating. If this occurs, please disconnect the heater from the power socket and allow it to cool for 10-15 minutes before powering it on again.
- Should problems persist, please contact TURBRO customer service team via [email protected].
Specifications

Parts List
PACKAGE CONTENTS


Note: Both table top supports are identical.
HARDWARE INCLUDED 


Installation
INSTALLATION WARNINGS
- The fireplace is heavy and should be assembled near its desired location.
- It is recommended that two people move the fully-assembled fireplace to prevent injury.
- Keep combustible materials such as furniture, bedding, papers, clothes, and curtains at least 3 ft away from the fireplace.
- Make sure that the unit is installed so that the power cord is not compressed against or caught on the fireplace and that it has an unobstructed path to a grounded power outlet.
BEFORE ASSEMBLY
Open the unit and check carefully for visible damage. If you have any problems with installation, operation, missing parts, or other damage, please contact the TURBRO customer service team. Do not dispose of packaging until you are satisfied with your fireplace. Contact the TURBRO customer service team before returning the unit.
INSTALLATION LOCATION
The fireplace should be located in an area that is not in direct sunlight, not susceptible to moisture, and away from any uninsulated exterior walls.
TOOLS REQUIRED
Phillips-head screwdriver (not included)
Tip: Use a 6-8 inch screwdriver to attach the legs. A long screwdriver will help you quickly finish assembly.
Electric power drill (not included)
Tip: The electric drill is the best helper to finish the installation easily and quickly.
ASSEMBLY INSTRUCTIONS
A. Mounting on a Wall
- Positioning the mounting bracket
Choose a solid wall. Place the mounting bracket (C) where the electric fireplace (A) is to be installed, and ensure that the mounting bracket (C) is level. Use a pen to mark the 2 mounting holes on the wall at the desired mounting location, using the mounting bracket (C) as a template.
- Securing the mounting bracket
Insert the 2 self-drilling wall anchors (CC) into the wall where previously marked. If installing the mounting bracket (C) to a wall stud, there is no need to drill the holes in the wood and no need for the plastic wall anchors (CC). It is recommended to install the mounting bracket to at least one stud. Secure the mounting bracket (C) to the wall using 2 large screws (BB).
- Hanging the electric fireplace
Hang the electric fireplace (A) on the mounting bracket (C).
- Inserting the ember bed
Arrange the ember beds (acrylic crystals [D] pebbles [E] or log set [F]) along the inset window ledge at the front of the electric fireplace (A).
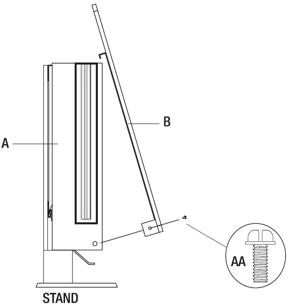
- Installing the glass panel
NOTE: This glass front is heavy. It is recommended that 2 people to fulfill the assembly at this step to prevent damage.
- Lift the glass front (B) into place, making sure the 2 tabs on the top back of the glass fit securely into the holes on the top of the electric firebox (A).
- Secure the glass front (B) by fastening two small screws (AA) on both sides.

Placing on a Table
- Assembling the stand
Attach the deflector (H) to the front (I) using 2 small screws (AA). Slide the whole part on to the table top base (J). Attach the left and right table top supports (G) to the table top base (J) using 4 screws (AA).

- Securing the mounting bracket
Use a screwdriver to secure the mounting bracket (C) to the table top stand with 2 small screws (AA)

- Securing the electric fireplace
Use a screwdriver, secure the electric fireplace (A) to the mounting bracket (C) with 2 small screws (AA). - Inserting the ember bed
Arrange the ember beds (acrylic crystals [D] pebbles [E] or log set [F]) along the inset window ledge at the front of the electric fireplace (A).
- Installing the glass panel
NOTE: This glass front is heavy. It is recommended that 2 people to fulfill the assembly at this step to prevent damage.
- Lift the glass front (B) into place, making sure the 2 tabs on the top back of the glass fit securely into the holes on the top of the electric firebox (A).
- Secure the glass front (B) by fastening two small screws (AA) on both sides.
Operation
USING THE CONTROL PANEL AND REMOTE CONTROL
On the top-right side of the electric fireplace (A) is the control panel. The buttons on the control panel and the remote function in the same way.
POWER BUTTON
- Press the power button once to power on.
- Press the power button to power off.
FLAME CONTROL
- Press the flame control button to light up the flame effect.
- Press again to cycle through different colors of the flame. See the table for more detailed information.

EMBER BED CONTROL
- Press the ember bed control button once to light up the ember bed.
- Press again to cycle through different colors. See the table for more information.

THERMOSTAT CONTROL
- Press the thermostat button once turns the heater on.
- When using the control panel, press and hold the thermostat button for 5 seconds to enter the temperature setting mode. Press again to set the temperature. When using the remote, press the up or down button to set the temperature. See the table for more information.
- To switch the Fahrenheit or Celsius display, press the thermostat button once, then press and hold the power button or 5 seconds. The display will beep and switch over Fahrenheit and Celsius.
NOTE: Once the desired room temperature is reached, the heater will stop working until the room temperature drop below the set temperature. If the temperature is set to ‘ON’, the heater will work nonstop until you shut it off manually.
| Button Press | Celsius Temperature |
| 1 | 11°c |
| 2 | 1a0c |
| 3 | 19°c |
| 4 | 20°c |
| 5 | 21°c |
| 6 | 22°c |
| 7 | 23°c |
| 8 | 24°c |
| 9 | 2s0c |
| 10 | 26°c |
| 11 | 21°c |
| 12 | ON |
| Button Press | Fahrenheit Temperature |
| 1 | 62°F |
| 2 | 63°F |
| 3 | 64°F |
| 4 | 65°F |
| 5 | 66°F |
| 17 | 78°F |
| 18 | 79°F |
| 19 | ao°F |
| 20 | 81°F |
| 21 | 82°F |
| 22 | ON |
BACKGROUND LIGHT
- Press background light button to turn on the ambient lighting on the side of the fireplace.
- Press the button repeatedly to cycle through the background light color settings. See the table for detailed information.
| Button Press | Side Light Color | Display |
| 1st Press | Blue | |
| 2nd Press | Red | |
| 3rd Press | Cycle | |
| 4th Press | Off |
TIMER (1 HOUR – 8 HOURS)
- Press the timer button to control the time of the flame and/ or heater function. If the heater and/ or flame effect are powered on when you enter the timer adjustment mode, those settings will be under the control of the time you set.
- Press the timer button repeatedly to cycle through the timer settings. See the table for detailed information.
| Button Press | Timer Interval | Display Value |
| 1st Press | 1 Hour | 1H |
| 2nd Press | 2 Hours | 2H |
| 3rd Press | 3 Hours | 3H |
| 4th Press | 4 Hours | 4H |
| 5th Press | 5 Hours | SH |
| 6th Press | 6 Hours | 6H |
| 7th Press | 7 Hours | 7H |
| 8th Press | 8 Hours 8H | |
CHILD LOCK
- Press the child lock button on the remote 5s to lock the functions, the heater will be turn off.
- Press 8 5s again to cancel the child lock function.
ABOUTTHEREMOTECONTROL
The remote control works within 13ft. (4 meters) away from the heater (without obstacles between the remote control and the fireplace).
INSERTING BATTERIES IN THE REMOTE
Press and glide the battery cover on the rear of the remote, remove the cover. Insert two new R03 “AAA” 1.5V batteries into the battery compartment. Make sure the polarity is correct. Battery is not included in the package because of transportation safety.
CAUTION: Do not mix old and new batteries. Do not mix alkaline, standard (carbon-zinc), or rechargeable (ni-cad, ni-mh, etc) batteries.
DISPOSAL OF USED BATTERIES
- Battery may contain hazardous substances which could endanger the environment and human health. This symbol marked on the battery and/ or packaging indicates that used battery shall not be treated as municipal waste. Batteries should be disposed of at an appropriate collection point for recycling. By ensuring the used batteries are disposed of correctly, you will help prevent potential negative consequences for the environment and human health. The recycling of materials will help to conserve natural resources. For more information about the recycling of used batteries, please contact your local municipality waste disposal service.
FCC / IC Information
Warning: Changes or modifications to this unit not expressly approved by the party responsible for compliance coul void user’s authority to operate the equipment.
NOTE: This equipment has been tested and found to comply with the limits for Class B digital device. pursuant to part 15 of the FCC Rules. These limits are designed to provide reasonable protection against harmful interference in a residential installation. This equipment generates, uses, and can radiate radio frequency energy and, if not installed and used in accordance with the instructions, may cause harmful interference to radio communications.
However, there is no guarantee that interference will not occur in a particular installation. If this equipment does cause harmful interference to radio or television reception, which can be determined by turning the equipment off and on, the user is encouraged to try to correct the interference by one or more of the following measures:
- Reorient or relocate the receiving antenna.
- Increase the separation between the equipment and the receiver.
- Connect the equipment into an outlet on a circuit different from that to which the receiver is connected.
- Consult the dealer or an experienced radio/ TV technician for help.
This device complies with Part 15 of the FCC Rules. Operation is subject to the following two conditions:
- This device may not cause harmful interference, and
- This device must accept any interence received, including interference that may cause undesired operation.
Modifications not approved by the party responsible for compliance could void user’s authority to operate the equipment. This Class B digital apparatus complies with Canadian ICES-003.
Cleaning & Maintenance
- Always turn the fireplace OFF and unplug the power cord from the outlet before cleaning.
- Use a vacuum or duster to remove dust and dirt from the fireplace and vent areas.
- Clean with a soft, damp cloth and buff with a dry cloth to maintain the luster of this product.
- Never use abrasive cleaners, liquid sprays, or any cleaner that could scratch the surface of the appliance.
Troubleshooting
Customer Support: [email protected]
| Problem Possible Cause(s) Corrective Action | ||
| The fireplace doesn’t operate |
|
|
|
| |
|
| |
|
| |
| Power light is ON but the flame effect is not visible |
|
|
| Excessive noise when the fireplace is operating |
|
|
| •The fireplace assembly is defective. | ||
Warranty Information
TURBRO provides a 1-year limited warranty for TURBRO Heater, from the date of purchase, subject to the following conditions and limitations outlined below.
WHAT IS COVERED?
- This warranty is limited to the repair or replacement of part(s) proved to be defective in material or workmanship, after said defect is confirmed by the manufacturer’s inspection.
- The manufacturer may, at its discretion, fully discharge all obligations with respect to this warranty by refunding the wholesale price of the defective part(s).
WHAT IS NOT COVERED?
- Damage caused by the owner when attempting to fix or alter the product themselves.
- Damage caused by misuse, abuse, neglect, alterations, or unauthorized repair.
- Natural depreciation.
- Any alteration misuse of the product will nullify this warranty.
- This warranty is non-transferrable, which is effective for the original buyer from the authorized seller only.
HOW TO REQUEST WARRANTY SERVICES?
- To obtain the benefit of this warranty, please leave a message online (www.turbro.com/contact), or send an email to [email protected].
WHAT WILL TURBRO DO?
- Repair the item.
- Replace the item if not repairable.
- Refund the item under certain circumstances.
© Katmai Technology Limited
[email protected]
www.turbro.com

Phillips-head screwdriver (not included)
Electric power drill (not included)






























