TURBRO INF50W-3D Electric Fireplace User Manual
IMPORTANT
READ ALL INSTRUCTIONS BEFORE USING YOUR ELECTRIC FIREPLACE. FAILURE TO FOLLOW INSTRUCTIONS MAY LEAD TO DAMAGE TO THE MACHINE OR PERSONAL INJURY.
KEEP THIS USER MANUAL FOR FUTURE REFERENCE.
Tip for First-Time Use
When using this fireplace for the first time, or after a long period of storage, let the fireplace run for at least 15 minutes with the thermostat set at the maximum heat level to remove the “new product” smell. This smell is because the fireplace absorbs moisture, creating an odor similar to that of old leather. It will go away after a few minutes of use.
Safety Instructions
Please read the folowing instructions before attempting to assemble, operate. or Install this product.
- Do not use Iles product outdoors. This product is for indoor use only.
- This product is not intended Ice use In bathrooms. laundry areas. and Smiler noloor locations. Do not place this product Whore it may fall into a bathtub or other water container.
- This product is hot when n use. Keep combustitle materials such as furniture, pilows. backing. papers. clothes. and curtails at least 311(0.9m) from the hot an outlet
- Do not run the power cord of this product under carpeting, brow rugs. rumors. or similar Items. Arrange the cord away !torn Nigh-PDX areas so it will not be tripped over.
- Extreme caution a required when the product is used near children or invalids and whenever a left unattended.
- Do net operate this product with a damaged power cat or plug, after the appliance malfunctions. or the product is damaged. Any repots to Pile appliance should be carrel out by a qualified earns person.
- Under no orcumstances should this product be modified. Parts removed for swede must be replaced prior to Lang this Product.
- Connect to property grounded power outlets only.
- Always plug the emplace directly Into a wall outlet. An extension cord. outlel or power ship should never be used with this pioduct.
- This product. when metalled. must be Sane:illy grounded In accordance with Ixal electrical codes. For the USA: National Electdo Code, ANSUNFRO No. 70. Ft( Canada: CSA 022.1 Canadian Electrical dudes.
- To diconnect this product turn the product ot, then remove the power plug from the Collet
- Ahvays unplug this product if you do not plan to use it for a long period of limo.
- Do not ‘need or allow foreign objects to enter any ventlation or eXheuSI openings as the may cause en electric shock. fire. or damage to the appliance.
- To prevent a possible fire. do not black air iMakes or exhausts In any manner. Do not use it on soft surfaces, like a DA where the opening may be blocked.
- The fireplace has ha. sparking, and arcing parts inside. Do not use It in areas where gasoline• paint. or flammable Lauds and used or stored. This appliance should not be used as a drying rack for clotting.
- Use this appliance only as described in the manual. Any other use not recommended by the manutachrer may cause fire. eleCtde shook. or personal injury.
Caution - This product can expose you to toxic chemicals including Di(2-ethylhexyl) phthalate (DEHP), which may cause cancer or harm developmental growth.
- Wash hands after installation. For more information go to www.p65Warninas.ca.gov

Overheating Protection
- This heater has an overheating protection cutoff that switches the appliance off automatically if it overheats.
- Obstruction of the front grill may result in overheating. If this occurs, please disconnect the heater from the power socket and allow it to cool for 10-15 minutes before powering it on again.
- Should problems persist, please contact TURBRO customer service team via [email protected].
Specifications
- Power Supply:
110-120V / 60Hz - Ratod Current:
12.5A - Rated Power:
1500W - Adjustable Thermostat:
60″F – 99″F - Noise Level (dBA):
s 42 dBA - Timer:
30 min. – 12 hrs - LED Lighting Effect:
LED - Remote Control:
Yes - APP Control:
Yes
Parts List

| Part | Description | Quantity |
| A | Firefox | 1 |
| B | Glass Panel | 1 |
| C | Remote Control | 1 |
| D | Ember Bed Strip | 1 |
| E | Mounting Bracket A | 1 |
| F | Mounting Bracket B | 1 |
| G | Acrylic Crystals | 1 |
| H | Logs | 1 |
Hardware Contents

| Part | Description | Quantity |
| AA | Wall Anchor | 4 |
| BB | Large Screw | 6 |
| CC | Small Screw | 12 |
Dimensions
TURBO INF50W-3D Dimentions
TURBO INF60W-3D Dimentions
Warnings
- Due to high temperatures, keep the fireplace out of high-traffic locations.
- Keep combustible materials, such as furniture. pilows, bedding, papers, clothes, and curtains at least 3ft (0.9m) away from the front of the fireplace.
- Never install the fireplace where it may fall into a bathtub or other body of water.
- Prevent contact with loose insulation. Do not instal the fireplace against a vapor barrier or exposed insulation.
- Do not expose the fireplace to the elements (rain. etc).
Tools Required (not included)
- Philips screwdriver
- Level
- Tape measure
- Electric power drill
Electrical Safety
- This fireplace can either be plugged into a grounded 3-prong outlet or hard wire connection.
- A 15-amp, 120-volt, 60 Hz circuit with a properly grounded outlet is required. Preferably, the item will be on a dedicated circuit. Having other appliances on the same circuit may cause the circuit breaker to trip or the fuse to blow while the product is in operation.
- This product is equipped with a polarized plug where one prong is wider than the other. For your safety, please insert the plug correctly. If you are unable to insert the plug into the electrical outlet try reversing the plug. If the plug still does not fit, contact a qualified electrician.
- This product, when installed, must be electric* grounded in accordance with local electrical codes. For the USA: National Electric Code, ANSUNFPA No. 70. For Canada: CSA C22.1 Canadian Electrical codes.
- Do not operate this product with a damaged power cord or plug, after the appliance malfunctions, or the product is damaged. Any repairs to this appliance should be carried out by a qualified service person. Immediately cal a qualified service technician to inspect the item and replace any part of the electrical system which has been underwater.
Wiring
This fireplace can either be plugged into a grounded 3-prong outlet or a hard wire connection.
This product is equipped with a 3-pin polarized plug.
Connect to properly grounded outlets only. This unit is for use on 120 volts outlets only. For your safety. please always plug the unit into a wall outlet/receptacle. An extension cord or power tap (outlet/power strip) should never be used with this device.
Hard Wire Connection
WARNING: If it is necessary to hard wire this appliance, a qualified electrician will be required to remove the cord connection and wire the appliance directly to the household wiring. The wire and power supply breaker must be rated for 120V minimum 15 amps.
This appliance must be electrically connected and grounded in accordance with local codes, if hard wired. In the absence of local codes, use the current CSA C22.1 CANADIAN ELECTRICAL CODE in Canada or the current ANSI/NFPA 70 NATIONAL ELECTRICAL CODE in the United States.
- Remove the 2 pcs screws to release the cover of the junction box, which is located on the top left side of the appliance.

- Pull the junction box out. loosen the screw in the terminal block to release the wires of the power cord.

- Use pliers to take the wire clip off and remove the power cord.

- Insert the White wire to the designated N Terminal and tighten the screw. Insert the Green or bare copper wire to the designated G Terminal and tighten the screw. Insert the Black wire to the designated L Terminal and tighten the screw. Make sure all connections are tightened properly.

- Reinstall the junction box black.

- Save the power cord.

Testing
Testing the Fireplace Prior to Installation
NOTE: Do not install the glass panel when testing.
- Before installing the fireplace, test the fireplace to make sure that it operates properly.
- Plug fireplace into approved outlet and power on the fireplace. Once fireplace is tested, continue with the installation.
- If you have any problems, please contact technical support [email protected].
Installation
Choosing Installation Location
- Measure wall location to ensure that fireplace will fit on desired wall location.
- Minimum clearances (measurements taken from front of glass panel):
| Bottom | 6″ |
| Sides | 0″ |
| Back | 0″ |
| Top | 8″ to mantel |
| 8″ to TV | |
| 8″ to ceiling | |
| Front | 36″ |

NOTE:
- Before installing the fireplace, please plug fireplace into approved outlet and power on, test the fireplace to make sure that it operates properly.
- Do not install the glass panel when testing.
- If you have any problems about installation, please contact support team at supoortetiirbro.com.
A. Recessed Installation
Confirm the location before recessed fireplace
- Due to many different finish materials used on walls, it is highly recommended that you consult a local builder before you install this fireplace in the wall.
- In order to avoid the possibility of exposed insulation or vapor barrier coming in contact with the fireplace, it is recommended that the walls of the fireplace enclosure be “finished” (Sheetrock, drywall, etc) as you would finish any other wall of your home. This will ensure that clearance to combustibles is maintained within the wall cavity.
- Never install the fireplace into load-bearing walls. When recessing fireplace in a wall, recess into non-load bearing walls ONLY!
- Choose a location in the wall to install fireplace.
- Create opening in the wall that is no more than WI larger than metal firebox portion of fireplace. And create a rough-in with electrical supply, the electrical junction box is located on the left side, at the back of the appliance

Model Length A Height B Depth C INF50W-3D 47-19/20″ / 1218mm 16-1/4″ / 413mm 4-1/2″ / 114mm INF60W-3D 57-19/20″ / 1472mm 16-1/4″ / 413mm 4-1/2″ / 114mm - Fix the Mounting Brackets on both sides of the firebox using 6 Small Bolts (CC) as shown.

Note: The hook hole of the Mounting Bracket does on the front of the fireplace.
- Insert the Firebox into the opening and adjust the position of the unit until it is centered and level.

- Attach the Firebox with 4 Large Screws (BB), on the side wood studs with an electric drill.

- Insert the Ember Bed Strip (D) into the base of the Firebox (A). Depending on your preference, place Acrylic Crystals (G) Log (H) on the Carbon Bed Strip (D).

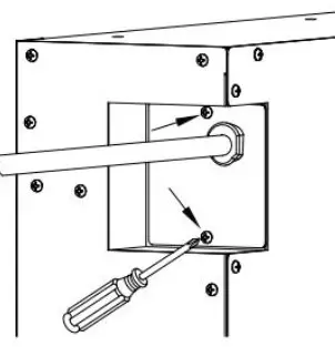
- Installing the Glass Panel.
NOTE: This glass front is heavy. It is recommended that two people perform the assembly at this step to prevent damage.
- Carefully set both hooks of the front glass panel in the firebox.
NOTE: Make sure the glass is properly installed according to the direction and steps below, and fully attached to the firebox so that the control panel can work properly.
- Secure the glass front (B) by fastening 4 Small Screw (CC) and complete the installation.

Your fireplace is now ready for use!
B.Wall-mounted installation
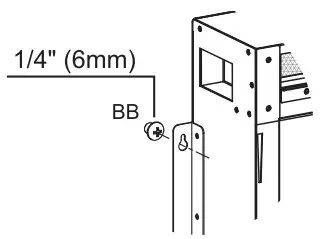
- To mount the item to the wall, refer to the mounted size of the model below and mark the mounting position on the wall. Using a 1/4-inch electric dril bit (not induded). dril a plot hole at each of the marked corners.

Model Al B1 INF50W-3D 48-27/64″ / 1230mm 5-5/16″ / 135mm INF60W-3D 58-27/64″ / 1484mm 5-5/16″ / 135mm - Fix the mounting brackets at both side of firebox by 6 small screw (CC) as shown.

- Insert Wall Anchors (AA) to drilled holes, then insert Large Screws (BB) into the Wall Anchor (AA) with an electric drill or screwdriver.

Note: Wall Anchors (AA) are not required if you are installing the fireplace
directly to studs. It is recommended to install the mounting brackets to at least one stud if possible.
Note: Do not fasten the Large Screws (BB) tightly. Leave 1/4″(6mm) spacing to hang up the Firebox.
- Lift the Firebox(A) and hang the Firebox on to the wall with the Large Screws (BB). (It’s recommended that two people lift the firebox to prevent injury or damage)
- Insert the Ember Bed Strip (D) into the base of the Firebox (A). Depending on your preference, place Acrylic Crystals (G) / Log (H) on the Carbon Bed Strip (D).







































