Bel Air Lighting 51405 Shaakar 1-Light Black Outdoor Flush Mount Light Instruction Manual
CAUTION
- Inspect the wire insulation for any cuts, abrasions, or exposed copper that may have resulted during shipping. If there is a defect in the wire, do not attempt installation.
- Before starting installation of this fixture or removal of a previous fixture, disconnect the power by turning off the circuit breaker or by removing the fuse at the fuse box
TOOLS REQUIRED
- Ladder

- Safety glasses

- Electrical tape

- Phillips screwdriver

- Flat blade screwdriver

- Pliers

- Wire strippers

- Fixture

- Glass

- Socket Ring

- Rubber washer

- Mounting Unit

- Mounting Screws

- Wire Nuts

- Cap Nuts

Assembly Instructions
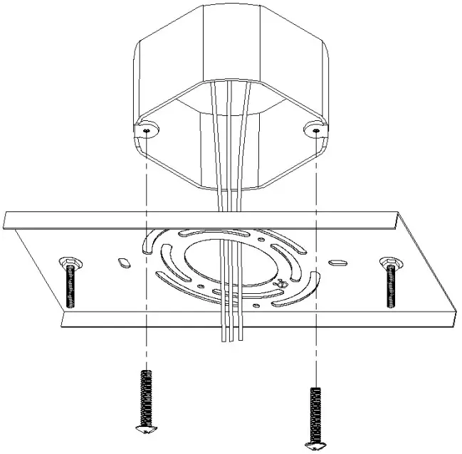
STEP 1
Use the mounting screws to attach the mounting unit to the junction box

STEP 2
Make the electrical connection from the junction box to the fixture. Connect the ground wire to the mounting unit using the preinstalled green ground screw. Then, connect the positive, negative and ground wires with the supplied wire nuts. Secure with electrical tape
Connect Clear, Brown, Gold or Black Parallel Wire without tracer (round & smooth) or Black Fixture Wire to:
Black or Red Supply Wire or Insulated Wire (other than green) with copper conductor.
Connect Clear, Brown, Gold or Black *Parallel Wire with tracer (square & ridged) or White Fixture Wire to:
White Supply Wire or Insulated Wire (other than green) with silver conductor
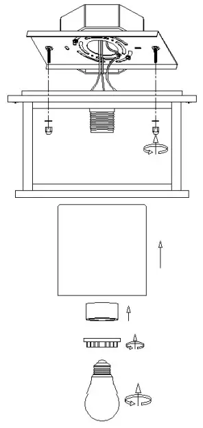
STEP 3
FLUSHMOUNT-LANTERN Assembly Instructions Model: 51405 Secure the fixture to the mounting unit with the cap nuts. Place the glass over the fixture and secure it with socket ring. Install the bulb E26 60W MAX(not included).






























