20817 Oran Single Light Black Painted Metal Mesh Drum
Instruction Manual
your global source for unique lighting + home decor
ASSEMBLY INSTRUCTION
CAUTION – Refer to the wattage caution label located near the lamp holder for maximum wattage – do not exceed the maximum wattage.
WARNING – Do not attempt to replace the bulb(s) while the lamp is plugged into a wall receptacle
CARE INSTRUCTIONS – Use only a soft cloth; do not use any chemicals or abrasive cleaners.
IMPORTANT SAFETY INSTRUCTIONS

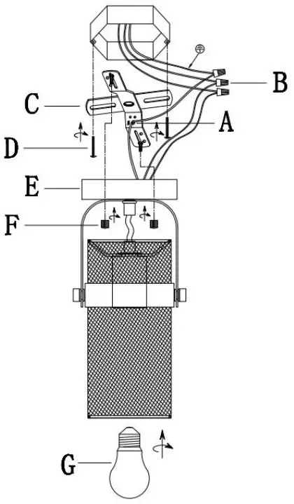
- Attach the mounting bracket(F)to the outlet box by using two mounting screws(D).
- Pull out the outlet wires and housing grounding wire from the outlet box. Make wire connections using the wire nuts (A):
–WHITE wire with WHITE-NEUTRAL
–BLACK wire with BLACK-LIVE
–Attached the fixture grounding wire to mounting bracket with green grounding screw(B). Carefully tuck the wires back into the outlet box. - Secure the canopy (E) to the metal mounting bracket (C) with screws provided (F).
- Install the bulb (G)(not included).

E26 Type A.60W X 1 (Not included)
E26 CFL 13W X 1 (Not included)
MADE IN CHINA
riverofgoods.com













