euro appliances EV600EESX Cooking

SAVE THIS INSTRUCTION AT SAFETY PLACE FOR FUTURE REFERENCE
Thank you for choosing us! Please read all instructions before using this appliance. This book contains valuable information about operation, care and service. Keep it in a safe place for future reference. Should the appliance be sold or transferred to another owner, or should you move house and leave the appliance, always ensure that the book is supplied with the appliance in order that new owner can be acquainted with the functioning of the appliance and relevant warnings
Important Safety Warning
THESE WARNINGS ARE PROVIDED IN THE INTEREST OF SAFETY. PLEASE READ THEM CAREFULLY BEFORE INSTALLING OR USING THE APPLIANCE.
To maintain the EFFICIENCY and SAFETY of this appliance, we recommend:
- Call only the Service Centers authorized by store where you buy the cooker
- Always use original Spare Parts
- This appliance is intended for non-professional use within the home.
- Before using the appliance, read the instructions in this owner’s manual carefully since you should find all the in structing you require to ensure safe installation, use and maintenance. Always keep this owner’s manual clos e to hand since you may need to refer to it in the future.
- After remove the packing, check that the appliance is not damaged. If you have any doubts, do not use the appliance, contact your nearest Servic e Centre of the store where you buy the appliance Never leave the packing components (plastic bags, foamed polystyrene, nails, etc.) within the reach of children since they are a source of potential danger.
- The appliance must be installed only by a qualified person in compliance with the instructions provided. The manufacturer declines all responsibility for improper installation which may harm persons and animals and damage property.
- This appliance is not intended for use by persons (including
children) with reduced physical, sensory or mental capabilities, or lack of experience and knowledge, unless they have been given supervision or instruction concerning use of the appliance by a person responsible for their safety. Children should be supervised to ensure that they do not play with the appliance. - The electrical safety of this appliance can only be guaranteed if the cooker is correctly and efficiently earthed, in compliance with current regulations on electrical safety. Always ensure that the earthing is efficient; if you have any doubts call in a qualified electrician to check the system. The manufacturer declines all responsibility for damage resulting from a system which has not been earthed.
- Check that the electrical capacity of the system and sockets will support the maximum power of the hob, as indicated on the rating label. If you have any doubts, call in a qualified technician.
- When the cooker is first used anodour may be emitted, this will cease after a period of use. When first using the cooker, ensures that the room is well ventilated (e.g. open a window or use an extractor fan) and that persons who may be sensitive to the odour avoid any fumes. It is suggested that any pets be removed from the room until the smell has ceased. This odor is due to temporary finish on oven liners and elements and also any moisture absorbed by the insulation.
- Ensure that the appliance is switched off before maintenance, by switching off the main switches and turning all knobs to “OFF” position.
- The openings and slota used for ventilation and dispersion of heat on the rear and below the control panel must never be covered.
- The user must not replace the supply cable of this appliance. Always call an after-sales servicing center authorized by the seller in the case of cable damage or replacement.
- This appliance must be used for the purpose for which it was expressly designed. Any other use is considered to be improper and consequently dangerous. The manufacturer declines all responsibility for damage resulting from improper and irresponsible use.
- A number of fundamental rules must be followed when using acirtcelel appliances. The followings are of particular importance:
• Do not touch the appliance when your hands or feet are wet.
• Do not use the appliance barefooted.
• Never allow the Mains Cable to be stretched, pulled o r damaged if the cooker is moved for cleaning etc.
• Do not use the cooker if the Mains Cable is damaged, consults a qualified electrician.
• Do not allow the cooker to be used unsupervised by children or persons unfamiliar with it.
• Do not grill to open the door. - Always switch off the electrical supply to the cooker and allow it to cool down before carrying out any cleaning operations etc.
- WARNING Ensure that the appliance is switched off before replacing the lamp to avoid the possibility of electric shock.
- To avoid accidental spillage do not use cookware with uneven or deformed bottoms on the burners or on the electrical plates.
- Special care should be taken when using chip pans etc. should not be used unattended since overheated oil may in order to avoid splashing or spillage of hot oil. They boil over and could also ignite.
- arts of this appliance, cooking surfaces, retain heat for cons inerrable periods after switching off. Care should, therefore, be taken when touching these areas before they have completely cooled down.
- Never use flammable liquids such as alcohol or gasoline, etc. near the appliance when it is in use.
- When using small electric appliances near the hob, keep the supply cord away from the hot parts.
- Make sure the knobs are in its “OFF” position when the appliance is not in use. Also ma all potentially dangerous parts of the appliance, safe, above all for children who could play with the appliance.
- When the appliance is in use, the heating elements and some parts of the oven door become extremely hot. Make sure you don’t touch them and keep children well away.
- If you use the power code for single phase, the minimum cross-sectional area is 4mm 2 . For three phases, the minimum cross-sectional area is 2.5 mm2.
- The appliance that you have bought may be slightly different from the one illustrated in this manual. Please refer to the information related to the model you have.
- Do not use harsh abrasive cleaner or sharp metal scrapers to clean the oven door glass since they can scratch the surface, which may result in shattering of the glass.
- Any spillage should be removed from the lid before opening and the hob surface should be allowed to cool before closing the lid.
- If the surface is cracked, switch off the appliance to avoid the possibility of electric shock. (If the hob surface is of glass-ceramic or similar material and protects live parts.)
- WARNING: Accessible parts may become hot during use. Young children should be kept away.
- The appliance is not intended to be operated by means of an external timer or separate remote-control system.
- WARNING: Unattended cooking on a hob with fat or oil can be dangerous and may result in fire. NEVER try to extinguish a fire with water, but switch off the appliance and then c over f lame e.g. with a lid or a fire blanket.
CAUTION: The cooking process has to be supervised. A short term cooking process has to be supervised continuously
WARNING: Danger of fire: do not store items on the cooking surfaces. - WARNING: Use only hob gusrds designed by the manufacturer of the cooking appliance or indicated by the manufacturer of the appliance in the instructions for use as use of inappropriate guards can cause accidents. suitable or hob guards incorporated in the appliance. The use of inappropriate guards can cause accidents.
- WARNING: The appliance and its accessible parts become hot during use.
Care should be taken to avoid touching heating elements.
Children shall be kept away unless continuously supervised.
If the supply cord is damaged, it must be replaced by the manufacturer, its service agent or similarly qualified persons in order to avoid a hazard.
Installation
The following instructions should be read by a qualified technician to ensure that the appliance is installed, regulated and technically serviced correctly in compliance with current regulations.
It is necessary to allow disconnection of the appliance from the supply after installation.
Important: remember to disconnect the appliance from electricity by turn off the mains before regulating the appliance or carrying out any maintenance work.
Positioning
Important: The hob should never be installed in proximity of a door access. People opening and closing the door could come into contact with pots or pans cooking on the hob. This unit may be installed and used only in permanently ventilated rooms:
Unpacking
a) Be careful when unpacking and installing the appliance.Sharp edges might cause accidents.
b) The oven is heavy and care must be taken when moving it. Ensure that all packing, both inside and outside the cooker, has been removed before the oven is used.
c) Unpack the oven from the carton, check and make sure it has not been damaged in any way. If you have any doubts, do not use it, contact the service center or where you buy the oven.
Installation
The cooker is designed to fit between kitchen cabinets. The space either side need only be sufficient to allow withdrawal of the cooker for servicing. It can be used with cabinet one side or both as well as in a corner setting. It can also be used free-standing.
The appliances can be installed next to furniture units which are no taller than the top of the cooker hobs. If the cooker is placed touching walls or sides of neighboring cabinets, these must be capable of withstanding a temperature rise of 50 °C above room temperature. For a correct installation of the cooker the following precautions must be followed:
a) The cooker may be located in a kitchen, a diner or bed sitting room, but not in a bathroom or shower room.
b) Kitchen cabinets installed next to the cooker that are taller than the top of the cooker hobs must be situated at least 20cm from the edge of the hobs.
c) Hoods must be installed according to the requirements in the installation manual for the hoods themselves and in any case at a minimum distance of 65cm.
d) Place the wall cabinets adjacent to the hood at a minimum height of 42cm from the hobs as indicated in figure 1.
e) The hoods must be installed according to the requirements in the hood handbook. Should the
f) cooker be installed beneath a wall cabinet, the latter should be situated at least 70cm away from the hobs as indicated in a) The cooker may be located in a kitchen, a diner or bed sitting room, but not in a bathroom or shower room.
b) Kitchen cabinets installed next to the cooker that are taller than the top of the cooker hobs must be situated at least 20cm from the edge of the hobs.
c) Hoods must be installed according to the requirements in the installation manual for the hoods themselves and in any case at a minimum distance of 65cm.
d) Place the wall cabinets adjacent to the hood at a minimum height of 42cm from the hobs as indicated in figure 1.
e) The hoods must be installed according to the requirements in the hood handbook. Should the
f) cooker be installed beneath a wall cabinet, the latter should be situated at least 70cm away from the hobs as indicated in figure 1.
g) The cut-out for the cooker cabinet should have the dimensions indicated in the figure1.
h) The wall in contact with the back of the cooker must be of flameproof material.
g) The cut-out for the cooker cabinet should have the dimensions indicated in the figure1.
h) The wall in contact with the back of the cooker must be of flameproof material.
Leveling Your Appliance
Take out of the 4 cooker feet from oven cavity, which be packed together with backing rack, and then screw them into the 4 plinth in lower part of cooker. These feet level off the oven when necessary. The height of the cooker can be adjusted by means of adjustable feet in the plinth. Adjust the feet by tilting the cooker from the side. Then install the product into position. It is essential that the cooker be standing level before installation.
Fitting the safety chain and hook
To prevent the cooker from tipping forward, two lengths of chain MUST BE fixed to the back of the cooker, which should be secured to the hooks provided at all times. The hooks should be secured to the wall at the rear of the cooker. The chains should always be attached to the hooks when the cooker is in position against the wall. Fix the hooks into the wall immediately behind the cooker on both sides Secure the chain to the hook before using or cleaning the oven.

Leveling Your Appliance
Take out of the 4 cooker feet from oven cavity, which be packed together with backing rack, and then screw them into the 4 plinth in lower part cooker. These feet level off the oven when necessary. The height of the cooker can be adjusted by means of adjustable feet in the plinth. Adjust the feet by tilting the cooker from the side. Then install the product into position. It is essential that the cooker be standing level before installation.
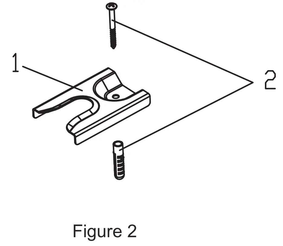
Install Anti-tilt Bracket
Warning: In order to prevent tipping of the cooker, the anti-tilt bracket must be installed with cooker. To install Anti-tilt bracket, use screwdriver to mount the anti-tilt bracket (1) with screws (2) to the ground, as shows in Figure (3) After fix anti-tilt bracket, push the electric cooker inside cabinet
as show in Figure ( 4) For correct installation, the rear and right foot of cooker would be clipped by the anti-tilt bracket.



Electrical connection
WARNING – THIS APPLIANCE MUST BE EARTHED.
Power supply voltage and frequency: 220-240V A.C.50Hz-60Hz.
The electric cooker without a power supply cable. The cooker is designed to operate on an electricity supply which conforms to the electrical data shown on the Rating label. The cooker can be connected to the mains only after removing the back panel of the cooker itself with a screwdriver.
Note: the following installation procedure must be carried out by a qualified electrician. For the installation of the feeding cable carry out the following operations:
- Open the terminal board by inserting a screwdriver into the side tabs of the power code cover. Use the screwdriver as a lever by pushing it down to open the cover as below:
- Connect the electricity follows the diagram as printed in the surface of power code cover.
- Fasten the supply cable in place with the clamp and close the cover of the terminal board.
Note: The red electricity indicator on control panel will illuminate once connect to electricity.

Safety Information
When use properly your appliance is completely safe but as with any electrical product there are certain precautions that must be observed.
PLEASE READ THE PRECAUTIONS BELOW BEFORE USING YOUR APPLIANCE.
Always
- Turn controls OFF when you have finished cooking and when not in use .
- Stand back when opening an oven door to allow any build up of steam or heat to disperse .
- Use dry good quality oven gloves when removing items from the oven/grill.
- Place pans centrally over the hotplate making sure handles are kept away from the edge of the hob and cannot become heated by other hot plate/pans .
- Take care to avoid heat/steam burns when operating the controls .
- Turn off the electricity supply before cleaning and allow the appliance to cool.
- Make sure the shelves are in the correct position before switching on the oven .
- Take care when removing items from the grill when the lower oven is on as the contents will be hot.
- Take care when removing items form the grill when the lower oven is on as the contents will be hot.
- Keep the appliance clean, as a build up of grease or fat from cooking can cause a fire .
- Follow the basic principles of food handling and hygiene to prevent the possibility of bacterial growth .
- Keep ventilation slots clear of obstructions .
- Refer servicing to a qualified appliance service engineer .
- Take care to avoid touching heating elements inside the oven, as during use the oven becomes hot.
Never
- Never line the interior of the oven with foil as this may cause the appliance to overheat.
- Never leave children unsupervised where a cooking appliance is installed as all surfaces will be hot during and after its use .
- Do not allow children or persons who are not familiar with the appliance to use it, without supervision .
- Never allow anyone to sit or stand on any part of the appliance .
- Never store items above the appliance that children may attempt to reach .
- Never leave anything on the hob surface when unattended and not in use .
- Never remove the oven shelves whilst the oven is hot.
- Never heat up unopened food containers as pressure can build up causing the container to burst.
- Never store chemicals/food stuffs, pressurized container in or on the appliance, or in cabinets immediately above or next to the appliance .
- Never place flammable or plastic items on or near the hob .
- Never fill a deep fat frying pan more than 1/3 full of oil, or use a lid.
DO NOT LEAVE UNATTENDED WHILE COOKING .
- Never use the appliance as a room heater .
- Never use the grill to warm plates .
- Never dry any items on either the hob or oven doors .
- Never install the appliance next to curtains or other soft furnishings .
- Never use steam cleaners.
SAFETY ADVICE IN CASE OF A CHIP-PAN FIRE
In the event of a chip pan fire or any other pan fire.
- TURN OFF THE COOKER APPLIANCE AT THE WALL SWITCH.
- COVER THE PAN WITH A FIRE BLANKET OR DAMP CLOTH, this will smother the flames and extinguish the fire.
- LEAVE THE PAN TO COOL FOR AT LEAST 60 MINUTES BEFORE MOVING IT. Injuries are often caused by picking up a hot pan and rushing outside with it.
NEVER USE A FIRE EXTINGUISHER TO PUT OUT A PAN FIRE as the force of the extinguisher is likely to tip the pan over!
Never use water to extinguish oil or fat fires!
Safety reminding
Caution, possibility of tilting
Anti-tip restraints
WARNING: ln order to prevent tipping of the appliance, this stabilizing means must be installed. Refer to instructions for installation.
Product Description
A. Cooktop
B. Vitro Ceram
C. Control Panel
D. Baking Rick
E. Baking Pan
F. Adjustable Feet

ACCESSORIES
Wire shelf: For grill, dishes, cake pan with items for roasting and grilling.

Slider bracket : For cooking larger size food, these shelf support rails on the right and left sides of the oven can be removed, dishes and tray can be put on the oven floor, using functions as Radiant grilling, Double grilling, Double grill with fan.
NOTE: When placing dishes on the oven floor, please
DO NOT use functions with bottom heater to prevent heat gathering at bottom. (only for specific models)

Universal pan: For cooking large quantities of food such as moist cakes, pastries, frozen food etc,or for collecting fat/spillage and meat juices.

Telescopic runner: Some models might with telescopic runners to facilitate the use of oven. These telescopic runners and slider brackets could be disassembled by unscrewing the screws used to fix it. After disassembled, dishes and tray can be put on the oven floor, using functions as Radiant grilling, Double grilling, Double grill with fan.
NOTE: When placing dishes on the oven floor, please DO NOT use functions with bottom heater to prevent heat gathering at bottom. (only for specific models)
SHELF PLACEMENT WARNING:
To ensure the oven shelves operate safely, correct placement of the shelves between the side rail is imperative. Shelves and the pan only can be used between the first and fifth layers. The shelves should be used with the right direction, it will ensure that during careful removal of the shelf or tray, hot food items should not slide out.
Operation Instructions

Oven controls – the function and temperature controls
To use an oven function, first select the function with the left hand dial and then set the temperature of the function with the right hand dial. Set the timer in the middle. The indicator light will illuminate. When the temperature inside your oven reaches the temperature you set, the thermostat will cut off the heating element and the indicator light will go off. When the temperature falls below the set temperature, the heating element will again be turned on and the indicator light will illuminate again.

Note: Broil said temperature: 240°C

The cooker could be with different functions as below, please refer to the functions for the cooker you buy.
| Symbol | Function description |
![]() | Oven Lamp: Enables the user to observe the progress of cooking without opening the door. Oven lamp will lighting for all cooking functions, for the cooker with this optional function. except ECO function. |
![]() | Defrost The circulation of air at room temperature enables quicker thawing of frozen food,(without the use of any heat). lt’s a gentle but quick way to speed up the defrosting time and thawing of ready-made dishes and cream filled produce etc. |
![]() | Double grilling with fan: The inside radiant element and top element are working with fan . This function can be work with optional rotisserie function. |
![]() | Double grilling: The inside radiant element and top element are working. This function can be work optional rotisserie function. |
|
| Convention with fan: Combination of the and both heating element provides more even heat penetration, saving up to 30-40% of energy. Dishes are lightly browned on the outside and still moist on the inside. |
![]() | Radiant grilling: The inner grill element switches on and off to maintain temperature. This function can be work with optional rotisserie function. |
![]() | Conventional cooking: The top and bottom work together to provide conventional cooking. |
![]() | Bottom heat:: A concealed element in the bottom of the oven provides a more concentrative heat to the base of food with out blowing. |
![]() | Convection: An element around the convection fan provides an additional source of heat for convection style cooking. In convection mode the fan automatically comes on to improve air circulation with in the oven and creates an even heat for cooking. |
![]() | Top heater: The top heating element is working. |
Overview
- 1800W zone
- 1200W zone
- 1800W zone
- 1200W zone
- Glass plate
- Residual heat indicator

The temperature is set individually for each cooking zone, using the respective temperature controls. The controls can be turned clockwise and back again. The desired temperature canbe adjusted continuously. The power control lamp indicates that it goes out when all Multi-stage cooking zones controls are off.
![]() | Control settings • =Off LO =lowest setting (Keep food warm) MED =Middle setting of the central zone independently(cooking, roasting) HI =Highest setting of the central zone independently( cooking, roasting) |
![]() | Control settings • =Off LO =lowest setting (Keep food warm) MED =Middle setting of the central zone independently(cooking, roasting) HI =Highest setting of the central zone independently( cooking, roasting) |
When finished cooking, turn the control back to the Off position •.
Residual heat indicator
After switching off the cooking zone, the residual heat indicator lights up.
The lit residual heat indicator warns the user not to touch the hot cooking surface.
WARNING: Risk of burning!
Do not touch the cooking zones as long as the residual heat indicator is on.
NOTE:
After having switched off the heating power, you may use the residual heat for different purposes,
such as heating up or keeping food warm without having to switch on the heating power.
Safety requirements for deep fat frying
- Use a deep pan, large enough to completely cover the appropriate heating area.
- Never fill the pan more than one-third full of oil.
- Never leave oil or fat unattended during the heating or cooking period.
- Never try to fry too much food at a time, especially frozen food. This only lowers the temperature of the oil or fat too much, resulting in greasy food.
- Always dry food thoroughly before frying, and lower it slowly into the hot oil or fat. Frozen foods, in particular, will cause frothing and spitting, if added to quickly.
- Never heat fat, or fry, with a lid on the pan.
- Keep the outside of the pan clean and free from streaks of oil or fat.
Hotplates General Information Notes
| Always | Never |
| Use good quality flat-based cookwareon all electric heat sources. | Use gauze, metal pan diffusers,asbestos mats and stands e.g. Wokstands – they can use overheating. |
| Always ensure pans have clean, dry bases before use. | Use utensils with skirts or rims e.g. buckets and some kettles. |
| Ensure pans match size of heating area. | Use badly dented or distorted pans. |
| Remember good quality pans retain heat well, so generally only a low ormedium heat is necessary. | Leave an element switched on when not cooking. |
| Ensure pan handles are positioned safely and away from heat sources. | Cook food directly on the ceramic glass. |
| Always lift pans, do not drag. | Drag or slide utensils, along the hob surface. |
| Always use pan lids except when frying. | |
| Deal with spillages immediately but with care. |
Do Not
Do not cook directly on the hob surface without a cooking utensil, as this will result in damage to the surface of the hob.
Do not use the hob as a worktop surface as damage may occur to the smooth surface of the hob.
Do not drag or slide utensils on the hob surface, as this will cause scratches in the surface of the hob.
Do not allow a cooking utensil to come into contact with the hob surround.
Do not leave any utensils, food or combustible items on the hob when it is not in use.
Do not place aluminum or plastic foil, or plastic containers on the hob.
Do not leave the hotplates or cooking areas switched ON unless they are being used. We recommend not to place large preserving pans or fish kettles across two heating areas.
Do not leave utensils partly covering the heated areas. Always ensure that they are placed centrally over the heated areas and have the same diameter as the heating area used.
We recommend not to use a utensil with a base diameter greater than 25cm.
Pressure cookers or other large pans should be used on the front cooking areas.
Always ensure that saucepan handles are positioned safely.
Choosing Your Utensils
Do not use utensils with rough bases.
Do not use lightweight utensils with thin,distorted or uneven bases.
Do not use lightweight enameled steel utensils.
Do not use cast iron utensils.
Do not use utensils with recessed, scrolled or ridged bases.
Do not use a utensil which has a base concavity greater than 1 mm as this will reduce the performance of the hob.
Do not use a utensil with a convex base .
Do not use glass ceramic utensils.
Oven Control
The oven temperature setting knob can only be rotated clockwise from the OFF position. Turn oven function control knob to select the cooking function, mean while turn the timer (for the model with timer) to set the cooking time you want. Then turn oven temperature control immediately illuminate and will automatically go off when oven temperature reaches the temperature setting.
Timer (only available on certain models)
For the cooker with 2 hour mechanical timer, you can use it to set it to set cooking time from 1-120 minutes. To use the timer, the buzzer must be wound up by turning the knob one full turn clockwise; then turn it back to the desired time so that the number of minutes on the knob matches the reference mark on the panel. After set cooking time finish, timer buzzer would sounds.
Turn the time control knobs to
position, the timer will keep always on.
Electronic programmer (on some models only)
![]() | LIST OF FUNCTIONS |
Setting the time:
On the first use, or after a power failure,
and the symbol A will flash on the appliance’s display. Return all the knobs to the O setting, then press the
and
keys together and at the same time press the value adjustment keys
or
: this will increase or decrease the setting by one minute for each pressure. If long press, time will change faster.
Notice:
Manual cooking: If you have pressed the
and
keys together, activated the required function and temperature, then the oven will work continuously. To switch off the oven, return all knobs to the O setting.
Semi-automatic cooking:
Semi-automatic cooking is the function which allows a cooking operation to be started and
then ended after a specific length of time set by the user.
Press the
key and the display will light up showing the figures
; then use the keys
or
to set the cooking duration, the symbol A will light up. 5seconds after setting the cooking duration, the count of the programmed cooking duratino will start and the display will show
the current time together with
and A (to in dicate that a programmed cooking operation has been set).
Automatic cooking:
This function switches the oven on and off entirely automatically.
Press the
key and the display will light up showing the figures
; then use the value modification keys
or
to set the cooking duration, the symbol A will light up. Press the
key and the display will show the sum of the current time plus the cooking duration; then use the value modification keys
or
to adjust the end of cooking time. 5seconds after setting the end of cooking time, the programmed count will start and the display will show the current time together with the symbol A. Subtract the cooking duration from the end of cooking time and the remainder will be the time that the oven starts to work with the symbol
.
After making the setting, press the
key to view the remaining cooking time; press the
key to view the cooking end time.
End of cooking
After the end of cooking the oven will switch off automatically and simultaneously a bezzer will start to sound. After the buzzer has been deactivated, the display will return to show the current time.
Timer
The programmer can also be used as an ordinary timer.
Press the
key and the display will show the figures
; and the symbol
will flash,
press the value modification keys
or
. 5 seconds after setting the time of timer the count
will start and the display will show the current time and the symbol
.
After the setting, to display the time left press the
key.
In timer mode, the oven operation will not be cut out at the end of the set time.
Adjusting the buzzer volume
The buzzer volume can be varied (3 settings) while it is in operation by pressing
.
Stopping the buzzer
The buzzer stops automatically after about seven minutes. It can be deactivated manually by pressing any keys as follows:
,
or
.
Modifying the set data
The set cooking data and timer data can be modified at any time. Press any function keys as follows:
,
or
, then press the keys
or
to change the value.
Canceling cooking
Having programmed a manual, semi-automatic or automatic cooking operation, to switch off the appliance, return all knobs to the O setting or press the keys
or
together.
Rotisserie function
Some of models might have rotisseries optional function. It is suitable for big pieces of meat, and could have better cooking for meat with an appetizing crisped outside if use together with infrared grill. To use rotisseries cooking, you need to first insert rotisseries rack inside rack support.
Then string the meat to rotisseries fork, after that insert rotisseries fork to the sleeve of rotisseries motor. And then select cooking function, temperature abd cooking time to set rotisseries cooking.
Clean and Maintenance
Before each operation, disconnect the cooker from the electricity. To assure the long life of the cooker, it shall be thoroughly cleaned frequently, keeping in mind that:
- Wait until the oven has cooled before removing the wire shelves, wash them separately in warm soapy water and dry thoroughly.
- Wash the interior of the oven with hot soapy wath and wipe down with a damp cloth. J. Leave the door open until the interior has dried, before replacing the wire shelves.
- Clean the oven after each use, especially after roasting or grilling, this will prevent spilt or splattered food debris burning and becoming difficult to remove.
- Do not use abrasive pads to clean the interior of the oven as this may remove the enamel, which will affect the efficiency of your oven.
- Do Not use harsh, abrasive cleaners or sharp metal scrapers to clean the oven door glass since they can scratch the surface, which may result shattering of the glass.
Cleaning the outside of the oven
- You should regularly wipe over the control panel, oven door and sides using a soft cloth and mild
liquid detergent as spilt liquids may damage the enamel. - Wash enameled or chrome plated parts of the oven with warm soapy water or with non-abrasive
detergents. - Never use abrasive pads to clean enameled, chromed or stainless steel surfaces.
- When using commercially available stainless steed cleaning products, avoid cleaning any lettering or symbols, as they can become damaged.
Removing the door for easier cleaning
We recommend you have someone to assist you during removal of the door.
- Open the door completely.
- The door hinge has a small latch. Lift the latch on both hinges.
- Lift the door slightly as if closing, and then with both hands supporting the door, pull it away from the oven.
- To replace the door, hold the door in an open position and insert the latches on both hinges back into place. Open and close the door to make sure that it has been fitted correctly.

Oven Lamp Replacement
- Switch off and disconnect the power from the oven. Ensure that the internal parts are cool before
touching in ternal parts. - Remove the lamp cover by turning it counter-clockwise (note, it may be stiff), replace the bulb with a new one of the same type.
- Insert the new bulb, which should be resistant to 300°C. For replacement bulbs contact your local service centre.
- Re-fit the cover.
- If in any doubt, consult a qualified electrician for help.

WARNING: To avoid electric shocks – please ensure that the electricity supply to the appliance is switched off and the appliance is fully cold, before removing the lamp lens.
Trouble shooting
Customer service
Before contacting the authorized service center in case of problems while using your cooker, check the problem guide below; there may be nothing wrong with your cooker.
| Prooblem | |
| Slight odour or small amount of smoke when using the cooker for the first time. | This is normal and should cease after a short period. |
| Nothing Works | Is the main cooker wall switch turned on? There may be no electricity supply. |
| Oven does not cook evenly. | Check that the containers being used in the oven allow sufficient air flow around them. Check that the cooker is level. |
| Hotplates are slow to boil or will not simmer. | Check that your pans conform to the recommendations in these instructions. |
| Marks appearing on hotplates. Can not clean hob / hotplates. | The hob surround can be cleaned with warm soapy water and a cream cleaner, such as Cif. The sealed hotplates should be cleaned regularly. |
| Grill keeps turning on and off. | When the grill control is operated at a setting less than maximum, this is normal regulator operation, not a fault. |
| Condensation on the wall at the rear of the cooker. | Steam and/or condensation may appear from the vent at the rear of the appliance when using an oven particularly for foods with a high water content e.g. |
| frozen chips, roast chicken etc. This is normal and any excess should be wiped off. | |
| Steam I Condensation in the oven after use. | Steamis a by-product of cooking any food with high water content. This is normal and could be clean when regular cleaning of cooker. |
Technical Characteristics
| 60*60*85cm Cooker | |
| Top element | 950W |
| Bottom element | 1100W |
| Grill element* | 2000W |
| Convection element* | 2000W |
| Convection fan motor* | 33W |
| Rotisserie motor* | 4W |
| Lamp* | 25W |
| hilight 165mm(RF, LR)* | 1200W*2 |
| hilight 200mm(RR, LF)* | 1800W*2 |
| hilight 270-165mm* | 2000/1100W |
| hilight 230mm( LF)* | 2200/1000W |
| Cavity volume | 70L |
| Timer* | 120 minutes mechanical timer |
* (only available on certain models)
Voltage and Frequency of Power Supply:
Refers to rating label
This symbol on the product or in the in struction means that your electrical and electronic equipment should be disposed at the end of its life separately from your household waste. There are separate collection systems for recycling in the EU. For more information, please contact the local authority or your retailer where you purchased the product.
When you have unpacked the oven, make sure that it has not been damaged in any way. If you have any doubts at all, do not use it: contact a professionally qualified person. Keep packing materials such as plastic bags, polys tyren, or nails out of the reach of children because these are dangerous to children.
Maintenance schedule:
To ensure the appliance continues to operate at peak performance, we recommend a routine service call years for the life of the appliance.
Customer Support
Pronto Service + Support: 1 800 440 335
Email: [email protected]
HEAD OFFICE
65 Glynburn Road, Glynde SA 5070
Ph: 08 8 1 65 1 01 2
www.euroappliances.com.au



































