
Rangehoods
USAGE AND CARE GUIDE

PRODUCT CODE:
EO900MX
How to keep Your Oven in Shape
This appliance is for household use only, don’t use it outdoors!
Important: Before cleaning your oven, or performing maintenance, disconnect it from the power supply.
To extend the life of your oven, it must be cleaned frequently, keeping in mind that:
◎ Do not uses steam equipment to clean the appliance.
◎ To protect against the risk of electrical shock, do not immerse the unit, cord or plug in water or other liquid or sprinkle water to clean the appliance!
◎ Don’t clean the appliance when it still hot! The inside and external surface of the oven should preferably be cleaned by damp cloth when it is cooled down.
◎ Wash all accessories in hot sudsy water or in a dishwasher, wipe dry with a paper or cloth towel.
◎ If you use your oven for an extended period of time, condensation may form. Dry it using a soft cloth.
◎ There is a rubber seal surrounding the oven opening which guarantees its perfect functioning. Check the condition of this seal on a regular basis. If necessary, clean it and avoid using abrasive products or objects to do so. Should it become damaged, please contact your nearest After-sales Service Centre. We recommend you avoid using the oven until it has been repaired.
◎ Never line the oven bottom with aluminium foil, as the consequent accumulation of heat could compromise the cooking and even damage the enamel.
◎ Clear the glass door using damp cloth and dry it with a soft cloth..
Do not use harsh abrasive cleaners or sharp metal scrapers to clean the oven door glass since they can scratch the surface, which may result in shattering of the glass.
◎ If the supply cord is damaged, it must be replaced by the manufacturer, its service agent or similarly qualified persons in order to avoid a hazard.
Replacing the Lamp in the Oven
◎ Cut off the supply of power to the oven by turning off the omni-polar switch connecting it to the mains, or by removing the plug if it is accessible;Aovids appearing the electric shock;
◎ Unscrew the glass cover attached to the lamp holder;
◎ Pull out the lamp and replace it with another high-temperature lamp (300℃) with the following characteristics:
– Voltage: AC230V
– Wattage: 25W
– Socket: G9

◎ Remount the glass cover and reconnect the appliance to the power supply.
WARNING: Ensure that the appliance is switched off before replacing the lamp to avoid the possibility of electric shock.
Warning: Do not operate appliance with damaged cord or plug or after the apliance malfunctions, or has been damaged in any manner, return appliance to the nearest Authorized Service Center for exanmination.
Repair, or adjustment!
The following maintenance should by Authorized Service Center or similarly qualified persons in order to avoid a hazard!
The appliance must not be installed behind a decorative door in order to avoid overheating.
Fitting the Grill Rack
– Ensure shelf orientation is correct (refer picture on right)
– Slide into oven at angle until raised back of shelf is past the stop on side runners.
– Lower front of shelf and push in until stop is reached.
– To remove oven shelves, withdraw to the stop and raise the front of shelf to clear the stop.

Cleaning the oven door
To make it easier to clean the inside of your oven, the oven door can be removed, by proceeding as follows (fig. 1-2):
- Open the door completely and lift the 2 levers “B” (fig.1);
- Now, shutting the door slightly, you can lift it out by pulling out the hooks “A” as shown in figure 2.
To reassemble the door: - With the door in a vertical position, insert the two hooks “A” into the slots;
- Ensure that seat “D” is hooked perfectly onto the edge of the slot (move the oven door backwards and forward slightly);
- Keep the oven door open fully, unhook the 2 levers “B” downwards and then shut the door again.

This product must not be disposed together with the domestic waste. This product has to be disposed at an authorized place for recycling of electrical and electronic appliances.
By collecting and recycling waste, you help save natural resources, and make sure the product is disposed in an environmental friendly and healthy way.
Fastening the oven
Insert the appliance into the compartment; open the oven door and fasten the oven to the cabinet using the four screws “A”, remembering to place the special spacers provided between the hole and the screw itself.

Installation
Important: the power supply to the appliance must be cut off before any adjustments or maintenance work is done on it.
Installation of Built-in Ovens
To ensure the proper working order of the built-in appliance, the kitchen unit must be of a suitable size.
The sizes of the unit for installing the cooker under a worktop or in a column unit are shown in figure.

To provide adequate ventilation, there must be appropriate ventilation openings in the front bottom and the top part of 200 cm2 , and an exhaust opening on the bottom of an least 200 cm 2 , and an exhaust opening of at least 60 cm2 .
The unit panels next to the cooker must be heat resistant. In the case of veneered wood units, glues must be resistant to a temperature of 120℃.
In accordance with safety standards, once the appliance has been mounted, there must be no possible contact with electrical parts. Any protective parts must be secured so that they can only be removed with the use of tools.
Electrical connection
Ovens equipped with a three-power supply cable are designed to operate with alternating current at the voltage and frequency indicated on the data plate located on the appliance (see below).
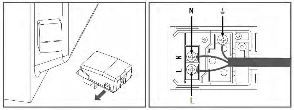
Fitting the power supply cable
- Open the terminal board by inserting a screwdriver into the side tabs of the cover. Use the screwdriver as a lever by pushing it down to open the cover (see diagram).
- Install the power supply cable by loosening the cable clamp screw and the three wire contact screws LNConnect the wires to the corresponding terminals: the Blue wire to the terminal marked (N),the Brown wire to the terminal marked (L) and the Yellow/Green wire to the terminal marked (see diagram).
- Secure the cable by fastening the clamp screw.
- Close the cover of the terminal board.

Connecting the electricity supply cable to the mains
- Cable must be connected to power supply cable through power switch.
- Rated current of power switch must be higher than 16A.
- Ambient temperature of power supply cable cannot exceed 50 degrees.
- Once oven is installed, power switch should be cut off easily.
- The cable must not be bent or compressed.
- The cable must be checked regularly and replaced by authorised technicians only (see Assistance).
The disconnection may be achieved by having the plug accessible or by incorporating a switch in the fixed wiring in accordance with the wiring rules.
Safety Is A Good Habit To Get Into
◎ This appliance is designed for non-professional, household use and its functions must not be changed.
◎ The electrical system of this appliance may be used safely only when it is correctly connected to an efficient
earthing system in compliance with the safety standards currently in effect.
◎ The manufacturer will not be held liable for any damages that might arise out of incorrect installation or improper, incorrect or unreasonable use of the appliance.
The following items are potentially dangerous, and, therefore, appropriate measures must be taken to prevent children and the disabled from coming into contact with them:
– Controls and the appliance in general;
– Packaging (bags, polystyrene, nails, etc.);
– The appliance immediately after use of the oven or grill due to the heat generated;
– The appliance when no longer in use (potentially dangerous parts must be made safe).
Avoid the following:
– Touching the appliance with wet parts of the body;
– Using the appliance when barefoot;
– Pulling on the appliance or the supply cord to unplug it from the electrical outlet;
– Obstructing the ventilation or heat dissipation slots;
– Allowing power supply cords for small appliances to come into contact with the hot parts of the appliance;
– Exposing the appliance to atmospheric agents (rain, sun);
– Using the oven for storage purposes;
– Using flammable liquids near the appliance;
– Using adaptors, multiple sockets and/or extension cords;
– Attempting to install or repair the appliance without the assistance of qualified personnel.
WARNING- Accessible parts will become hot when in use. To avoid burns and scalds children should be kept away
During use the appliance becomes hot, Care should be taken to avoid touching heating elements inside the oven.
Qualified personnel must be contacted in the following cases:
– Installation (following the manufacture’s instructions);
– When in doubt about operating the appliance;
– Replacing the electrical outlet when it is not compatible with the plug for the appliance.
Service Centres authorized by the manufacturer must be contacted in the following cases:
– If in doubt about the soundness of the appliance after removing it from the packaging;
– If the power supply cord has been damaged or needs to be replaced;
– If the appliance breaks down or functions poorly; ask for original spare parts.
It is a good idea to do the following:
– Only use the appliance to cook food, nothing else;
– Check the soundness of the appliance after it has been unpacked;
– Disconnect the appliance from the electrical mains if it is not functioning properly and before cleaning or performing maintenance;
– When the appliance is not used for an extended period of time, cut off the supply of power and close the gas cock (it present);
– Use cooking gloves to place cookware in the oven or when removing it;
– Always grasp the oven door in the centre because the ends may be hot due to the escape of hot air;
– Make sure that the control knobs are on the “o”setting when the appliance is not in use;
– Cut the power supply chord after disconnecting it from the mains when you decide not to use the appliance any longer.
The manufacturer may not be held responsible for any damage due to: incorrect installation, improper, incorrect and irrational use.
During operation, the oven glass door and adjacent parts of the appliance become hot. Make sure, therefore, that children do not touch the appliance.
WARNING: The appliance and its accessible parts become hot during use. Care should be taken to avoid touching heating elements.
This appliance is not intended for use by persons (including children) with reduced physical, sensory or mental capabilities, or lack of experience and knowledge, unless they have been given supervision or instruction concerning use of the appliance by a person responsible for their safety.
Cleaning and user maintenance shall not be made by children.
Children should be supervised to ensure that they do not play with the appliance.
For greater safety, an additional child-safety device is available from our Head Office and our Authorised Service Centres (see enclosed list). When ordering this, please give the code: BAB-followed by the appliance model. The model is stamped on the plate which is visible on the front part of the oven upon opening the door. Disassembling/assembling the oven door
Oven structure
The Open space oven has a capacity of 100 litres and offers users the option of cooking on 6 shelves at the same time or cooking large quantities which would not necessarily be possible in a traditional oven.
! The first time you use your appliance , heat the empty oven with its door closed at its maximum temperature for at least half an hour . Make sure that the room is well ventilated before switching the oven off and opening the oven door .The appliance may emit a slightly unpleasant odour caused by protective substances used during the manufacturing process burning away.
!Never put objects directly on the bottom of the oven ; this will prevent the enamel coating from being damaged.
! Always place cookware on the rack (s) provided.
! We suggest not opening the door when cooking foodstuffs which require leavening , so as to not compromise cooking results.
Close-up View

A. Control Panel
B. Knob for selecting the cooking features.
C. Knob for adjusting the cooking temperature.
D. Timer
E. Function of light – When the light is on, it indicates that the oven is heating. It will turn off when the temperature setting has been reached.
F. Glass oven door
G. Power light
How To Use Your Appliance
The"Maxioven"oven combines in a single appliance the advantages of traditional convection ovens with those of modern forced air ventilation ovens. It is an extremely versatile appliance that allows you to easily and safely choose between 9 different cooking modes. The selection of the various functions can be obtained by putting the programmer to the manual position or setting a beginning/end of cooking program (see specific chapter on page 5)and successively by turning the selector (B) and thermostat (C) knobs on the control panel.
You can choose all the functions:

Oven light ![]()
When the selector knob is in any position other than the “0”position, the oven light comes on.
Attention: The first time you use the oven we recommend that you set the thermostat on the highest setting and leave the oven on for about a half an hour with nothing in it. Then, open the oven door an let the room air. The odour that is often detected during this initial use is due to the evaporation of substances used to protect the oven during storage and until is installed.
To thaw![]()
Select this function to thaw more delicate foods. In this mode you use only the cold air circulation.
The thermostat light (E)
This indicates that the oven is heating up. When the light goes out, the required temperature has been reached.
When the light alternately comes on and goes out, it means that the thermostat is working properly to maintain the oven temperature.
Maxi grill、![]()
Important: do not the thermostat knob (C) to over 200℃. During grilling, keep the oven door closed. Both of the heating elements of the grill are activated. For more intensive grilling, select this function.
Ventilation Mode![]()
Set the thermostat knob (C) between 50℃ and 250℃. The circular heating element and the fan will come on. Since the heat remains constant and uniform throughout the oven, the air cooks and browns food uniformly over its entire surface. With this mode, you can also cook various dishes at the same time, as long as their respective cooking temperatures are the same. A maximum of 2 rack levels can be used at the same time. This cooking mode is ideal for au gratin dishes or those which require an extended cooking time.
Moreover, the excellent heat distribution makes it possible to use lower temperatures when cooking roasts. This results in less loss of juices, meat which is more tender and a decrease in the loss of weigh for the roast. The ventilated mode is especially suited for cooking fish, which can be prepared with the addition of a limited amount of condiments, thus maintaining their flavour and appearance. The ventilated mode can also be used to thaw white or red meat, fish and bread by setting the temperature to 80℃-100℃
Lower heating element![]()
Set the thermostat knob (C) between 50℃ and 250℃. By turning the knob to this position. The oven light and lower heating element come on.
This position is recommended for finishing the cooking of food (in baking trays) which is already superficially well-cooked but still soft inside.
Convection Mode![]()
Set the thermostat knob (c) between 50℃ and 250℃.
The outer heating elements at both the top and the bottom of the oven will come on. The heat is distributed uniformly from top to the bottom. The convection mode is recommended for preparing meat-based dishes featuring of liquids. It still remains the best cooking mode for dry pastries and fruit in general. When cooking in convection mode, only use one dripping-pan or cooking rack at a time, otherwise the heat distribution with be uneven. Select from among the various rack heights based on the whether the dish needs more or less heat from the top or bottom.
Ventilated convection Mode![]()
Set the thermostat knob (c) between 50℃ and 250℃.
The outer heating elements at both the top and the bottom of the oven are activated, as well as the fan. Based on the convection model, This combination of features increases the effectiveness of the thermal radiation of the heating elements through forced air circulation of the air throughout the oven. This helps prevents foods from burning on the surface, allowing the heat to penetrate into the food.
Ventilated Grill、![]()
Important: do not set thermostat knob (C) to over 200℃. During grilling, keep the oven door closed. All grill components and fan work. In this setting, the central heating elements of the top work. This combination of features compulsory in the air in the oven for the entire cycle of increased non-direct heating elements heat radiation effect. This will allow the heat to penetrate the internal food, and avoid food surface Charred.
Ventilated Maxi grill、![]()
Important: do not the thermostat knob (C) to over 200℃. During grilling, keep the oven door closed. Both of the heating elements of the grill are activated, as well as the fan and all grill components. This combination of features increases the effectiveness of the thermal radiation of the heating elements through forced air circulation of the air throughout the oven. This helps prevents foods from burning on the surface, allowing the heat to penetrate into the food.
Grill、![]()
Important: do not set thermostat knob (C) to over 200℃. During grilling, keep the oven door closed. Food is cooked in the grill by the downward thermal rays produced by an incandescent electric heating element. The high, direct grill temperature immediately browns meat, thus stopping juice dispersion and keeping meat more tender. The grill is particularly recommended for cooking dishes requiring a high superficial temperature.
Gentle pastry oven
Set the thermostat knob (C) between 50℃ and 250℃. The lower heating element and the fan come on. This setting is ideal when cooking delicate foods, especially pastries that need to raise, because the heat rising from the bottom facilitates leavening. Please note that with this feature it takes a rather long time to reach higher temperatures in the oven. Therefore, if high temperatures are needed, we recommend that you use the " Conventional"setting.
INSTRUCTIONS FOR USE OF CONTROL DEVICES
- Timers
Our ovens are fitted with different types of timers (some with mechanical time and the others with electronic timer), The following function for your reference according to your oven. - MINUTES COUNTERS
Turn the knob clockwise to set the desired cooking time.
The minutes minder can be adjusted from 1 to 12minutes. A sound signal will inform you that the chosen time is up (Fig. 13).

Practical Cooking Advice
Preheating
If the oven must be preheated (generally this is the case when cooking leavened foods) the "Ventilation mode"as possible in order to save on energy.
Once the food has been placed in the oven. The most appropriate cooking mode can then be selected. Using the grill
The Multifunction oven offers you three different grilling modes Use the "Grill"setting for grilling in perfect mode small portions like toasted sandwiches, hotdogs, etc., to perfection.
The "Maxigrill"position is the best for grilling foods rapidly. For a better distribuction of heat, not only to brown the surface but also to cook the bottom part, select "Ventilated Maxigrill"function.
This mode can also be used for browning foods at the end of the cooking process.
Important: always use the grill with the oven door closed. This will allow you both to attain excellent results and to save energy
When using any of the three grilling modes , it is recommended that the thermostat knob be turned to the 175℃, as it is the most efficient way to use the grill (which utilizes infrared rays).
If necessary, however, the thermostat can be set to lower temperatures by simply turning the knob to the desired setting.
When utilizing the grill, place the rack at the lower levels (see cooking table). To catch grease or fat and prevent smoke, place a dripping-pan at the bottom rack level.
Baking pastries
When baking pastries, always place them in the oven after it has been preheated. Make sure you wait until the oven has been preheated thoroughly (the red "E"light will turn off). Do not open the door while the pastry is cooking in order to prevent it from dropping.
Batters must not be too runny, as this will result in prolonged cooking times. In general:
Pastry is too dry
Increase the temperature by 10℃ and reduce the cooking time.
Pastry dropped
Use less liquid or lower the temperature by 10℃
Pastry is too dark on top
Place it on a lower rack, lower the temperature, and increase the cooking time.
Cooked well on the inside but sticky on the outside
Use less liquid, lower the temperature, and increase the cooking time.
The pastry sticks to the pan
Grease the pan well and sprinkle it with a dusting of flour.
I used more than one level and they are not all at the same cooking point
Use a lower temperature setting. It is not necessary to remove the food from all the racks at the same time.
Cooking Pizza
For best results when cooking pizza use the "Ventilation mode":
- Preheat the oven for at least 10 minutes;
- Use a light aluminium pizza pan, placing it on the broiler supplied with the oven. If the dripping-pan is used, this will extend the cooking time, making it difficult to get a crispy crust;
- Do not open the oven door frequently while the pizza is cooking;
- If the pizza has a lot of toppings (three of four), it is recommended that the mozzarella cheese be placed on top halfway through the cooking process;
Cooking Fish and Meat
Meat must weigh at least 1 Kg in order to prevent it from drying out. When cooking white meat, fowl and fish, use low temperature settings (150℃-220℃). For red meat that should be well done on the outside while tender and juicy in the inside, it is a good idea to start with a high temperature setting (200℃-220℃) for a short time, then turn the oven down afterwards. In general, the larger the roast, the lower the temperature setting. Place the meat on the centre of the rack and place the dripping pan beneath it to catch the fat.
Make sure that the rack is inserted so that it is in the centre of the oven. If you would like to increase the amount of heat from below, use the low rack heights. For savory roasts (especially duck and wild game), dress the meat with lard or bacon on the top.
STATIC OVEN COOKING
| Type of dish | Temperature | Cooking time | Type of dish | Temperature | Cooking time |
| Pastries and cakes | (°C) | minutes | Meat | (°C) | hours |
| Fruit pie | 130 | 60-70 | Turkey (4-8 kg) | ||
| Meringues | 130 | 30-40 | Goose (4-5 kg) | ||
| Sponge cake | 150 | 20-30 | Duck (2-4 kg) | ||
| Angel cake | 160 | 40-50 | Capon (2 1/2-3 kg) | ||
| Madeira cake | 160 | 40-50 | Braised beef (1-1 1/2 kg) | ||
| Chocolate cake | 170 | 30-40 | Leg of lamb | ||
| Flat sweet loaf | 170 | 40-50 | Roast hare (2 kg) | ||
| Puffs | 200 | 15-20 | Roast pheasant | ||
| Flaky pastry biscuits | 200 | 15-20 | Chicken(1-1 1/2 kg) | ||
| Mille feuilles | 200 | 15-20 | Minutes | ||
| Short pastry | 200 | 15-20 | Fish | 200 | 15-25 |
Grilling
| Type of dish | Cooking time (minutes) | Position of shell |
| Chops (0.5 kg) Sausages Grilled chicken (1 kg) Veal on the spit (0.6 kg) Chicken on the spit (1 kg) | min. 25 min. 15 min. 60 min. 60 min. 60 | 3rd guide rail 2nd guide rail 1st guide rail – – |
Cooking times may vary according to the nature of the foods, their homogeneity and their volume. When cooking a certain food for the first time, it is advisable to choose the lowest values in the cooking time range given in the table and then increase them if necessary.
The 1st guide rail is understood as being the lowest position.
USEFUL NOTES FOR COOKING
In the following table, some indicative hints for cooking:
| FAULTS | CAUSES | REMEDIES |
| The upper crust is dark and the lower part too pale | Not enough heat from the bottom | – Use the natural convection position – Use deeper cake tins – Lower the temperature – Put the cake on a lower shelf |
| The lower part is dark and the upper crust too pale | Excessive heat from the bottom | – Use the natural convection position – Use lower side tins – Lower the temperature – Put the cake on a higher shelf |
| The outside is too cooked and the inside not cooked enough | Too high temperature | – Lower the temperature and increase the cooking time |
| The outside is too dry even though of the right color | Too low temperature | – Increase the temperature and reduce the cooking time. |
Technical Specifications
| Electric oven size: Oven size Width Depth Height | Ltres 100 mm. 675 mm. 425 mm. 347 |
Powers absorbed in accordance with models
| Accessories according to models | |||||
| Oven lower heating el. | 1300Watt | Medium grill hearting el. 2000 Watt | synchromotor | 4 Watt | |
| Oven upper heating el. | 1050Watt | Total grill heating el. | 1050+2000 Watt | Shaded motor (back) | 33 Watt |
| Oven light | 15Watt | Circle heating el. | 2800Watt | Shaded motor (top) | 25 Watt |
Voltage end frequency: 220-240V,50-60Hz
Power supply Max: 2800W(220V)-3400W(240V)-

Pronto Service + Support: 1800 440 335
Email: [email protected]
HEAD OFFICE
65 Glynburn Road, Glynde SA 5070
Ph: 08 8165 1012
www.euroappliances.com.au

















