Husky HB4500/ HB4500R/ HB3000 Brute Electric Jack User Manual
Read and follow all instructions. If you do not understand the proper use of the product, ask your dealer/installer for assistance. Never remove any warning decals from the product.
Specifications:
| Models Applicable | HB4500; HB4500R; HB3000 |
| Maximum Lift Capacity | 4,500 lb / 3,000 lb (continuous use) |
| Retracted Height | 31-3/8 |
| Vertical Travel | 18” |
| Power Requirements | 12 Volt DC |
| Outer Tube Diameter | 2¼” |
| Power Cord Length | 6 ft of #10 Gauge Wire |
| Foot Pad Diameter | 5½” |
| LED Work Lights | On 3 sides for Easy Nighttime Hookups |
| Shipping Weight | HB4500 & HB4500R – 29 lb; HB3000 – 27½ lb |
Tools and Components Required:
- A-Frame Coupler with Lower Support Plate
- Three (3) Grade 5, 1–1½” Long, 3/8”-16 UNC Bolts
- Three (3) 3/8” Flat Washers
- Three (3) 3/8” Star Washers (included)
- 9/16” Wrench
- Torque Wrench
- Wire Cutters
- Wire Strippers
- Crimpers OR Soldering Iron
![]()
Warning: Keep hands, feet and body clear of the jack and trailer to avoid the risk of injury or death!

Installation
![]()
Warning: Before installation, compare the lift capacity of the Husky® Brute with your trailer to ensure safe operation of the jack.
- Park the trailer on a level surface and block the wheels.
- Support the trailer tongue by the frame with jack stands.
- If replacing an old jack, remove the old jack from the coupler, saving the washers and bolts.
- Insert the Husky® Brute into the jack hole and align the bolt holes so the motor housing is facing forward as shown in Figure 1.
- Secure the jack with three (3) grade 5, 3/8”-16 UNC bolts and washers. Place the star washers between the flat washers and the mounting plate as shown in Figure 1. The star washers are intended to penetrate through the paint on the mounting plate to ensure direct metal to metal contact. Bolts should be tightened to 15–20 ft•lb.
Tip: The salvaged bolts from the old jack are acceptable for reuse if they are grade 5 and in good condition. - If a lower support plate is not already present, install one in the bottom of the trailer frame. Do not operate the jack without a lower support plate.
- Install the manual reset circuit breaker by either crimping or soldering one of the wires to the jack lead (Black). Connect the other wire to the positive terminal of the battery. The breaker should be located as close to the battery as possible and stored inside the battery box. Since the jack is internally grounded, a ground wire is not necessary.
![]()
Warning: When using an extension wire, DO NOT use a wire smaller than #10 gauge.
Operation
- Park your trailer on a level surface and block all dolly and trailer wheels.
Tip: For nighttime hookups, flip the light switch ON to illuminate your work area. - Before operating the jack, attach the foot with the 3/8” safety lock pin provided.
Warning: Do not stack blocks under the jack’s foot to increase the height. Stacked blocks may become unstable and fall. - Extend the jack by pushing the operating switch UP. (With the HB4500R, you can press the UP button on the remote control – see page 2 for remote control instructions.)
Warning: Under heavy use, the internal circuit breaker may open, causing the motor to switch off. In this case, release the operating switch, and wait 15 seconds for the breaker to reset before resuming operation. - Retract the jack by pushing the operating switch DOWN. (With the HB4500R, you can press the DOWN button on the remote control – see page 2 for remote control instructions.)
Note: The jack will stop automatically at the end of the extension or retraction stroke. If you attempt to extend or retract the jack and it does not respond, it may be at the end of the stroke. If the jack fails to respond, try operating it in the opposite direction. If it will not operate in either direction then see the troubleshooting guide. - Before driving, remove the foot or position it in the highest position and completely retract the jack.
Manual Operation (for Back-Up & Emergency Use)
- Disconnect the jack from the power source. (Failure to disconnect the power could result in serious injury.)
- Remove the rubber access covers on the top of the jack and on the side of the motor cover.
- Insert the manual crank handle into the access hole on the top of the jack, engaging the drive screw.
- While holding the crank firmly in place, install the brake release handle on the brake lever and pull forward, releasing the brake.
Warning: Always install the crank handle and hold it firmly in place before releasing the brake on a loaded jack. Due to the Husky® Brute’s low-friction ball screw, if the crank is not held firmly in place, the jack may run away and the crank may spin dangerously when the brake is released. - Rotate the manual crank handle counter-clockwise to extend the jack, and clockwise to retract it.
- When the jack is at the desired height, first re-engage the brake then remove the crank and brake release handle. Replace the rubber covers.
Remote Control
Before using remote control, you must press the ON button.
Press the UP button to extend the jack (raise the trailer).
Press the DOWN button to retract the jack (lower the trailer).
![]()
Warning: Always press the OFF button and slide the cover up when not in use to lock the jack in place and prevent accidental operation. Disconnect the jack from the battery if the unit is not in use, to avoid discharging the battery. If it is the only draw on the battery, the remote receiver can drain a fully-charged battery within 3 months.
If your battery becomes weak, the jack will extend more slowly, and the low voltage protection feature will eventually cause it to stop operating. It will be necessary to recharge the battery; then operate the jack in the opposite direction, at least momentarily, before you can continue to extend the jack.
This device complies with part 15 of the FCC Rules. Operation is subject to the following two conditions: (1) This device may not cause harmful interference, and (2) this device must accept any interference received, including interference that may cause undesired operation.
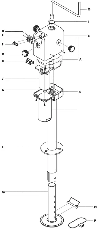
Replacement Parts

See www.huskytow.com for warranty information & technical support

Maintenance
Due to the design of the Husky® Brute’s low-friction ball screw, the inner assembly of the jack does not require regular lubrication. But to keep your jack in good, functional condition, fully extend the jack and clean the inner jack tube once per year. After cleaning, coat the tube with a light grease or silicone spray lubricant.
Trouble Shooting
Problem: Motor isn’t operating.

Problem: Crank handle won’t turn during manual operation.

Husky HB4500/ HB4500R/ HB3000 Brute Electric Jack User Manual – Download [optimized]
Husky HB4500/ HB4500R/ HB3000 Brute Electric Jack User Manual – Download


















