AS BOLD AS YOU ARE
BLACKOUT – JACKS
OPERATING MANUAL
WARNING
Carefully read and understand all the instructions before connecting your new Jack. Failure to follow these guidelines may result in serious injury to persons and property for which Blackout will not be held liable. Do not allow persons to operate or assemble this jack until they have read this manual and have developed a thorough understanding of how the jack works.
SAVE THESE INSTRUCTIONS
IMPORTANT SAFETY INFORMATION
Failure to heed these markings may result in personal injury and/or property damage:
- DO NOT leave your trailer freestanding without the use of wheel chocks.
- DO NOT submerge the jack in water (salt or fresh) or leave it in water for prolonged periods, since this can damage the gears and erode lubricants.
- Carefully read all instructions. The operator of the jack must exercise common sense, caution, and full judgment when assessing situations not covered or cautioned in this manual.
- The Blackout Jack is designed for specific applications only. Blackout will not be responsible for issues arising from modifications made onto the device. Do not modify the device or use the device for any application other than its intended purpose. Do not exceed the designated weight limits.
- As with all devices with moving parts, do not wear excessively loose clothing as it may become caught, resulting in injury. Tie back and secure long hair.
- This product must be installed and used in strict accordance with these instructions.
- Before each use of the Blackout Jack, check for damaged parts. Carefully inspect the device for any part that appears to be damaged to determine if the device will operate properly. Check for alignment and secure mounting of all moving parts. If the device is neither aligned, secured or both: DO NOT use the device.
- When servicing, use only factory replacement parts.
- Have wheel chocks in place before/after use and ready in case of emergency.
- Never exceed the maximum rated capacity. Refer to the specifications section of this operating manual or decals on the product to obtain rated capacity. If uncertain, contact Customer Support at (844) 846-9344.
- The Blackout Jack is designed for vertical loading. Excessive side forces may cause failure and must be avoided.
12. The use of gloves is recommended while attaching the device to the trailer.
13. The Blackout Jack is only to be installed on trailer tongues that are rectangular in profile.
Cylindrical tongues are not compatible with the jack as it will rotate, allowing the trailer to drop.
SAVE THESE INSTRUCTIONS
OVERVIEW
SPECIFICATIONS
| PART # | CAPACITY | GEAR RATIO | MOUNT TYPE |
| BSJBSW06 | 5K lbs – Side Wind | 3:4 | Pipe Mount Bracket |
| BSJBSW08 | 7K lbs – Side Wind | 3:4 | Bracket Mount |
| BSJBSW15 | 5K lbs – Side Wind | 3:4 | Pipe Mount Bracket |
| BSJBTW14 | 5K lbs – Top Wind | 1:1 | Pipe Mount Bracket |
| BSJCSW13 | 2K lbs – Side Wind | 1:1 | Circle Frame Center Mount |
| BSJCSW17 | 5K lbs – Side Wind | 3:4 | Circle Frame Center Mount |
| BSJCTWO5 | 2K lbs – Top Wind | 1:1 | Circle Frame Center Mount |
| BSJCTW18 | 5K lbs – Top Wind | 1:1 | Circle Frame Center Mount |
| BSJPSW02 | 2K lbs – Side Wind | 1:1 | Welded Pipe Mount |
| BSJPSWO4 | 2K lbs – Side Wind | 1:1 | Welded Pipe Mount |
| BSJPSW07 | 5K lbs – Side Wind | 3:4 | Welded Pipe Mount |
| BSJPSW10 | 7K lbs – Side Wind | 3:4 | Welded Pipe Mount |
| BSJPSW16 | 5K lbs – Side Wind | 3:4 | Welded Pipe Mount |
| BSJPTW12 | 2K lbs – Top Wind | 1:1 | Welded Pipe Mount |
| BSJSSWO1 | 2K lbs – Side Wind | 1:1 | Swivel Mount |
| BSJSSW11 | 2K lbs- Side Wind | 1:1 | Swivel Mount |
| BSJSTWO3 | 2K lbs – Top Wind | 1:1 | Swivel Mount |
| BSJWSWO9 | 7K lbs- Side Wind | 3:4 | Direct Weld |
Contact Blackout Customer Service at: 1-844-846-9344Upon removing items from packaging, it is very important to thoroughly inspect all parts of the system before using the device. Any part that is missing or damaged must be immediately replaced.
ITEMS SOLD SEPARATELY:
– Drop Leg Attachment
– Castor Wheel Attachment
WHAT’S IN THE BOX:

ATTACHMENTS:

PIPE MOUNT BRACKET KIT

ASSEMBLY
Prior to installation, raise the trailer tongue until you have adequate space to attach the jack. The unit must be attached while the weight of the trailer is supported by existing support or tow vehicle. Having wheel chocks in place during connection will insure a safe install.
It is recommended that you make sure the jack will have the necessary clearance from the ground to operate and rotate into the stow position.
The trailer should be high enough so that the jack is at least 1 inch off the ground at this stage of installation. If the jack is not high enough, adjust the trailer height or mounting bracket and test again.
PIPE MOUNT INSTALLATION
STEP 1. The mounting bracket has 7 holes to fit a variety of trailer frames. Have a tongue clearance of at least 13 inches off the ground before installing the bracket. Set aside 8 inches of space on the tongue for the mounting bracket.

STEP 2.
A) Place the mounting bracket and clamps onto the area of the tongue you designated in Step 1, and secure onto the tongue with 4 bolts, each bolt having one washer, one spring washer and one nut. Do not completely tighten the bolts yet.
NOTE: While it is recommended that the bracket is installed with the attachment point in the low position for stability, the bracket can be flipped prior to installation if needed.
B) Attach the jack to the mounting bracket in the vertical position and check the height.
C) Evenly and firmly tighten the 4 bolts.
STEP 3. Set the stow pin to secure the jack and set the cotter pin to secure the stow pin.
STEP 4. The jack mount bracket comes with a security bolt that is an option to secure the device. If you choose to use it, the bolt slots through the back of the mounting bracket and threads into the attachment point of the jack.

WELDED PIPE MOUNT INSTALLATION
See PIPE MOUNT INSTALLATION.
Have welded in the location of your choosing. Ensure there is adequate room to place the jack into the stow position. Have an inner cylinder of attachment point welded to the vertical center of an unpainted section of your trailer frame.
DIRECT WELD INSTALLATION
Have welded in the location of your choosing.
Have inner cylinder of the attachment point welded to the vertical center of an unpainted section of your trailer frame.
BRACKET MOUNT INSTALLATION
See PIPE MOUNT INSTALLATION Steps 1-2.
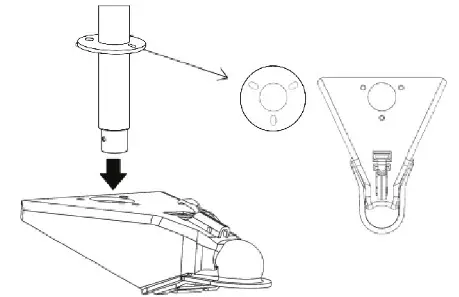
CIRCLE FRAME CENTER MOUNT
INSTALLATION
STEP 1. With the footplate detached, drop the jack into the hole located in the trailer’s coupler. Note that the support plate on the jack has one point that is flattened. This the corner should face forward, toward the front of the coupler.
STEP 2. You can now fit the jack to the coupler. Bolt sizes are specific to your coupler and are not included with your Blackout Series Jack purchase. Alternatively, the center
jack can also be welded for a more permanent attachment to the trailer.
SWIVEL MOUNT INSTALLATION
Place the mounting bracket onto an 8-inch clearing on your frame where the jack can freely rotate from its vertical position to its horizontal stow position. Secure with the four
included bolts at the desired height.

WARNING The mounting bracket is only to be installed on trailer frames that are rectangular in profile. Cylindrical frames are not compatible with the mount bracket.
STORING THE DEVICE
After use, lower your jack until your trailer frame sits level. If storing, ensure that the trailer frame is jacked to level height. Alternatively, the jack’s stow position will allow it to remain attached to the trailer while being towed. To stow the unit, secure the trailer to a tow vehicle then crank the jack handle until the inner jack tube is fully withdrawn and choose between the following two options:
Stowing the Pipe Mount/Bracket Mount
Remove the cotter and clevis/stow pin and rotate the unit 90 degrees. Restore the clevis and stow pins while the unit remains attached to the mounting bracket.

Stowing the Swivel Mount
Pull the set pin by the ring away from your trailer frame and rotate the unit 90 degreeRelease the pin and the Jack will lock into place.

WARNING Failure to lock in the pins and bolt prior to trailering with the unit in the stowed position may result in the unit becoming dislodged during movement.
LIMITED MANUFACTURER’S WARRANTY
Supertech S Corp warrants for one year from the purchase date that the product will be in working condition and will be free from manufacturing defects, provided that installation and use of the product is in accordance with product instructions. This warranty is only made to the original consumer purchaser and is non-transferable.
ALL OTHER WARRANTIES IMPLIED OR EXPRESSED ARE HEREBY DISCLAIMED.
THIS WARRANTY DOES NOT COVER:
- Normal wear and tear or normal aging of the product;
- Consumable parts designed to diminish over time unless failure occurred due to a manufacturing defect;
- Cosmetic damage, including but not limited to scratches and dents;
- Damage through accident, abuse, neglect, misuse, natural events, or other external causes;
- Damage through misapplication, overloading, or improper installation;
- Damage due to improper maintenance and repair; and/or
- Product alterations.
LIMITATION OF LIABILITY:
EXCEPT AS PROVIDED IN THIS WARRANTY AND TO THE MAXIMUM EXTENT PERMITTED BY LAW, SUPERTECH IS NOT RESPONSIBLE FOR ANY DIRECT, INCIDENTAL, CONSEQUENTIAL DAMAGES, OR INJURIES RESULTING FROM ANY BREACH OF WARRANTY OR CONDITION; INCLUDING, BUT NOT LIMITED TO, LOSS OF USE, LOSS OF REVENUE, LOSS OF ACTUAL OR ANTICIPATED PROFITS, LOSS OF BUSINESS, LOSS OF OPPORTUNITY, LOSS OF GOODWILL, LOSS OF REPUTATION, OR ANY DIRECT, INDIRECT, OR CONSEQUENTIAL LOSS OR DAMAGE WHATSOEVER CAUSED, INCLUDING THE REPLACEMENT OF EQUIPMENT AND PROPERTY.
CUSTOMER RESPONSIBILITIES:
Customers may be required to provide proof of purchase date, respond to questions designed to assist with diagnosing potential issues, and follow Blackout’s directions to make a claim on your warranty.
TO MAKE A WARRANTY CLAIM:
Contact us:
PHONE: (844) 846-9344
THE TRAILER VALET SHALL HAVE THE EXCLUSIVE RIGHT TO DETERMINE IF A UNIT IS COVERED UNDER ITS LIMITED MANUFACTURER’S WARRANTY.
SEVERABILITY:
The invalidity, illegality, or unenforceability of any provision of this warranty shall not render the other provisions invalid, illegal, or unenforceable.
GOVERNING LAW AND JURISDICTION
This warranty shall be governed by the laws of the State of California. The courts of California shall have the exclusive right to adjudicate any disputes arising under or in connection to this warranty.
Copyright 2021 by Supertech S. Corporation. All rights reserved. No portion of this manual or any artwork contained herein may be reproduced in any shape or form without the express written consent of Supertech S. Corporation.

For further information or if you have any questions, please contact:
SUPERTECH S. CORP.
Customer Service: (844) 846-9344


















