MKT1027 Gymnastics Walls
User Guide
MKT1027 Gymnastics Walls
IMPORTANT – READ FIRST
Resistance training, gymnastics training and activities at height are potentially dangerous and may lead to severe injury or even death. This equipment must only be used by competent and responsible persons, or under the direct and visual control of a competent and responsible person. Use common sense when training, obtain instruction to ensure safe execution of movements.
Obtaining instruction in appropriate techniques and methods of use is your own responsibility. You assume all risks and responsibilities for all damage injury or death which may occur during or following incorrect use of this equipment in any matter whatsoever. Alpha Fit bears no liability beyond the replacement value of the equipment in question.
It is the responsibility of the owner to ensure that all users of this product are adequately informed of all precautions. The safety and integrity designed into the equipment can only be maintained when it is regularly examined for damage and repaired. It is the responsibility of the user/owner to ensure that regular maintenance is performed. Inspect and properly tighten all parts regularly. Replace any worn or damaged parts immediately and do not use until the equipment has been repaired.
Both Alpha Fit and buyer disclaim any express or implied warranty, including, without limitation, warranties or merchantability and/or fitness for a particular purpose with respect to the equipment.
WARNING: MISUSE OF THIS EQUIPMENT CAN RESULT IN SEVERE INJURY OR DEATH. BUYER ASSUMES ALL LIABILITY IN USAGE OF EQUIPMENT.
DOCUMNET NO: MKT1027
COMPONENT OVERVIEW
GYMNASTICS WALL PART LIST:
INCLUDED FASTENERS:
| 16 × A | 8 × B | 32 × C |
![]() | ![]() | |
| M12 × 100mm Hex Zinc Plated Bolt | M24 × 130mm Hex Zinc Plated Bolt | M12 Zinc Plated Flat Washer |
| 16 × D | 16 × E | 8 × F |
![]() | ![]() | ![]() |
| M24 Zinc Plated Flat Washer | M12 Nyloc Zinc Plated Nut | M24 Nyloc Zinc Plated Nut |
| REQUIRED TOOLS: | RECOMMENDED TOOLS: |
| • Socket Spanner • 2 × 19mm & 36mm Sockets | • Level • Ladder • Tape measure • Anchors • Concrete drill • Impact driver |
Read this entire guide before attempting to build or use this machine. This guide contains step by step instructions for proper assembly.
AlphaFit recommends a minimum of two (2) people to assemble the Gymnastics Wall.
Use the parts list included in this guide to verify that all parts are accounted for before assembly. If any parts are missing, contact AlphaFit on 1300 257 428 or [email protected].
GYMNASTICS WALL ASSEMBLY
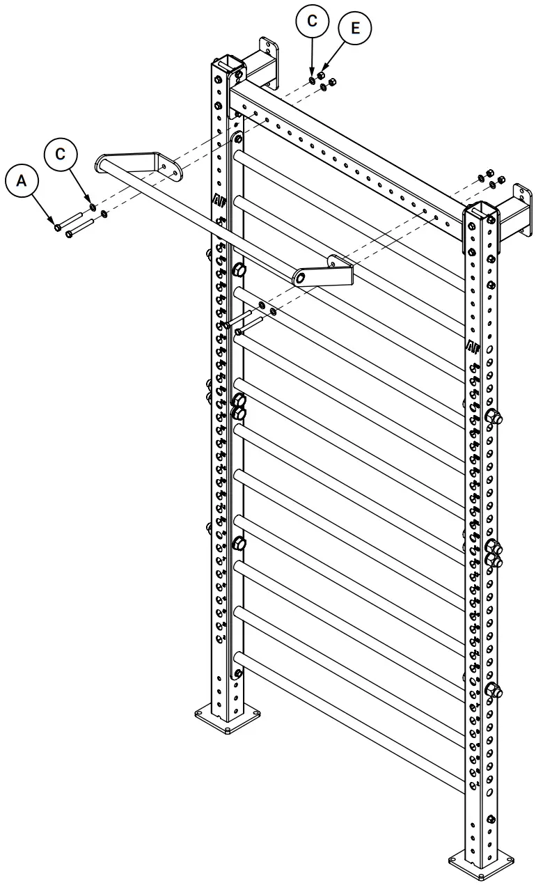
STEP 1: ATTACH WALL MOUNT BRACKETS TO UPRIGHTS
Bolt wall mount brace to top of upright as illustrated below. Letters denote appropriate fasteners. Repeat step for second upright.

PRO TIP:
AF logo and alignment numbers should face outwards when looking at the front of the squat cell.

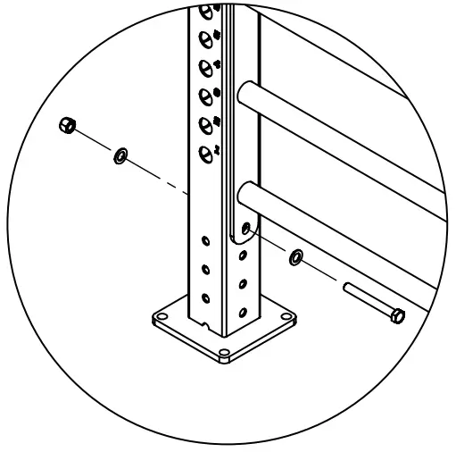
STEP 2: ATTACH CROSSBEAM BRACE AND STALL WALL FRAMES
Bolt crossbeam brace to top of uprights. Bolt the two stall wall frames to the uprights in the position illustrated below. Letters denote appropriate fasteners.

PRO TIP:
Install bottom stall wall frame first in the top 13mm hole.

STEP 3: ANCHOR GYMNASTICS WALL
Stand Gymnastics Wall up, position and level. Mark holes on wall through wall mount brace plates. Lay Gymnastics Wall down and drill holes in wall. Stand Gymnastics wall back up and bolt to wall and floor through wall mount brace plates and upright base plates with appropriate anchors.

PRO TIP:
Fasteners for affixing uprights to floor and wall are not provided. Always choose fixings specially suited to the material of your floor and wall which have sufficient holding power.
Hole size for uprights: 14mm, to suit M12 or similar.
STEP 4: ATTACH CHIN UP BAR
Bolt chin up bar to front of crossbeam brace. Letters denote appropriate fasteners.

PRO TIP:
Chin up bar can be installed up or down to offer different height options.

For additional information, contact AlphaFit:
1300 257 428
[email protected]
www.alphafit.com.au




















