
Quick Start Guide
00825-0500-4408, Rev BC
Rosemount™ 5408 and 5408:SIS Level Transmitters
Process Seal Antenna
About this guide
This Quick Start Guide provides basic guidelines for the Rosemount 5408 and 5408:SIS Level Transmitters. Refer to the Rosemount 5408 and 5408:SIS with HART® Rosemount 5408 and 5408:SIS Level Transmitters (emerson.com) and Rosemount 5408 with FOUNDATION™ Fieldbus Rosemount 5408 Level Transmitter (emerson.com) for more instructions. The manuals and this guide are also available electronically on Emerson.com/Rosemount.
1.1 Safety messages
WARNING
Failure to follow safe installation and servicing guidelines could result in death or serious injury.
Ensure the transmitter is installed by qualified personnel and in accordance with the applicable code of practice.
Use the equipment only as specified in this manual. Failure to do so may impair the protection provided by the equipment.
For installations in hazardous locations, the transmitter must be installed according to the Rosemount 5408 and 5408:SIS Rosemount 5408 and 5408:SIS Level Transmitters (emerson.com) document and System Control Drawing (D7000002-885).
Repair, e.g. substitution of components, etc. may jeopardize the safety and is under no circumstances allowed.
WARNING
Explosions could result in death or serious injury.
Verify that the operating atmosphere of the transmitter is consistent with the appropriate hazardous location certifications.
Before connecting a handheld communicator in an explosive atmosphere, ensure the instruments are installed in accordance with intrinsically safe or non-incendive field wiring practices.
In Explosion-proof/Flameproof and Non-Incendive/Type n installations, do not remove the transmitter covers when power is applied to the unit.
Both transmitter covers must be fully engaged to meet Explosion-proof/ Flameproof requirements.
WARNING
Electrical shock could cause death or serious injury.
In Explosion-proof/Flameproof and Non-Incendive/Type n installations, avoid contact with the leads and terminals. High voltage that may be present on leads can cause electrical shock.
Ensure the mains power to the transmitter is off and the lines to any other external power sources are disconnected or not powered while wiring the transmitter.
WARNING
Process leaks could result in death or serious injury.
Ensure that the transmitter is handled carefully. If the process seal is damaged, gas might escape from the tank.
WARNING
Physical access
Unauthorized personnel may potentially cause significant damage to and/or misconfiguration of end users’ equipment. This could be intentional or unintentional and needs to be protected against.
Physical security is an important part of any security program and is fundamental to protecting your system. Restrict physical access by unauthorized personnel to protect end sers’ assets. This is true for all systems used within the facility.
CAUTION
Hot surfaces
The flange and process seal may be hot at high process temperatures. Allow cooling before servicing. ![]()
Confirm approval type
For hazardous locations transmitters are labeled with multiple approval types:
Procedure
Permanently mark the checkbox of the selected approval type(s).
Figure 2-1: Label with Multiple Approval Types

Mount the flanged version
Procedure
- Lower the transmitter into the nozzle.
Note
Be careful not to scratch or otherwise damage the PTFE sealing.
Note
Do not remove the PTFE sealing.
- Tighten the bolts and nuts (see Table 3-1).
Note
• Re-tighten after 24 hours and again after the first temperature cycle.
• Check at regular intervals and re-tighten if necessary.
Post requisites
Align the transmitter head.
3.1 Torque specifications
The conditions used for the calculation are Standard mating metal flange, A193 B8M Cl.2 / A4-70 bolt material, and a friction coefficient of μ=0.16.
Low strength bolt and non-metallic mating flange may require lower tightening torque.
Table 3-1: Torque Values for Process Seal Antenna, lb-ft (N-m)
| Process connection size | Process connection rating | |||||
| ASME B16.5 | EN1092-1 | JIS B2220 | ||||
| Class 150 | Class 300 | PN6 | PN10/PN16 | PN25/PN40 | 10K | |
| 2-in./DN50/50A | 29 (40) | 52 (70) | 15 (20) | 26 (35) | 29 (40) | 18 (25) |
| 3-in./DN80/80A | 33 (45) | 48 (65) | 37 (50) | 37 (50) | 41 (55) | 22 (30) |
| 4-in./DN100/100A | 59 (80) | 52 (70) | 37 (50) | 37 (50) | 74 (100) | 26 (35) |
Mount the Tri Clamp version
Procedure
- Lower the transmitter into the nozzle.
Note
Be careful not to scratch or otherwise damage the PTFE sealing.
- Tighten the clamp to the recommended torque (see the manufacturer’s instruction manual).
Post requisites
Align the transmitter head.
Mount the bracket
Procedure
1. Mount the bracket to the pipe/wall.
On pipe:
A. Horizontal pipe
B. Vertical pipe
On wall:

2. Mount the transmitter to the bracket.

Align transmitter head
Procedure
1. Loosen the nut slightly and turn the transmitter.

2. Verify the transmitter head is properly aligned.
| Option | Description |
| Open tank | Align the marking on the sensor module toward the tank wall (see Figure 6-1). |
| Still pipe | Align the external ground screw toward the holes of the still pipe (see Figure 6-2). |
| Chamber | Align the external ground screw toward the process connections (see Figure 6-3). |
Figure 6-1: Open Tank
Figure 6-2: Still a pipe
Figure 6-3: Chamber
3. Tighten the nut.

Adjust display orientation (optional)
To improve field access to wiring or to better view the optional LCD display:
Prerequisites
Note
In high vibration applications, the transmitter housing must be fully engaged in the sensor module to meet the vibration test specifications.
This is achieved by rotating the transmitter housing clockwise to the thread limit.
Procedure
- Loosen the set screw until the transmitter housing can rotate smoothly.
- First, rotate the housing clockwise to the desired location. If the desired location cannot be achieved due to the thread limit, rotate the housing counterclockwise to the desired location (up to 360° from the thread limit).
- Re-tighten the set screw.
Figure 7-1: Rotate the Transmitter Housing
Prepare the electrical connections
8.1 Cable selection
Table 8-1: Recommended Cable Size
| Protocol | Wire diameter |
| 4–20 mA/HART® | 24-14 AWG |
| FOUNDATION™ Fieldbus | 18 AWG, Fieldbus type A cable |
Twisted pairs and shielded wiring are recommended for environments with high EMI (electromagnetic interference).
Use wire rated at least 5 °C above maximum ambient temperature.
Two wires can be safely connected to each terminal screw.
8.2 Cable gland/conduit
For explosion-proof/flameproof installations, only use cable glands or conduit entry devices certified explosion-proof or flameproof.
8.3 Power consumption
Max. 1 W, current max. 23 mA
8.4 Grounding
Make sure grounding is done according to national and local electrical codes. Failure to do so may impair the protection provided by the equipment.
Transmitter housing
The most effective grounding method is a direct connection to earth ground with minimal impedance. There are two grounding screw connections provided (see Figure 8-1).
Figure 8-1: Ground Screws
A. Internal ground screw
B. External ground screw
Cable shield grounding
Make sure the instrument cable shield is:
- Trimmed close and insulated from touching the transmitter housing.
- Continuously connected throughout the segment.
- Connected to good earth ground at the power supply end.
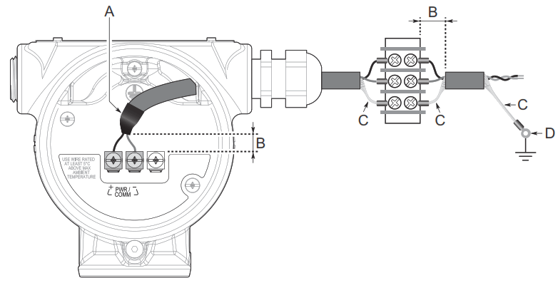
Figure 8-2: Cable Shield
A. Insulate shield and drain wire
B. Minimize distance
C. Trim shield and insulate exposed drain wire
D. Connect drain wire to the power supply ground
Note
Do not ground the shield and its drain wire at the transmitter. If the cable shield touches the transmitter housing, it can create ground loops and interfere with communications.
8.5 Power supply
4-20 mA/HART® Fieldbus
The transmitter operates on 12-42.4 Vdc (12-30 Vdc in Intrinsically Safe installations) at the transmitter terminals.
FISCO/FOUNDATION™
The transmitter operates on 9-32 Vdc (9-30 Vdc in Intrinsically Safe installations and 9-17.5 Vdc for FISCO) at the transmitter terminals.
8.6 Signal termination
A terminator should be installed at the beginning and end of every Fieldbus segment.
For a transmitter with a built-in terminator, connect a jumper wire between the “TERMINATE ON” terminals to activate the terminator. Refer to Cable selection for recommended wire size.
8.7 Load limitations
For HART® communication, a minimum loop resistance of 250 Ω is required.
Maximum loop resistance is determined by the voltage level of the external power supply.
Figure 8-3: Load Limits
Maximum Loop Resistance = 43.5 × (External Power Supply Voltage − 12)
A. Loop Resistance (Ohms)
B. External Power Supply Voltage (Vdc)
8.8 Wiring diagram
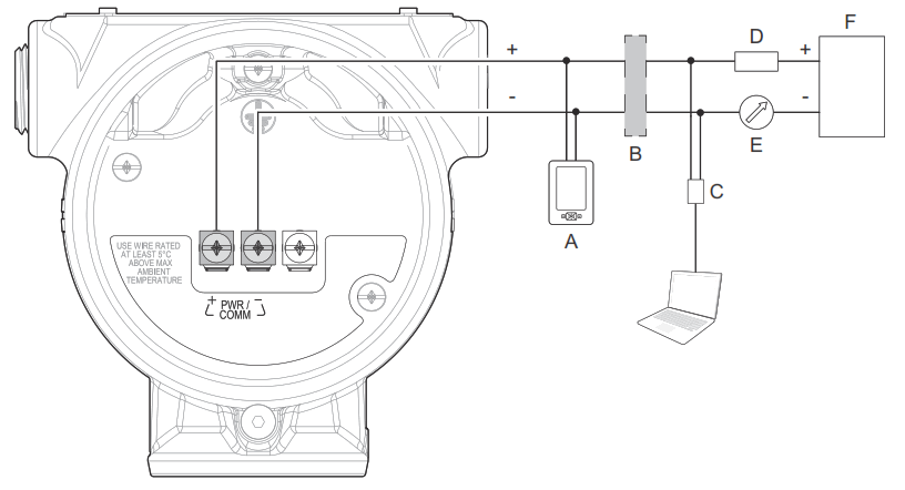
Figure 8-4: 4-20 mA/HART® Communication
A. Handheld communicator
B. Approved IS barrier (for Intrinsically Safe installations only)
C. HART modem
D. Load resistance (≥250 Ω)
E. Current meter
F. Power supply
Figure 8-5: 4-20 mA/HART Communication – Terminal Block with TEST Terminal
A. Handheld communicator
B. Approved IS barrier (for Intrinsically Safe installations only)
C. HART modem
D. Load resistance (≥250 Ω)
E. Current meter
F. Power supply
G. Blue plug
H. TEST terminal
Note
Disconnect the blue plug only during the loop current measurement procedure.
Figure 8-6: FOUNDATION™ Fieldbus
A. Handheld communicator
B. Approved IS barrier (for Intrinsically Safe installations only)
C. FOUNDATION Fieldbus modem
D. Power supply
The terminals are not polarity sensitive.
Figure 8-7: FOUNDATION Fieldbus – Terminal Block with Built-in Terminator and Connections for Daisy-chaining
A. Tankbus
B. Cable shield (insulate from touching the transmitter housing)
C. Built-in terminator (connect jumper if the last device on the Fieldbus segment)
D. Daisy-chain connection to other devices
E. Handheld communicator
F. Fieldbus modem
G. Power supply
H. Rosemount™ 2410 Tank Hub
Connect wiring and power up
Procedure
Verify the power supply is disconnected.- Remove the cover.

- Remove the plastic plugs.

- Pull the cable through the cable gland/conduit. (1) Identification of thread size and type:
(1) Unless marked, the conduit/cable entries in the transmitter housing use a ½–14 NPT thread form. - Connect the cable wires.

- Ensure proper grounding.
- Tighten the cable gland.
Apply PTFE tape or another sealant to the threads.
Note
Make sure to arrange the wiring with a drip loop.
- Seal any unused ports with the enclosed metal plug.
Apply PTFE tape or another sealant to the threads.
- Attach and tighten the cover.
a) Verify the cover jam screw is completely threaded into the housing.
b) Attach and tighten the cover.
Note
Make sure the cover is fully engaged. There should be no gap between the cover and the housing.
c) Turn the jam screw counterclockwise until it contacts the cover.
Note
Required for explosion-proof/flameproof installations only.
d) Turn the jam screw an additional ½ turn counterclockwise to secure the cover. - Connect the power supply.
Note
It may take up to 15 seconds before the LCD display lights up.
Configuration
10.1 Configuration tools
- Field Device Integration (FDI) based systems (required to run Rosemount Radar Master Plus)
- Device Descriptor (DD) based systems
- Device Type Manager (DTM™) based systems
10.2 Rosemount Radar Master Plus
The Rosemount Radar Master Plus is a user-friendly software package that includes basic configuration options, as well as advanced configuration and service functions.
Rosemount Radar Master Plus is the recommended tool for configuration.
The AMS Instrument Inspector Application or any FDI-compliant host is needed to run Rosemount Radar Master Plus.
Related information
Emerson.com/RosemountRadarMasterPlus
10.2.1 Download AMS Instrument Inspector
Prerequisites
See the AMS Instrument Inspector | Emerson US for a list of supported modems and system requirements.
Procedure
Download the software at Emerson.com/InstrumentInspector.
10.2.2 Radar Master error message
If the Can’t initialize Radar Master error message occurs, then the software revision on your device requires an update of the Rosemount Radar Master Plus FDI Package.

10.3 Confirm the correct device driver
Procedure
- Verify that the correct FDI/DD/DTM Package is loaded on your systems to ensure proper communication.
- Download the latest FDI/DD/DTM Package at Emerson.com/DeviceInstallKits or FieldCommGroup.org.
10.4 Configure transmitter using guided setup
The options available in the Guided Setup wizard include all items required for basic operation.
Procedure
- If using an FDI-compliant software, then select Overview → Rosemount Radar Master Plus.

- Select Configure → Guided Setup and follow the on-screen instructions.
Quick Start Guide
00825-0500-4408, Rev. BC
April 2022
©2022 Emerson. All rights reserved.
Emerson Terms and Conditions of Sale are available upon request. The Emerson logo is a trademark and service mark of Emerson Electric Co. Rosemount is a mark of one of the Emerson family of companies. All other marks are the property of their respective owners.
![]()
Rosemount 5408 and 5408:SIS Level Transmitters
References
Software Downloads & Drivers | Emerson US
Rosemount | Emerson US
Rosemount Radar Master Plus - FDI Package | Emerson US
Homepage | FieldComm Group
Rosemount | Emerson US
AMS Instrument Inspector | Emerson US
Rosemount Radar Master Plus - FDI Package | Emerson US
Software Downloads & Drivers | Emerson US
Homepage | FieldComm Group
Note
Note
Post requisites
Note
Post requisites

(1) Unless marked, the conduit/cable entries in the transmitter housing use a ½–14 NPT thread form.
Note

b) Attach and tighten the cover.
Note
c) Turn the jam screw counterclockwise until it contacts the cover.
d) Turn the jam screw an additional ½ turn counterclockwise to secure the cover.



















