

FOR USE WITH A 110V SUPPLY ONLY
SUBMERSIBLE DIRTY WATER PUMP
MODEL NO: DWP210A
PART NO: 7230102
OPERATION & MAINTENANCE
INSTRUCTIONS
ORIGINAL INSTRUCTIONS
INTRODUCTION
Thank you for purchasing this CLARKE Submersible Dirty Water Pump.
This pump is designed for pumping clean water only. It is NOT designed for pumping slurry, sludge, mud, heavily polluted water, or any water containing chemicals or other acidic contaminants including salt water. The DWP210A has the ability to pump solids in suspension as large as 7 mm.
GUARANTEE
This product is guaranteed against faulty manufacture for a period of 12 months from the date of purchase. Please keep your receipt which will be required as proof of purchase.
This guarantee is invalid if the product is found to have been abused or tampered with in any way, or not used for the purpose for which it was intended.
Faulty goods should be returned to their place of purchase, no product can be returned to us without prior permission.
This guarantee does not affect your statutory rights.
ENVIRONMENTAL RECYCLING POLICY
Through the purchase of this product, the customer is taking on the obligation to deal with the WEEE in accordance with the WEEE regulations in relation to the treatment, recycling & recovery, and environmentally sound disposal of the WEEE.
In effect, this means that this product must not be disposed of with general household waste. It must be disposed of according to the laws governing Waste Electrical and Electronic Equipment (WEEE) at a recognized disposal facility.
GENERAL
- Read all instructions before use and store safely for future use.
- The pump is to be supplied by an isolating transformer or supplied through an RCD having a rated residual operating current not exceeding 30mA.
- The electrical supply must be the same as that on the rating plate.
- Always make sure that your hands are dry when connecting or disconnecting from the mains supply.
- Never pull the mains lead to disconnect the pump from the mains socket.
- The main plug must be kept away from the water at all times.
- Do not allow children or unauthorized people to touch the pump, cables, or connections.
- Disconnect the pump from the main supply when not in use.
- If necessary have the pump repaired by a qualified person.
- Keep the mains lead away from heat, oil, and sharp edges.
- If you have to use an extension lead with this product, it must be designed for outdoor use and incorporate a cable suitable for use with Class I appliances.
- Disconnect the pump from the electrical supply and wear gloves during servicing or maintenance.
PUMP SPECIFIC
- Do not pump explosive /flammable liquids or chemicals.
- Never allow the pump to run dry or operate out of the water.
- Submersible pumps should always be submerged and stored vertically.
- Disconnect the pump from the mains supply before placing it into or removing it from the water.
- Always check the plug, main cable, and float switch cable for damage before use.
- Do not use the pump if damaged. Refer to qualified service personnel for repair.
- Never carry the pump by the power cable or float switch always use the handle or a rope tied securely to the handle.
- Never insert your fingers into the pump whilst it is connected to the mains.
- Never use the submersible pump in a swimming pool when there are people or animals in the pool.
- Keep the pump clear of any sediment by standing it on a platform or brick or suspending it at a suitable height.
- Do not use the pump if the water is liable to freeze, as this can cause damage to the pump. Remove the pump from the water and store it in a frost-free location.
OVERVIEW

| 1 | Water Inlet |
| 2 | Float Switch |
| 3 | Cable |
| 4 | Water Outlet |
| 5 | Handle |
Remove all packaging and make sure that the unit displays no visible damage. Dispose of all packaging appropriately.
ELECTRICAL CONNECTIONS
WARNING! READ THESE ELECTRICAL SAFETY INSTRUCTIONS THOROUGHLY BEFORE CONNECTING THE PRODUCT TO A POWER SUPPLY.
This product can be connected to one of the following power supplies:
- 110V Generator
- 110V Site supply
- 110V Isolating Transformer
- 230V Generator via a 110V transformer.
Connecting it to any other power source may cause damage.
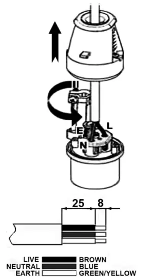
This product requires a fitted industrial plug to BS-EN 60309 (not supplied), for use with a 110 volt supply. On no account must a 230V, 13 amp (BS1363) plug be used.
If using a portable 110V transformer make sure it has a rated capacity sufficient to take the load of the pump.

To fit the plug, proceed as follows:
- Undo the socket screws & remove the rear section.
- Rotate the cable clamp clear of the terminals.
- Feed the cable through the rear gland in the plug.
- Remove the cable sheath to the required lengths as shown in the diagram.
- Terminate the correct wires in the correct terminal blocks.
- Remove the cable clamp screws. Clip the cable clamp back into position and place the clamp around the outer sheath of the cable. Replace the screws and tighten until the cable is securely held.
- Replace the rear cover and tighten the cover screws. If in any doubt, consult a qualified electrician. DO NOT attempt any repairs yourself.
USING THE PUMP
WARNING: CHECK THE PUMP FOR DAMAGE BEFORE USE, DO NOT USE THE PUMP IF IT IS DAMAGED IN ANY WAY.
WARNING: THE WATER BEING PUMPED WILL BE POLLUTED IF THIS PUMP BECOMES DAMAGED AND LUBRICANT WITHIN THE PUMP ESCAPES.
- Fit the adaptor if required as shown, then connect a suitable hose (not supplied) to the pump outlet.
• Suitable hoses are available from your local Clarke dealer. - Place the pump on a flat surface in the area that you want to drain.
If there is sediment in the water, the pump should be placed vertically on house bricks, or similar.
• Ensure the pump is positioned with adequate space so that the movement of the float switch is not restricted – recommended minimum area of 50 x 50 cm.
• ALWAYS raise and lower the pump using a rope attached to the lifting handle.
• Take all necessary precautions as described on page 3.
• The pump inlet must be fully submerged before the pump is switched on. - Connect the plug to the power supply.
- Switch the mains power supply on.
• The pump will begin to drain water.
• As the water level falls, so will the float switch, until it stops the pump.
• You can adjust the position at which the float switch lead clips to theside of the pump, If the length of the float switch lead is short the pump will turn on and off earlier. - When the pumping operation is finished, disconnect the pump from the mains power supply.
CAUTION: DO NOT ALLOW THE PUMP TO RUN DRY
OVERLOAD SWITCH
These pumps are fitted with a thermal overload switch. If the pump overheats for any reason, it will automatically switch the pump OFF. Once the pump has cooled (at least 5-10 minutes), the pump will automatically restart.
MAINTENANCE
WARNING: BEFORE CHECKING THE CONDITION OF THE PUMP, ENSURE IT IS UNPLUGGED FROM THE ELECTRICAL SUPPLY. IF THE UNIT IS HARD WIRED, ENSURE THE CIRCUIT BREAKER IS OPEN.
This pump should require no maintenance other than regular cleaning.
If the pump starts to show signs of wear or damage, contact your CLARKE dealer for advice.
CLEANING
- Check the pump installation regularly to ensure the water inlet is clear of
leaves or other debris. - Take extra care to remove any debris from around the impeller.
NOTE: Do not attempt to repair the pump yourself. Repairs must be carried out by your CLARKE dealer, or contact the CLARKE Service Department.
STORAGE
When the pump is not being used for extended periods, clean and dry it thoroughly and stored indoors. if the pump is left in water, it must be run at least once a week to prevent it from seizing up.
SPECIFICATIONS
| DWP210A | |
| Voltage | 110V~50Hz |
| Outlet Diameter | 2“BSP (inc 2” Adaptor) |
| Rated input Power | 940W |
| Power (at Maximum Flow) | 1140 W |
| Maximum Head Height | 10 m |
| Maximum Output | 567 l/min. |
| Maximum Depth | 2 m |
| Max Water Temperature | 40oC |
| Maximum Particle Size | 7 mm |
| Weight | 22.3 kg |
| Dimensions (D x W x H) | 190 x 270 x 550 mm |
TROUBLESHOOTING
| PROBLEM | SOLUTION |
| PUMP WILL NOT START | 1. Make sure that the power is switched on. 2. Check fuse (consult an electrician if in doubt). 3. If extension lead is fitted, check connections (consult an electrician if in doubt). 4. Internal thermal cut-out has not re-set. Leave for 5-10 minutes and try again. 5. The impeller may be jammed. Disconnect from the mains supply and remove any objects that may be obstructing the impeller. 6. Float switch may be jammed against the side wall of the pond/pool, or prevented from moving. 7. Water level too low – float switch in OFF position – lift float to check switch. 8. If the pump still fails to start, consult your CLARKE dealer for advice. |
| PUMP WILL START BUT NOT PUMP | 1. Check that the inlet is not blocked. 2. Check that the discharge tube is not clogged or obstructed. 3. The head may be too great, i.e. you are trying to lift the water too great a distance for the pump to cope with. (“Specifications” on page 8). 4. Air bubble in the pump, produced during the plunge. Plunge the pump again, at an angle, and shake it whilst lowering to remove any air trapped in the system. 5. Impeller may be damaged – Consult your CLARKE dealer. |
| PUMP WILL NOT STOP | 1. Float switch may be prevented from moving to the fully down position. 2. Float switch may be faulty. Consult your CLARKE dealer for advice. |
| PUMP STOPS RUNNING | 1. Thermal overload has operated. Leave for 5-10 minutes and try again. 2. Pump has run dry, or float switch has cut in. 3. A foreign object has jammed the impeller. |
If this does not solve your problem, please contact the Clarke service department.
DECLARATIONS OF CONFORMITY
![]()
Heimdall Street, Epping, Essex CM16 4LG
DECLARATION OF CONFORMITY
This is an important document and should be retained.
We hereby declare that this product(s) complies with the following statuary requirement(s):
Supply of Machinery (Safety) Regulations 2008
Electromagnetic Compatibility Regulations 2016
The Restriction of the Use of Certain Hazardous Substances in Electrical and Electronic Equipment Regulations 2012
The following standards have been applied to the product(s):
EN 61029-1:2009+A11:2010, EN ISO 12100:2010, EN 62841-1:2015, EN 12418:2000/A1:2009, EN IEC 55014-1:2021, EN IEC 55014-2:2021, EN IEC 61000-3-2:2019/A1:2021, EN 61000-3-3:2013/A1:2019, EN 62321-1:2013, EN 62321-2:2014, EN 6231-3-1:2014, EN 62321-4:2014, EN 62321-5:2014, EN 62321-6:2015, EN 62321-7-1:2017, EN 62321-7-2:2017,
EN 62321-8:2017
The technical documentation required to demonstrate that the product(s) meet(s) the requirement(s) of the aforementioned legislation has been compiled and is available for inspection by the relevant enforcement authorities.
The UKCA mark was first applied in: 2021
Product Description: 450W Electric Tile Cutter
Model number(s): ETC8
Serial I batch Number: N/A
Date of Issue: 16/03/2022
Signed:

Fitzwilliam Hall, Fitzwilliam Place, Dublin 2
DECLARATION OF CONFORMITY
This is an important document and should be retained.
We hereby declare that this product(s) complies with the following directive(s):
2006/42/EC Machinery Directive
2014/30/EU Electromagnetic Compatibility Directive
2011/65/EU Restriction of Hazardous Substances (amended by (EU) 2015863)
The following standards have been applied to the product(s):
EN 61029-1.2009+A11.2010, EN ISO 12100.2010, EN 62841-1:2015, EN 12418:2000/A1:2009, EN IEC 55014-1:2021, EN IEC 55014-2:2021,
EN IEC 61000-3-2:2019/A1:2021, EN 61000-3-3:2013/A1:2019, EN 62321-1:2013, EN 62321-2:2014, EN 6231-3-1:2014, EN 62321-4:2014,
EN 62321-5:2014, EN 62321-6:2015, EN 62321-7-1:2017, EN 62321-7-2:2017, EN 62321-8:2017.
The technical documentation required to demonstrate that the product(s) meet(s) the requirement(s) of the aforementioned directive(s) has been compiled and is available for inspection by the relevant enforcement authorities.
The CE mark was first applied in 2010
Product Description: 450W Electric Tile Cutter
Model number(s): ETC8
Serial 1 batch Number: N/A
Date of Issue: 16/03/2022
Signed:
PARTS LIST & DIAGRAM

To order a part, please quote ZGDWP210A+(Part ID number)
| 1 | Screw | 18 | Washer | 35 | Spring Washer |
| 2 | Strainer | 19 | Oil Plug Screw | 36 | Screw |
| 3 | Lower Casing | 20 | O Ring | 37 | Handle |
| 4 | O Ring | 21 | Spring Washer | 38 | O Ring |
| 5 | Nut | 22 | Bolt | 39 | Screw |
| 6 | Spring Washer | 23 | O Ring | 40 | Power Cable |
| 7 | Impeller | 24 | Rotor | 41 | Cap Nut |
| 8 | Casing | 25 | Bearing | 42 | Float Switch |
| 9 | Bolt | 26 | Insulation Paper | 43 | Capacitor |
| 10 | Outlet Connector | 27 | Bottom Bearing Chuck | 44 | Wave Form Washer |
| 11 | Sealing Flange | 28 | Mechanical Seal | 45 | Stator |
| 12 | Spring Washer | 29 | Sedient Control Set | 46 | Motor Frame |
| 13 | Nut | 30 | Lip Seal | ||
| 14 | Spring Washer | 31 | Upper Bearing Chuck | ||
| 15 | Bolt | 32 | Long Screw | ||
| 16 | Bolt | 33 | Capacitor Seal Ring | ||
| 17 | Lower Bearing Seal Cover | 34 | Capacitor Seal Cover |
Parts & Service: 020 8988 7400 / E-mail: [email protected] or [email protected]
A SELECTION FROM THE VAST RANGE OF
![]() | QUALITY PRODUCTSAIR COMPRESSORS From DIY to industrial, Plus air tools, spray guns, and accessories. GENERATORS Prime duty or emergency standby for business, home, and leisure. POWER WASHERS Hot and cold, electric and engine driven – we have what you need WELDERS Mig, Arc, Tig, and Spot. From DIY to auto/industrial. METALWORKING Drills, grinders, and saws for DIY and professional use. WOODWORKING Saws, sanders, lathes, mortisers, and dust extraction. HYDRAULICS Cranes, body repair kits, and transmission jacks for all types of workshop use. WATER PUMPS Submersible, electric, and engine-driven for Dm agriculture and industry. POWER TOOLS Angle grinders, cordless drill sets, saws, and sanders. STARTERS/CHARGERS All sizes for car and commercial use. | ![]() |
| PARTS & SERVICE: 0208 988 7400 |
| Parts Enquiries [email protected] |
| Servicing & Technical Enquiries [email protected] |
| SALES: UK 01992 565333 or Export 00 44 (0)1992 565335 www.clarkeinternational.com |
• Ensure the pump is positioned with adequate space so that the movement of the float switch is not restricted – recommended minimum area of 50 x 50 cm.




















