Clarke CWBP300 Submersible Water Butt Pump Instruction Manual

INTRODUCTION
Thank you for purchasing this CLARKE Water-Butt Pump.
This pump is designed for pumping clean water only, including chlorinated water from swimming pools but is not to be used for drinking water or for the delivery of foodstuffs.
It is NOT designed for pumping slurry, sludge, mud or heavily polluted water, or any water containing chemicals or other acidic contaminants including salt water.
SPECIFICATIONS

ENVIRONMENTAL RECYCLING POLICY
Through purchase of this product, the customer is taking on the obligation to deal with the WEEE in accordance with the WEEE regulations in relation to the treatment, recycling & recovery and environmentally sound disposal of the WEEE. In effect, this means that this product must not be disposed of with general household waste. It must be disposed of according to the laws governing Waste Electrical and Electronic Equipment (WEEE) at a recognised disposal facility.
SAFETY INSTRUCTIONS
GENERAL
- Read all instructions before use and save these instructions for future use.
- An approved residual current device (RCD) which has a tripping current of 30mA MUST be used for all operations.
- ALWAYS make sure that your hands are dry when connecting or disconnecting from the mains supply.
- NEVER pull the mains lead to disconnect the pump from the mains socket.
- The mains plug must be kept away from the water at all times.
- DO NOT allow children or unauthorised people to touch the pump, cables or connections.
- Disconnect the pump from the mains supply when not in use.
- If necessary have the pump repaired by a qualified person.
- Keep the mains lead away from heat, oil and sharp edges.
- If you have to use an extension lead with this product, it must be designed for outdoor use and incorporate a cable suitable for use with Class I appliances.
- Disconnect the pump from the electrical supply during cleaning or maintenance.
PUMP SPECIFIC
- DO NOT pump explosive / flammable liquids or chemicals.
- NEVER allow the pump to run dry or operate out of the water.
- Submersible pumps should always be submerged and stored vertically.
- ALWAYS check the plug and cable for damage before use.
- DO NOT use the pump if damaged. Refer to qualified service personnel for repair.
- NEVER carry or lower the pump by the power cable or float switch always use the handle.
- NEVER insert your fingers into the pump whilst it is connected to the mains.
- NEVER use the submersible pump in a swimming pool when there are people or animals in the pool.
- Keep the pump clear of any sediment by standing it on a platform or brick or suspending it at a suitable depth.
- DO NOT use the pump if the water is liable to freeze as this can cause damage to the pump. Remove the pump from the water and store it in a frost free location.
ELECTRICAL CONNECTIONS
⚠ WARNING: READ THESE ELECTRICAL SAFETY INSTRUCTIONS THOROUGHLY BEFORE CONNECTING THE PRODUCT TO THE MAINS SUPPLY.
Connect the mains lead to a standard, 230 Volt (50Hz) electrical supply through an approved 13 amp BS 1363 plug, or a suitably fused isolator switch. If the plug has to be changed because it is not suitable for your socket, or because of damage, it must be removed and a replacement fitted, following the wiring instructions shown below. The old plug must be discarded safely, as insertion into a power socket could cause an electrical hazard.
⚠ WARNING: THE WIRES IN THE POWER CABLE OF THIS PRODUCT ARE COLOURED IN ACCORDANCE WITH THE FOLLOWING CODE: BLUE = NEUTRAL BROWN = LIVE YELLOW AND GREEN = EARTH
If the colours of the wires in the power cable do not agree with the markings on the plug.
- The BLUE wire must be connected to the terminal which is marked N or coloured black.
- The BROWN wire must be connected to the terminal which is marked L or coloured red.
- The YELLOW AND GREEN wire must be connected to the terminal which is marked E or or coloured green.

AN APPROVED RESIDUAL CURRENT DEVICE (RCD) WHICH HAS A TRIPPING CURRENT OF LESS THAN 30 mA MUST BE USED.
If you are unsure, consult a qualified electrician. DO NOT try to do any repairs.
PREPARATION
Remove all packaging and make sure that the product has no visible damage. Dispose of all packaging appropriately.
ATTACHING THE TUBE AND HOSE
- Screw the discharge tube/elbow onto the outlet port as shown.
- Connect a suitable garden hose (not supplied) to the hose connector.
• Suitable hoses are available from your local Clarke dealer.

POSITIONING THE PUMP
- Lower the pump into the water butt with the outlet elbow over the side of the water butt.
• Ensure the pump is positioned with adequate space so that the movement of the float switch is not restricted recommended minimum area of 50 x 50 cm. - Connect the plug to the mains supply.
• Always use a high sensitivity residual current device (RCD) which has a tripping current of 30mA.

USING THE PUMP
⚠ WARNING: CHECK THE PUMP FOR DAMAGE BEFORE USE, DO NOT USE THE PUMP IF IT IS DAMAGED IN ANY WAY.
WARNING: THE WATER BEING PUMPED WILL BE POLLUTED IF THIS PUMP BECOMES DAMAGED AND ANY LUBRICANT WITHIN THE PUMP ESCAPES.
- Switch the mains power supply on.
• The pump will begin to discharge water.
• As the water level falls, so will the float switch until it stops the pump. - When pumping is finished, disconnect the pump from the power supply. IMPORTANT: Do not allow the pump to run dry.
MAINTENANCE
⚠ WARNING: BEFORE CHECKING THE CONDITION OF THE PUMP, ENSURE IT IS UNPLUGGED FROM THE POWER SUPPLY.
This pump should require no maintenance other than regular cleaning.
CLEANING
- Check the pump installation regularly to ensure the water inlet is clear of leaves or other debris.
- Twist and lift out the bottom cover before removing the sponge filter. Clean out the cavity and remove any debris.
NOTE: Do not attempt to repair the pump yourself as you may damage the waterproof seal and invalidate your guarantee. Therefore we recommend you contact your CLARKE dealer or the CLARKE Service Department.
STORAGE
When the pump is not being used for extended periods, clean and dry it thoroughly and store it indoors. If the pump is left in water, it should be run occasionally to prevent it from seizing up in areas with a hard water supply.
FAULTFINDING

If this does not solve your problem, please contact the Clarke service department.
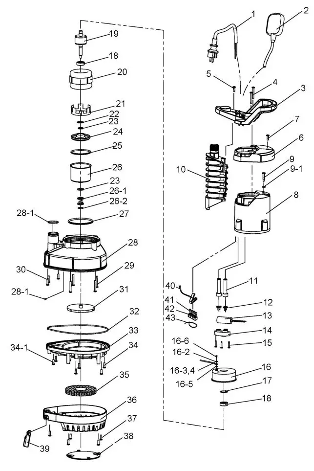
COMPONENT PARTS DIAGRAM

COMPONENT PARTS LIST

COMPONENT PARTS (DISCHARGE TUBE ASSEMBLY)

GUARANTEE
This product is guaranteed against faulty manufacture for a period of 12 months from the date of purchase. Please keep your receipt which will be required as proof of purchase. This guarantee is invalid if the product is found to have been abused or tampered with in any way, or not used for the purpose for which it was intended.
Faulty goods should be returned to their place of purchase, no product can be returned to us without prior permission. This guarantee does not effect your statutory rights.
DECLARATION OF CONFORMITY



[email protected]
[email protected]
www.clarkeinternational.com


















