inELS RFTC-10 G System Temperature Controller

Characteristics
- The simple controller in design LOGUS90 measures the room temperature by internal sensor, and based on the set temperature, it sends a command to control heating.
- The temperature controller can be used in one of two ways:
- For controlling an additional heat source (heater, oil radiator, radiant panel) with multi-function switching units RFSA-6x, RFUS-61 or RFSC-61.
- For sufficient temperature correction (± 5 °C) over the course of the program set in the system unit (change in temperature applies until the following set change of the heating program in the system unit).
- These can be combined with system units: smart RF box eLAN-RF or touch unit RF Touch.
- Manual control by buttons on the unit.
- Range of measured temperature 0 – 55 °C.
- The backlit LCD display displays the current and set temperature, status (ON/OFF), battery status, etc.
- Battery power (1.5 V / 2x AAA – included in supply) with battery life of around 1 year based on frequency of use.
- The flat rear side of the device enables its placement anywhere in the room where you wish to measure temperature.
- Range up to 100 m (in open space), if the signal is insufficient between the controller and unit, use the signal repeater RFRP-20 or protocol component RFIO2 that support this feature.
- Communication frequency with bidirectional protocol iNELS RF Control.
- Color combination of heating unit in design of frames LOGUS90 (plastic, glass, wood, metal, stone).
Assembly
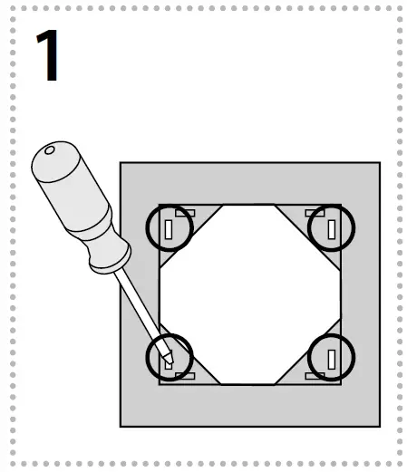
- Using a screwdriver, snap off the moldings in the frame.

- Gently pull to remove the cover.

- By gently bending the lower part, snap the device out – be careful not to damage the device.

- Slide the batteries into the battery holders. Observe the polarity. After inserting the batteries, the FW version will appear for 1 s, then the current measured temperature.

- Snap on the cover.

- By pressing gently, snap the device into the frame.
The broken out moldings must be along the sides of the device.
- By pressing gently, snap the device with frame into the lower part so that the holders of the lower part go through the broken out moldings in the frame.

- Remove the protective foil covering the display.

Device complete with frame
- Carefully pull off the insulation strip.
After removing the insulation strip, the FW version will appear for 1s, then the current measured temperature.
- Remove the protective foil covering the display.

Avoid rapid temperature changes, direct sunlight and excessive moisture. The temperature units should not be located near windows or heating equipment, etc., which could affect the internal temperature sensor.
Radio frequency signal penetration through various construction materials

Control

- Hidden button PROG – pressing the hidden button is performed by the programming tool (part of the packaging) or a long thin object without a sharp point.
- Control is performed the control button v/^.
- pressing control button > 2s
- unlocking for adjustment – longer than 2 seconds, the symbol goes off and the displayed value starts flashing
- after making adjustments pressing the button the setting is confirmed
- the set value stops flashing and symbol is displayed
- pressing control button < 2s
– moving upwards / setting higher value - ^ pressing control button > 2s
- return to the original value
- ^ pressing control button < 2s
- moving downwards / setting lower value
Display

- Signal strength – (1 bar – weak signal, 3 bars – strong signal) the symbol does not display if the controller is not programmed or it is not possible to establish a connection with the programmed switching unit or system unit.
- Circuit temperature measured.
- Circuit temperature set.
- Circuit status indicator.
- Temperature / time indication.
- Battery status indicator – only displays in case of low battery power – indicates that the power is insufficient to provide reliable communication with the programmed switching unit or system unit.
- Locked for adjustment.
- Confirmation of temporary temperature adjustment.
- Temperature measured in °C / °F.
Programming and control of RF switching actuators
Programming
- Press the hidden button Prog of the RFTC-10/G for 2s to get to the Settings Menu.

- Unlock RFTC-10/G for modification by pressing ^ . Set DEV – RFSA by pressing ^ . Confirm settings by pressing ^ .

- By pressing , you will move in Menu to 000000 – address.
By pressing ^ , unlock the modifications menu. Set the address of the required switching unit by pressing (address is a six-digit code provided on each unit). Confirm settings by pressing
- By pressing , you will move in Menu to TMP – display of measured temperature value. Unlock the modifications
menu by pressing ^ . By Press ^ to confirm settings.
- By pressing , you will move in Menu to HYS – switching hysteresis. Unlock the modifications menu by
pressing ^ . By pressing , set the hysteresis based on individual requirement in the range of 0.5…5°C (1…10°F).
Press ^ to confirm settings.
- By pressing , you will move in Menu to OFS – off set of temperature sensor. By pressing
^ , unlock the modifications menu. By pressing ^ ^ , set the off set based on individual requirement in the range of 5…+5°C (-10…+10°F). Press ^ to confirm settings.
- By pressing , you will move in Menu to BLT – display brightness (backlighting). Unlock the modifi cations menu by pressing
^ . By pressing ^ ^ , set the display brightness based on individual requirement in the range of 10% – 100%. Press ^ to confirm settings.
- Press the hidden button Prog to exit the Settings Menu.
Note: Actuator returns from the setup menu to the basic display automatically 30s after the last pressing of the button.
Control – temperature change
- The shows continuously the current measured temperature.

- Switch to displaying the set temperature by pressing ^ or (if the display backlighting is activated, the first press illuminates the backlighting and the second press switches the display). The displayed value fl ashes. Press ^ set the required temperature.

- 5 seconds after the last pressing of the button, the display of the set temperature switches back to the current temperature – the value is saved in the memory.
on / off – indicates the switching actuator contact switching status.
Programming and controlling with RF Touch / LAN-RF /

An address listed on the back of of the actuator is used for programming and controlling the temperature actuator by RF Touch / LAN-RF.
Programming with RF Touch
Programming
- Press the hidden button Prog the RFTC-10/G for 2 s to get to the Settings Menu.

- Unlock RFTC-10/G for modification by pressing ^ .
Set DEV – RFt by pressing ^ . Confirm settings by pressing ^ .
- By pressing , you will move in Menu to xxxxxx – address. The displayed address RFTC-10/G is fixed and cannot be changed (corresponds to address provided on rear of unit).

- By more presses of ^, you will move in Menu to:
- TMP – displaying the measured temperature value.
- OFS – off set of temperature sensor.
- BLT – backlight intensity of display.
Can be set individually according to steps 4, 6 and 7 see programming.
- Press the hidden button Prog to exit the Settings Menu. Note: RFTC-10/G returns from the setup menu to the basic display automatically 30s after the last pressing of the button.

- On the control unit, enter the address of RFTC-10/G (see manual of control unit).

Control – temporary temperature adjustment
- The display continuously shows the current measured temperature and signal strength.

- Press the button ^ or ^ to display the set temperature (if the display backlighting is activated, the fi rst press of the button illuminates the backlighting and the second press switches the display). The displayed value fl ashes.
Press ^ ^ to set the required temperature.
- 5 seconds after the last pressing of the button, the display of the set temperature switches back to the current temperature – the value is saved in the memory.

- After pressing , a symbol is displayed for 1s on the display of RFTC-10/G – this confirms the temporary temperature correction. A change in the heating program set in the system unit terminates temporary temperature correction.

Control – time display
- The time display can be activated in the basic temperature display by pressing ^ .

- The time format (12h/24h) is displayed based on settings in the system element. The display switches back to the current

- If the connection with the RF Touch is not available, the time is not displayed

Programming with eLAN-RF
Programming
- Press the hidden button Prog the RFTC-10/G for 2 s to get to the Settings Menu.

- Unlock RFTC-10/G for modification by pressing ^ . Set DEV – eland by pressing ^ . Confirm settings by pressing ^ .

- By pressing , you will move in Menu to xxxxxx – address. The displayed address RFTC-10/G is fixed and cannot be changed (corresponds to address provided on rear of unit).

- By more presses of ^, you will move in Menu to:
- BLT – backlight intensity of display.
Can be set individually according to step 7 see programming.
- BLT – backlight intensity of display.
- Press the hidden button Prog to exit the Settings Menu. Note: RFTC-10/G returns from the setup menu to the basic display automatically 30s after the last pressing of the button.

- On the control unit, enter the address of RFTC-10/G (by means of the application inch – see manual of control unit).

Control – temporary temperature adjustment
- The display continuously shows the current measured temperature and signal strength.

- Press the button ^ or ^ to display the set temperature (if the display backlighting is activated, the fi rst press of the button illuminates the backlighting and the second press switches the display). The displayed value fl ashes.
Press ^ ^ to set the required temperature.
- 5 seconds after the last pressing of the button, the display of the set temperature switches back to the current temperature – the value is saved in the memory.

Replacement of a battery
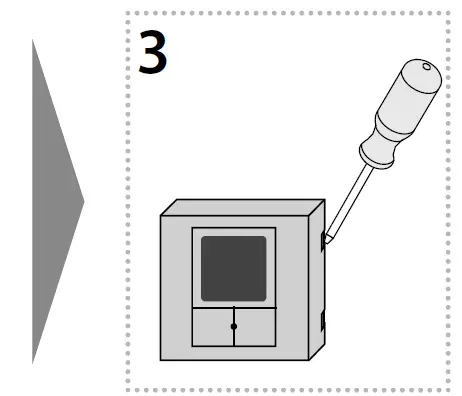
- Using a screwdriver, remove the lower part.

- Using a screwdriver, carefully pry off the molding and snap out the device from the frame.

- Using a screwdriver, gently slide the device out from the cover – be careful not to damage the device.

- Remove the original dead batteries. Slide new batteries into the battery holder. Observe the polarity.
After inserting the batteries, the FW version will appear for 1s, then the current measured temperature.
- Snap on the cover.

- By pressing gently, snap the device into the frame.
The broken out moldings must be along the sides of the device.
- By pressing gently, seat the device into the lower part so that the holders of the lower part go through the broken out moldings in the frame.

Safe handling
When handling a device unboxed it is important to avoid contact with liquids. Never place the device on the conductive pads or objects, avoid unnecessary contact with the components of the device.
Technical parameters
| Supply voltage: | 2x 1.5V battery | |
| Battery life: | 1 year | |
| Temperature offset: | 2 buttons | |
| Offset: | ± 5 °C | |
| Display: | LCD, characters | |
| Backlight: | YES, active-blue | |
| Transmission / function indicator: | symbols | |
| Temperature measurement input: | 1x internal sensor | |
| Temp. meas. range and accuracy: | 0..+55°C; 0.3°C of the range | |
| Control | ||
| Transmission frequency: | 866 MHz, 868 MHz, 916 MHz | |
| Signal transmission method: | bidirectionally addressed message | |
| Minimum control distance: | 20 mm | |
| Range in open area: | up to | |
| Other data | ||
| Operating temperature: | 0..+55 °C | |
| Operating position: | wall-mounted | |
| Mounting: | gluing/screwing | |
| Protection: | IP30 | |
| Electromagnetic radiation degree: | 2 | |
| Dimensions: frame – plastic | 85 x 85 x 20 mm | |
| Frame – metal, glass, wood, grate | 94 x 94 x 20 mm | |
| Weight: | 66 g (without batteries | |
| Related standards: | EN 60669, EN 300 220, EN 301 489 Directives NVč.426/2000Sb (Directive 1999/ES) |
Attention:
When you install intel’s RF Control system, you have to keep minimal distance 1 cm between each units. Between the individual commands must be an interval of at least 1s.
Warning
Instruction manual is designated for mounting and also for user of the device. It is always a part of its packing. Installation and connection can be carried out only by a person with adequate professional qualia cation upon understanding this instruction manual and functions of the device, and while observing all valid regulations. Trouble-free function of the device also depends on transportation, storing and handling. In case you notice any sign of damage, deformation, malfunction or missing part, do not install this device and return it to its seller. It is necessary to treat this product and its parts as electronic waste after its lifetime is terminated. Before starting installation, make sure that all wires, connected parts or terminals are de-energized. While mounting and servicing observe safety regulations, norms, directives and professional, and export regulations for working with electrical devices. Do not touch parts of the device that are energized – life threat. Due to transmissivity of RF signal, observe correct location of RF components in a building where the installation is taking place. RF Control is designated only for mounting in interiors. Devices are not designated for installation into exteriors and humid spaces. The must not be installed into metal switchboards and into plastic switchboards with metal door – transmissivity of RF signal is then impossible. RF Control is not recommended for pulleys etc. – radiofrequency signal can be shielded by an obstruction, interfered, battery of the transceiver can get fl at etc. and thus disable remote control.




































































