
User Manual

Model Number :HG61W1064
HG61X1065/HG61E1069
HG61F1070
HG61F1070 Wooden Narrow Nightstand End Table
You need

Hardware List

PRODUCT ASSEMBLY
Check the package contents before getting started !





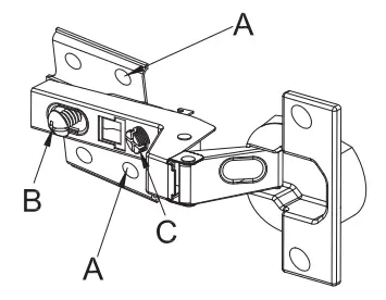
![]() | To adjust the vertical height. Loosen the four screws “A” on both hinges. Two of them are usually in slotted holes which allows you to adjust up or down by a few mm. Then tighten back up. |
![]() | To adjust depth. Loosen screw “B” and adjust door, if the door can not be adjusted, please loosen screw “C”, then try again. Tighten screw “B” and “C”. |
![]() | To adjust side ways. Turning the screw “C” on BOTH hinges on each door. |






















