HG61P1059 Wood Modern Nightstand

Product Information:
This product requires at least 2 people for assembly, and the
hardware list includes:
- A: 12PCS
- B: 12PCS
- C: 8PCS
- D: 12PCS
- E: 4PCS
- F: 16PCS
- G: 20PCS
- H: 4PCS
- I: 1PC
- J: 4PCS CL 2PCS, CR 2PCS, DL 2PCS, DR 2PCS
The assembly process consists of 10 steps and the package contents should be checked before starting.
Product Usage:
- Check the package contents before starting the assembly process.
- Assemble A, F, CL, CR, and I according to the instructions in Step 1.
- Assemble B, D, F, DL, and DR according to the instructions in Step 2.
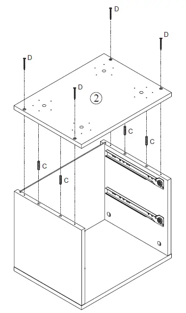
- Assemble B and C according to the instructions in Step 3.
- Assemble C and D according to the instructions in Step 4.
- Assemble G, J, and E according to the instructions in Step 6.
- Assemble H, G, and E according to the instructions in Step 7.
- Assemble I according to the instructions in Step 8.
- Complete the assembly process by following the instructions in Step 9.
- The product is now ready for use.
You need


Hardware List

PRODUCT ASSEMBLY
Check the package contents before getting started !
STEP 1

STEP 2
STEP 3
STEP 4

STEP 5


STEP 6

STEP 7

STEP 8

STEP 9

STEP 10 




















