Nathan James 66501 Theo Bookcase
Ok, let’s get rolling
This should be easy, just follow our instructions and you will be back to Netflix in no time.
Estimated time for assembly 
What you need
- Some of your favourite bubbly or your preferred relaxant
- Use the packaging carton as a working surface to prevent product damage during assembly
- Phillips head screwdriver (not included)
- Drill (not included)
- 1/4” Drill bit (not included)
- 5/16” Drill bit (not included)
Weight Limitation 
The goods 

IMPORTANT
- Do not tighten bolts/screws completely until all bolts/screws are lined up and inserted into holes.
- Do not over tighten screws and bolts to avoid stripping.
- Please use hand tools to assemble this product. Do not use power tools.
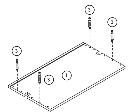
Step 1
Let’s get this thing fired up! Screw the Cam Bolts (3) into the Top Panel (I). 
Step 2
Now insert the Wooden Dowels (9) into the sides of the Left Back Side Panel (D), Left Front Side Panel (E), Right Back Side Panel (F), and Right Front Side Panel (G). 
Step 3
Now let’s put those pieces together! Align the Left Side Panels (D)(E) and the Right Side Panels (F)(G) on top of the Top Panel (I). The Cam Bolts you inserted in the last step should align with the holes in the side panels. Use Cam Locks (4) to secure the panels in place. 
Step 4
Slide the Back Panel (H) into the groove in the back of the cabinet. Next, attach the Bottom Panel (J) to the rest of the cabinet using M4*40 mm Screws (5). 
Step 5
You’re halfway there! Screw both Bookcase Frame Supports
- (A) and Side Frame Base Supports
- (B) together using M6*15 mm Bolts (1).

Step 6
Line up the bookcase Shelves (C) and the Side Supports (A)(B) and screw together using M6*15 mm Bolts (1). Consider this your workout for the day. 
Step 7
Grab a friend and have them help you lift the bookcase right side up! 
IMPORTANT TIP
To prevent parts from breaking while placing the bookcase unit upright be sure to:
- Have at least 2 people grab the bookcase on each side prior to lifting to an upright position. (Do not grab & move the bookcase by the top and bottom ends)
- When rotating the bookcase to an upright position, try not to use the feet as a pivot point to avoid applying stress on the components.

Step 8
Ok, we will admit this is our least favorite step also. At one point, you may find this step tricky but it’s worth the 20 second meltdown—because everything will look SO clean at the end…you’ll forget all about the assembly!
With that being said, it’s time to attach this baby to the wall! We’ll be using screws and anchors to secure it. See the following pages for detailed instructions on how to do this. 
Please note…
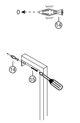
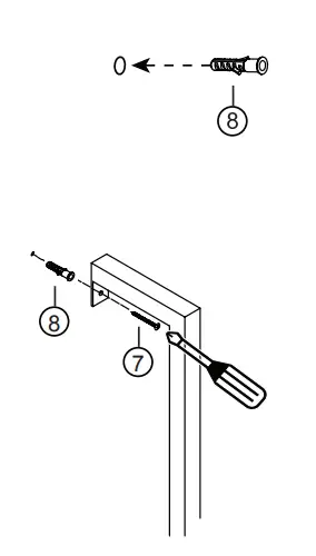
Part 7 & 8 are for non-drywall applications. Part 14 & 15 are for drywall applications. See following pages for more details.
Non-drywall application
Mark it: Chose your desired location on the wall, have your friend hold the bookcase in place and use a pencil to mark where the anchors will go.
1/4” Drill bit: Move bookcase to the side and following the marks you just made, with a 1/4” drill bit, drill 2 holes into the wall. 
Insert the anchors: Go ahead and tap the wall anchors into place in the new holes that you just drilled. If you’re feeling strong, just go ahead and push it in.
All about the angle: Insert 1 screw through each metal bracket and into the drywall anchor. Tilt your phillips head screwdriver, and secure but do not over tighten.
Mark it: Chose your desired location on the wall, have your friend hold the bookcase in place and use a pencil to mark where the anchors will go.
5/16” Drill bit: Move bookcase to the side and following the marks you just made, with a 5/16” drill bit, drill 2 holes into the wall.
Insert the anchors: Go ahead and tap the wall anchors into place in the new holes that you just drilled. If you’re feeling strong, just go ahead and push it in.
All about the angle: Insert 1 screw through each metal bracket and into the drywall anchor. Tilt your phillips head screwdriver, and secure but do not over tighten. 
Drywall application
Mark it: Chose your desired location on the wall, have your friend hold the bookcase in place and use a pencil to mark where the anchors will go.
5/16” Drill bit: Move bookcase to the side and following the marks you just made, with a 5/16” drill bit, drill 2 holes into the wall.
Insert the anchors: Go ahead and tap the wall anchors into place in the new holes that you just drilled. If you’re feeling strong, just go ahead and push it in.
All about the angle: Insert 1 screw through each metal bracket and into the drywall anchor. Tilt your phillips head screwdriver, and secure but do not over tighten.
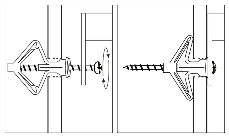
How to use drywall anchors 
- Drill hole with 5/16” bit
- Pinch and insert
- Begin tightening
- Tighten to 100%
Step 9
If you’re feeling faint, now’s the perfect time to grab a La Croix or drink of choice to get you through these last two steps.
Attach the Hinges (11) to the Doors (L) with M4*14 mm Screws (10). Do this for both Doors (L). Next, insert the Metal Shelf Pins (13) into the cabinet at your desired height, then slide the Cabinet Shelf (K) into place.

Step 10
Attach the Doors (L) to the base of the cabinet by securing the Hinges (11) with M4*14 mm Screws (10). Finally, attach the Knobs (2) to the doors using M4*20 mm Bolts (6).
This calls for pizza! You deserve it. 
Is your cabinet door looking crooked or unevenly spaced?
Then you’ve come to the right place. Follow the illustrations below to get your cabinet door aligned and ready for action.
If your door is too low or too high… 
Loosen the height screws, then move the door up or down to make it level.
If the space between your doors is off… 
Loosen the side-to-side screws, then screw counter-clockwise to make the gap wider or clockwise to close any gaps.
If you need to adjust the depth of the doors… 
Adjust the in-and-out screws until the door is aligned with the side of the cabinet.
Tip from one friend to another:
If you want to adjust the height of the shelf position, remove all metal pins on either side and then install the metal pins after you adjust the height of the shelf. 
No heartburn, when we handle the return
Give us a call 1-866-619-1004 or shoot us a message at [email protected] we will issue you a free replacement with zero hassle.
Our way
- Give us a call
- Replacement
- You
Their way
- Re-package item
- Schedule pick up
- Track package
- Replacement
- You
We really don’t want you to go through the hassle of re-packaging your item and sending it back, because let’s be honest…nobody has time for that.
Safety first, fun later
We want your Theo Bookcase with Storage Cabinet to last as long as possible, so we recommend that you tighten the screws 2 weeks after assembly and for added safety check the tightness of all screws every 2 months. For proper care and treatment of wood and metal please check our website at NathanJames.com/products
Safe use of this product starts with you.
Use this bookcase responsibly with the primary concern for your safety. Follow assembly instructions carefully and inspect product upon receipt and each use.
Nathan James and its parent companies cannot be held legally responsible for any injuries or death resulted from failure to follow instructions or improper use of this product.
Do not modify the structure of this product in any way.
Our products have been tested to meet specific safety measures as they were originally intended to be sold. Any modifications will present the risk of creating significant safety issues which NJ will not be responsible for.
Proper use
- DO NOT use for commercial purposes
- DO NOT climb bookcase
- DO NOT exceed weight limit
- DO NOT leave spilled liquid on shelves
- DO NOT use bookcase if damaged
- DO NOT make temporary repairs
- DO NOT use outdoor
We are only in business if you’re happy
For starters, thanks for being you.
- Toll-free at 1-866-619-1004
- [email protected]
- NathanJames.com/help
We do our best to ensure your furniture arrives without any problems, but occasionally mistakes happen—as humans we are imperfect beings. In the event that a part is damaged or missing, we will be more than happy to provide you with replacement part(s) for free.
Warranty
This product comes with a lifetime warranty from the date of purchase. Please use your phone to scan the QR code to register your product or visit https://goo.gl/i9dk3q
Did we do alright? Please spread the love!
If you are happy with your product, tell your friends and family about us or even better leave us a review online. Spreading the word gives us the opportunity to make more people happy and keep our prices low for your next purchase.

























