FUFU GAGA LJY-KF210113-03 Bookcase White 3-Shelf Bookcase

IMPORTANT INFORMATION!
please read the entire manual before starting to assemble and/or use this product. follow the manual thoroughly and keep it for further reference.
AVOID SCRATCHES!
In order to avoid scratching this furniture should be assembled on a soft layer-could be a rug.
IMPROVE EFFICIENCY!
Try to find a partner to install with you, which can speed up the installation efficiency and shorten the time.
ANTI-TOPPLE WARNING!
Overturned furniture can cause serious or fatal crush injuries. To prevent tipping over, be sure to use the wall attachment, if not included with this product.
Please purchase the wall attachment that fit your wall. If unsure, seek professional advice. Please read and follow each step of the instructions carefully.
IMPORTANT!
It is important that any product which is assembled using any kind of screw is re-tightened2 weeks after assembly, and once every 3 months – in order to assure stability throughout the lifespan of the product. 
For regular maintenance and cleaning of the product, for the frame, please use a rag dipped in neutral detergent to fully wipe it, and then dry it with a clean rag.
For glass materials, wipe with a rag dampened with water glass cleaner, and then dry with a dry rag.
Do not use an electric screwdriver, and do not use too much force when installing, because the board is easy to break.
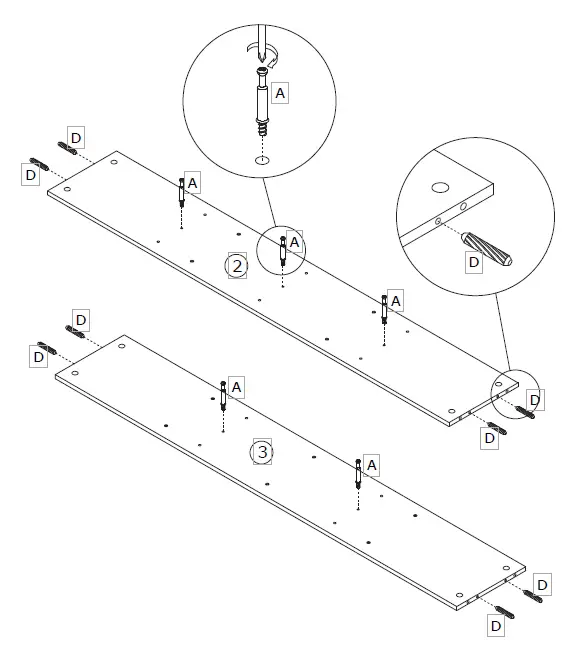
Cam Bolt (A) to plates 1,7 and 8 with a cross screwdriver, as shown. Insert the wooden tenon (D) into plates 7 and 8, as shown.
Please cover the No. 7 plate on No.2,3, and 4 plates and lock them with Cam Lock(B), as shown. Please cover the No. 8 plate on No.2,3, and 4 plates and lock them with Cam Lock(B), as shown.
Please cover the No. 1 plate on No.7,8, and 6 plates and lock them with Cam Lock(B),as shown.
Please rotate the cabinet body to the back and install the rear plates 9 and 10. After adjusting the position of plates 9 and 10, lock 9 and 10 with screws E and accessories T, as shown.
For extra stability, it is recommended that you fix your shelf to the wall using the additional hardware ( C, H, G, and J ), as shown. Should you choose not to affix the product to the wall, serious injury may be caused if the product tips over.
WARRANTY
WARRANTY CLAIMS
- There is a 30-day warranty for broken furniture or any other problems that do not work properly. The warranty will start from the date of purchase which must be verified by proof of purchase.
- Before making a claim, we may be able to answer your query, simply call us. Please leave your purchase order number, along with some details of the problem, if you want a replacement part. We will arrange it within 48 hours. If there is out of stock, we will reply with a shipping date.
- The product must be used in accordance with the instructions provided. For health reasons.
- For other reasons, if the furniture needs to be returned, it must be cleaned and dried, and operated within 30 days of receipt.
Type of Warranty Claim
- Failure to follow the furniture instructions will invalidate the warranty. Attention, please.
- Does not include damage during installation, but includes damage during transportation.
Scope of responsibility
- Shall not bear any responsibility for misuse or user damage and/or loss of parts during the installation of furniture.
- After use, the damage and scratches on the furniture are not covered by the warranty.
The Warranty Relates to All Bought in The Us and Covers The Following Areas
- Sheet parts: 1 month from the date of purchase.
- Electrical parts: 1 month from the date of purchase.
RETURNS
CHANGED YOUR MIND AND NEED TO RETURN YOUR ITEM?
PLEASE FOLLOW THE BELOW INSTRUCTIONS:
- If you have purchased and have simply changed your mind, follow the retailer’s instructions for returns.
DEFECTIVE ITEMS
- If your item is defective in any way, i.e. it doesn’t work but you can’t identify why, in the first instance, please call us.
DAMAGED ITEMS
- If you receive an order with obvious shipping damage from the retailer, then we suggest the delivery is refused. If the delivery has been accepted and then shipping damage is found, please follow the specific instructions advised by the retailer.
- In all circumstances please save all packaging material and paperwork for the order. Please be aware that if you dispose of packaging material or attempt to return the merchandise without contacting the fulfiller, you jeopardise your chances of making a claim, and you may not receive a credit for the return.
FUFU GAGA LJY-KF210113-03 Bookcase White 3-Shelf Bookcase


















