65503 Theo Walnut Brown 5-Shelf Ladder Bookcase
Instruction Manual
Let’s build the
Theo Bookcase SKU 65503
65503 Theo Walnut Brown 5-Shelf Ladder Bookcase
Scan me!
Inspiration Digital Instructions
Free Lifetime Warranty
Ok, let’s get rolling
This should be easy, just follow our instructions and you will be back to Netflix in no time.
Estimated time for assembly
What you need
- Some of your favourite bubbly or your preferred relaxant
- Use the packaging carton as a working surface to prevent product damage during assembly
- Phillips head screwdriver (not included)
- Drill (not included)
- 1/4” Drill bit (not included)
- 5/16” Drill bit (not included)
Weight Limitation
Toll-free at 1-866-619-1004
[email protected]
Nathanjames.com/help
What’s included
| Description | Qty |
| A Shelves | 5 |
| B Top Wall Mount Frame Support | 1 |
| C Top Wall Mount Frame Support | 1 |
| D Bottom Frame Support | 1 |
| E Bottom Frame Support | 1 |
| 1 M6*12 mm Bolt | 14 |
| 2 M4.2*32 mm Screw for Non-drywall Anchor | 2 |
| 3 Non-drywall Anchor | 2 |
| 4 Allen Key | 1 |
| 5 Drywall Anchor | 2 |
| 6 M4.2*50 mm Screw for Drywall Anchor | 2 |
The goods 
IMPORTANT
- Do not tighten bolts / screws completely until all bolts / screws are lined up and inserted into holes.
- Do not over tighten screws and bolts to avoid stripping.
- Please use hand tools to assemble this product. Do not use power tools.
Step 1
Lay down packaging carton or carpet as a working surface. Insert parts D & E into parts B & C. Secure bolts with Allen wrench (included).
Step 2
Place the top shelf first, then the last shelf. This way it will balance easier for you.
Step 3
We’re all about individualism, but the next step requires 2 adults so there’s no shame in your game—don’t hurt yourself and ask for help.
Step 4
Ok, we will admit this is our least favorite step also. At one point, you may find the last step tricky but it’s worth the patience/20 second meltdown—because everything will look SO clean at the end…you’ll forget all about the assembly!
Please note…
Part 2 & 3 are for non-drywall applications. Part 5 & 6 are for drywall applications.
See following pages for more details.
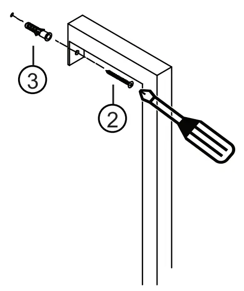
Non-drywall application
Mark it
Chose your desired location on the wall, have your friend hold the bookcase in place and use a pencil to mark where the anchors will go.
1/4” Drill bit
Move bookcase to the side and following the marks you just made, with a 1/4” drill bit, drill 2 holes into the wall.
Insert the anchors
Go ahead and tap the wall anchors into place in the new holes that you just drilled. If you’re feeling strong, just go ahead and push it in.
All about the angle
Insert 1 screw through each metal bracket and into the drywall anchor. Tilt your phillips head screwdriver, and secure but do not over tighten.
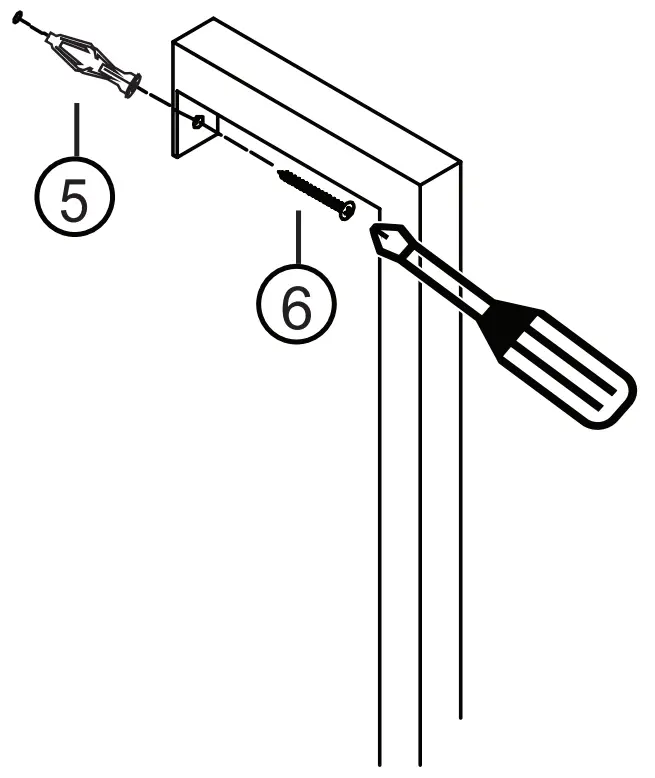
Drywall application
Mark it
Chose your desired location on the wall, have your friend hold the bookcase in place and use a pencil to mark where the anchors will go.
5/16” Drill bit
Move bookcase to the side and following the marks you just made, with a 5/16” drill bit, drill 2 holes into the wall.
Insert the anchors
Go ahead and tap the wall anchors into place in the new holes that you just drilled. If you’re feeling strong, just go ahead and push it in.
All about the angle
Insert 1 screw through each metal bracket and into the drywall anchor. Tilt your phillips head screwdriver, and secure but do not over tighten.
How to use drywall anchors
No heartburn, when we handle the return
Give us a call 1-866-619-1004 or shoot us a message at [email protected] we will issue you a free replacement with zero hassle.
Our way
| Give us a call | |
| Replacement | |
| You |
Their way
| Re-package item | |
| Schedule pick up | |
| Track package | |
| Replacement | |
| You |
We really don’t want you to go through the hassle of re-packaging your item and sending it back, because let’s be honest…nobody has time for that.
Safety first, fun later
We want your Theo Bookcase to last as long as possible, so we recommend that you tighten the screws 2 weeks after assembly and for added safety check the tightness of all screws every 2 months.
For proper care and treatment of wood and metal please check our website at NathanJames.com/products
Safe use of this product starts with you.
Use this bookcase responsibly with the primary concern for your safety. Follow assembly instructions carefully and inspect product upon receipt and each use.
Nathan James and its parent companies cannot be held legally responsible for any injuries or death resulted from failure to follow instructions or improper use of this product.
Do not modify the structure of this product in any way.
Our products have been tested to meet specific safety measures as they were originally intended to be sold. Any modifications will present the risk of creating significant safety issues which NJ will not be responsible for.
Proper use
| DO NOT | use for commercial purposes |
| DO NOT | climb bookcase |
| DO NOT | exceed weight limit |
| DO NOT | leave spilled liquid on shelves |
| DO NOT | use bookcase if damaged |
| DO NOT | make temporary repairs |
| DO NOT | use outdoor |
We are only in business if you’re happy
For starters, thanks for being you.
Toll-free at 1-866-619-1004
[email protected]
NathanJames.com/help
We do our best to ensure your furniture arrives without any problems, but occasionally mistakes happen—as humans we are imperfect beings. In the event that a part is damaged or missing, we will be more than happy to provide you with replacement part(s) for free.
Warranty
This product comes with a lifetime warranty from the date of purchase. Please use your phone to scan the QR code to register your product or visit https://goo.gl/i9dk3q
Did we do alright? Please spread the love!
If you are happy with your product, tell your friends and family about us or even better leave us a review online. Spreading the word gives us the opportunity to make more people happy and keep our prices low for your next purchase.
Brooklyn Burdon
Founder, Nathan James
















