HAGOR 5787 ST SA Flip II 55 Inch Rollable Tripod

Caution!
Technical devices are of considerable value. You should therefore handle the components carefully during installation and protect them if necessary. If necessary, the installation area should also be secured. Falling parts can cause injuries and material damage. The materials included in the scope of delivery may not be suitable for the special conditions at the installation site. Please check this in advance and replace it with suitable materials if necessary. If you are unsure about the installation of the product or have any questions, please contact us or other trained specialists.
Safety indication
Do not use the stand on sloping floors.
Do not use the stand near stairs or floors with gradients.
Do not use the stand on external or rough floors that could damage the wheels.
The installation should be performed by competent personnel.
Scope of delivery
Installation
Installation of the rolling base
Top view
Bottom view
Installation of the front shelf
Rearview
Please note! The AV shelf can only be used in the lower position with the ST SA Flip II 65″.
Front view
Installation of the TV bracket

Installation of the fixing bolts | ST SA Flip II 55“
Length of the screw depends on the hole depth of the TV. Please measure in advance
Installation of the fixing bolts | ST SA Flip II 65“
Length of the screw depends on the hole depth of the TV. Please measure in advance
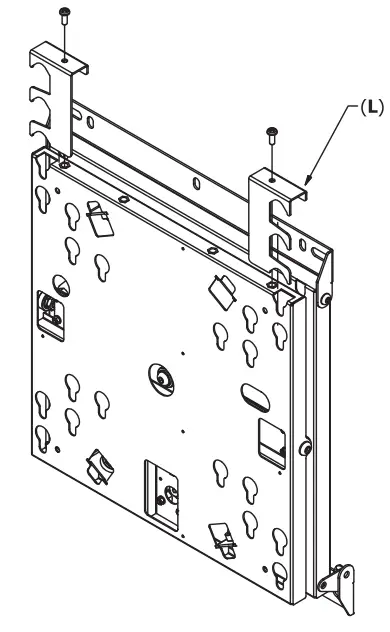
Disassembly of the securing bracket
Remove the safety bracket (L).
Tilt settings

Remove the screws and the washers. Assemble the 2 tilting plates (B). Fix them with the screws and the washers
Mount and secure the screen
ST SA Flip II 55“
Hang up the screen. Please note! Please perform this work step in pairs. Make sure that the bolts are correctly inserted into the keyholes. Replace the securing brackets and screw them tight.
ST SA Flip II 65“
Hang up the screen. Please note! Please perform this work step in pairs. Make sure that the bolts are correctly inserted into the keyholes. Replace the securing brackets and screw them tight
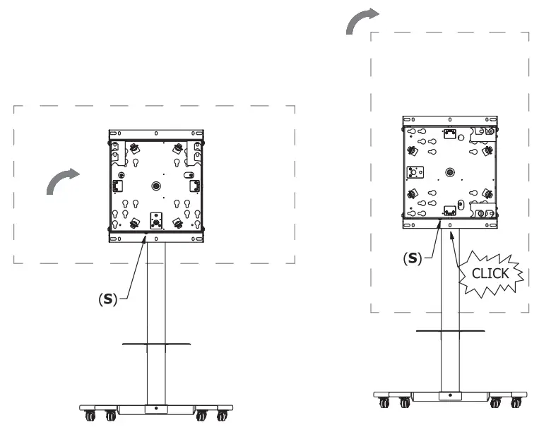
Function test and adjustment

Try the rotation several times and make sure the screen is securely locked with the safety brackets (L) If necessary, increase or decrease the force of the spring by adjusting the screw (S).
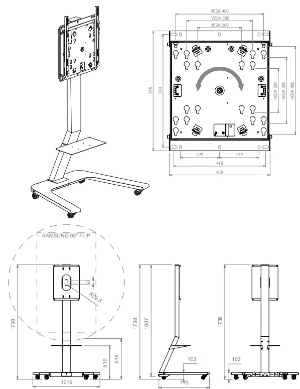
Dimensions
ST SA Flip II 55“
ST SA Flip II 65“
HAGOR Products GmbH | Oberbecksener Straße 97 | D-32547 Bad Oeynhausen |
Telefon: +49(0)57 31-7 55 07-0
EMail: [email protected]



















