
PST-200 Series
INSTALLATION GUIDELINE
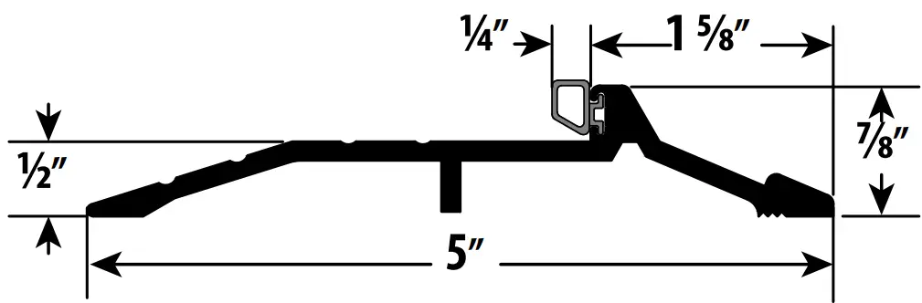
7/8” (22.2mm) PANIC SADDLE THRESHOLD
22.2 mm x 127 mm x 1828.8 mm
SCREW SIZE : #10 x 1-1/2″ PFHWS
INSTALLATION INSTRUCTIONS
- 1Carefully measure to fit within the frame opening and make sure the vinyl makes contact with the door face when the door is closed.
- If necessary trim and notch the threshold ends to accommodate the side jamb stops.
- Trim seal 1 /8″ longer than the retainer threshold at each end.
- Mark and drill pilot holes through the pre-drilled holes in the threshold and fasten with the screws provided. Use a weatherproof sealant at all edges and joints.
- Operate the door multiple times to ensure proper adjustment so as not to prevent the door from self-closing and latching.
MATERIAL FOR USE IN LISTED STEEL FRAMES AND CLASSIFIED HOLLOW METAL STEEL COMPOSITE TYPE FIRE DOORS ARE RATED UP TO AND INCLUDING 3 HOURS, WOOD COMPOSITE TYPE FIRE DOORS ARE RATED UP TO AND INCLUDING 1-1/2 HOURS, AND WOOD CORE FIRE DOORS ARE RATED 20 MINUTES WITHOUT HOSE STREAM.


















