
HARBOR BREEZE and logo design are trademarks or registered trademarks of LF, LLC. All rights reserved.
ITEM #4145472 4145473
WALL LANTERN
MODEL #WL136MW WL136MBK
ATTACH YOUR RECEIPT HERE


APPROVED FOR USE IN WET LOCATIONS
Purchase Date __________
Questions, problems, missing parts? Before returning to your retailer, call our customer service department at 1-888-251-1003, 8 a.m. – 8 p.m., EST, Monday – Sunday. You could also contact us at [email protected] or visit www.lowespartsplus.com.
VR21099
PACKAGE CONTENTS


| PART | DESCRIPTION | QUANTITY |
| A | Fixture | 1 |
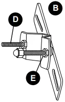
| B | Mounting Strap | 1 |
| C | Decorative Nut (preassembled to screw (D)) | 2 |
| D | Screw (preassembled to mounting strap (B)) | 2 |
| E | Nut (preassembled to screw (D)) | 2 |
| F | Shade (preassembled to cage (G)) | 1 |
| G | Cage (preassembled to fixture (A)) | 1 |
| H | Shade screw (preassembled to cage (G)) | 2 |
HARDWARE CONTENTS (shown actual size)
AA BB
![]()
Wire Connector Machine Screw
Qty. 3 Qty. 2
SAFETY INFORMATION
READ AND SAVE THESE INSTRUCTIONS.
DANGER
- For your protection and safety, carefully read and understand the information provided in this manual completely before attempting to assemble, install or operate this product. Failure to do so could lead to electrical shock, fire or other injuries that could be hazardous or even fatal.
- If using this light fixture in a WET location, this light fixture must be connected to a supply circuit that is protected by a Ground Fault Circuit Interrupter (GFCI) to reduce the risk of personal injury, electrical shock or death.
- DO NOT connect this fixture to an electrical system that does not provide a means for equipment grounding. Never use a fixture in a two-wire system that is not grounded. Installing a fixture into an electrical system not having a proper grounding means could cause metal parts of the fixture to carry electrical currents if any of the fixture wires, wire connections or splices were to become broken, cut or loose during the mounting or normal operation of the fixture. Under this condition, anyone coming in contact with the fixture would be subject to electrical shock, which could cause serious injury or death.
- DO NOT connect the bare or green insulation fixture ground wire to the black (HOT) current-carrying wire or the white (NEUTRAL) house wire. Connection of the bare or green fixture ground wire to the black or white house wires may cause metal parts of the fixture to carry electrical currents. Under this condition anyone coming in contact with the fixture will receive electrical shock, which could cause serious injury or death.
- DO NOT damage or cut the wire insulation (covering) during installation of fixture. DO NOT permit wires to contact any surface having a sharp edge. To do so may damage or cut the wire insulation, which could cause serious injury or death from electrical shock.
WARNING
- All electrical connections must be in agreement with local codes and ordinances, the National Electric Code (NEC) and ANSI/NFPA 70-1999. Contact your municipal building department to learn about your local codes, permits and/or inspections. Risk of fire - most dwellings built before 1985 have supply wire rated for 140 ° F. Consult a qualified electrician before installation.
- To avoid personal injury, the use of gloves may be necessary while handling fixture parts with sharp edges.
- DO NOT suspend any fixture by the house wires. A fixture must always be mounted directly to a mounting strap which is first attached to the outlet box. Wire connectors will not support the weight of a fixture. Suspending a fixture by the house wires and wire connectors will result in the fixture falling, with the possibility of personal injury and the danger of electrical shock or fire.
- To reduce the risk of fire, electrical shock, or personal injury, wire connectors provided with this light fixture are designed to accept only one 12-gauge house wire and two lead wires from the light fixture. If your house wire is larger than 12-gauge or there is more than one house wire to connect to the corresponding fixture lead wires, consult an electrician for the proper size wire connectors to use.
- To reduce the risk of damage to the fixture, DO NOT use power tools to assemble any part of the fixture.
- Failure to caulk fixture mounting surface with silicone weather sealant may result in water damage in outlet box, which may cause electrical malfunction or electrical shock.
- To avoid water damage to fixture or possible electrical malfunction, install fixture at least 4 ft. above the ground/floor.
CAUTION
- TURN OFF ELECTRICITY at main fuse box (or circuit breaker box) before beginning installation by removing the fuse (or switching the circuit breaker off).
- If you are not sure the lighting system has a grounding means, DO NOT attempt to install this fixture. Contact a qualified, licensed electrician for information regarding the proper grounding methods as required by the local electrical code in your area.
- All fixtures must be mounted to an outlet box that is supported by the building structure.
- DO NOT use bulbs having a wattage greater than the maximum value stated on the fixture. The use of bulbs with higher wattage than specified will increase temperatures and risk of fire.
- If a dimmer control switch is used with this fixture, obtain professional advice to determine the correct type to use as well as the electrical rating required.
PREPARATION
Before beginning assembly of product, make sure all parts are present. Compare parts with package contents list and hardware contents list. If any part is missing or damaged, do not attempt to assemble the product.
Estimated Assembly Time: 30 minutes
Tools Required for Assembly (not included): Flathead Screwdriver, Phillips Screwdriver, Wire Strippers, Pliers, Wire Cutters, Safety Glasses, Stepladder, Electrical Tape, Silicone Weather Sealant, Level
Helpful Tools (not included): A/C Tester Light, Do-It-Yourself Wiring Handbook, Soft Cloth
ASSEMBLY INSTRUCTIONS
1. Turn off circuit breakers and wall switch to the fixture supply line leads.
DANGER: Failure to disconnect power supply prior to installation may result in serious injury or death.

2. Remove existing fixture and disconnect all electrical wiring.

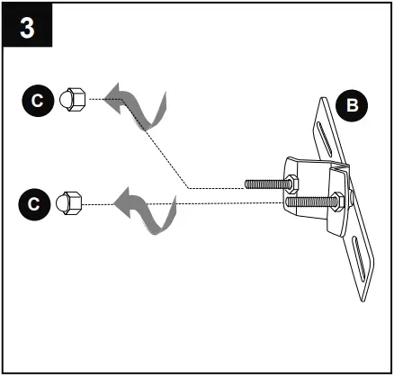
3. Remove two decorative nuts (C) on mounting strap (B).
Save decorative nuts (C) for later use.

4. Attach mounting strap (B) to outlet box (not included) using the existing washers and outlet box screws or the machine screws (BB). NOTE: If the outlet box screws required for your outlet box are of a different size than the machine screws (BB), consult with a licensed electrician before proceeding.
Tighten machine screws (BB) completely to secure mounting strap (B) to outlet box.
Turn crossbar on mounting strap (B) so the screws (D) are level horizontally. [Use a level (not included) to adjust screws (D) parallel with floor and ceiling as needed.] Tighten preassembled set screw, located in the middle of the mounting strap (B), to secure crossbar.

CAUTION: The fixture must be mounted to an outlet box that is supported by the building structure and can support the weight of the fixture. Plastic outlet boxes are not recommended.
Hardware Used
BB Machine Screw
x 2
5. Temporarily place fixture (A) over mounting strap (B) to determine amount of adjustment necessary for screws (D); screws (D) should come through holes in fixture (A) just enough so decorative nuts (C) will fit flush against fixture (A) when mounted.
Once screws (D) are adjusted, use pliers (not included) to tighten nuts (E) on screws (D) until nuts (E) touch mounting strap (B).

6. Remove shade screws (H) from underside of cage (G) and carefully lower shade (F) and cage (G) and set aside for later use. Remove and discard plastic inserts.

7a. Unwrap BARE wire from BLACK and WHITE wires on back of fixture (A). Prepare wire by stripping 1/2 inch of insulation from wire ends using wire strippers (not included).

7b. Connect BARE/GREEN ground wire from outlet box to BARE ground wire from fixture (A) using wire connector (AA). Connect WHITE wire from fixture (A) to WHITE wire from outlet box using existing wire connector or wire connector (AA). Connect BLACK wire from fixture (A) to BLACK wire from outlet box using existing wire connector or wire connector (AA).
NOTE: Screw wire connectors (AA) on in a clockwise direction.
WARNING: Never connect ground wire to WHITE or BLACK power supply wires.
WARNING: To reduce the risk of fire, electrical shock, or personal injury, wire connectors (AA) provided with this light fixture are designed to accept only one 12-gauge house wire and two lead wires from the light fixture. If your house wire is larger than 12-gauge or there is more than one house wire to connect to the corresponding fixture lead wires, consult an electrician for the proper size wire connectors to use.

Hardware Used
AA Wire Connector
x 3
8. Wrap electrical tape (not included) around each individual wire connector (AA) down to the wire.
WARNING: Make sure no bare wire or wire strands are visible after making connections.
Push wire connectors (AA) gently into outlet box. Carefully push excess wiring into outlet box.

9. Align holes in fixture (A) with screws (D) on mounting strap (B) and push fixture (A) toward wall. Attach fixture (A) to mounting strap (B) using the decorative nuts (C) previously removed (step 3, page 5).
NOTE: Check fixture (A) with level, and adjust if necessary, before tightening decorative nuts (C) completely.

10. Install one 60-watt max. standard-base incandescent bulb (not included) or CFL/LED equivalent.
CAUTION: When replacing bulb, please allow bulb, shade (F) and cage (G) to cool down before touching them.

11. Align screw holes at top of cage (G) with holes on fixture (A) and reinsert shade screws (H) previously removed. Securely tighten both shade screws (H).

12. Restore power and test fixture (A).
If light does not function, please refer to TROUBLESHOOTING on the following page.

13. After completing installation, caulk fixture (A) mounting surface with silicone weather sealant (not included).
WARNING: Failure to caulk fixture mounting surface with silicone weather sealant may result in water damage in outlet box, which may cause electrical malfunction or electrical shock.

CARE AND MAINTENANCE
- Shut off main power supply. Wipe fixture with a soft, damp cloth. Use window cleaner to clean shade. Do not use an abrasive cleaner on shade or fixture.
TROUBLESHOOTING
WARNING: Before beginning work, shut off the power supply to avoid electrical shock.
| PROBLEM | POSSIBLE CAUSE | CORRECTIVE ACTION |
| Bulb will not light. |
|
|
| Fuse blows out or circuit breaker trips. |
|
|
WARRANTY
The distributor warrants all of its lighting fixtures against defects in materials and workmanship for one (1) year from the date of purchase. If within this period the product is found to be defective, take a copy of the bill of sale as a proof of purchase and the product in its original carton to the place of purchase. The distributor will, at its option, repair, replace or refund the purchase price to the consumer. All costs of installation and removal of the fixture is the responsibility of the consumer. This warranty does not cover fixtures becoming defective due to misuse, accidental damage or improper handling and/or installation and specifically excludes liability for direct, incidental or consequential damages, improper packaging of returned products and acts of God. As some states do not allow exclusions of limitations on an implied warranty, the above exclusion and limitation may not apply. This warranty gives you specific rights and you may also have other rights which may vary from state to state.
GGLI2109 Printed in China













