Jandy VSFHP185DV2A Variable-Speed Pumps
Important Safety Instructions
READ AND FOLLOW ALL INSTRUCTIONS
Safety Instructions
All electrical work must be performed by a licensed electrician and conform to all national, state, and local codes. When installing and using this electrical equipment, basic safety precautions should always be followed, including the following:
| WARNING RISK OF SUCTION ENTRAPMENT HAZARD, WHICH, IF NOT AVOIDED, CAN RESULT IN SERIOUS INJURY OR DEATH. Do not block pump suction, as this can cause severe injury or death. Do not use this pump for wading pools, shallow pools, or spas containing bottom drains, unless the pump is connected to at least two (2) functioning suction outlets. Suction outlet (drain) assemblies and their covers must be certified to the latest published edition of ANSI®/ASME® A112.19.8, or its successor standard, ANSI/APSP-16. |
| WARNING To reduce the risk of injury, do not permit children to use this product. |
| WARNING To reduce the risk of property damage or injury, do not attempt to change the backwash (multiport, slide, or full flow) valve position with the pump running. |
| WARNING Jandy pumps are powered by a high voltage electric motor and must be installed by a licensed or certified electrician or a qualified swimming pool service technician. |
| WARNING Due to the potential risk of fire, electric shock, or injuries to persons, Jandy pumps must be installed in accordance with the National Electrical Code® (NEC®), all local electrical and safety codes, and the Occupational Safety and Health Act (OSHA). Copies of the NEC may be ordered from the National Fire Protection Association, 1 Batterymarch Park, Quincy, MA 02169, or from your local government inspection agency. |
| WARNING RISK OF ELECTRIC SHOCK, FIRE, PERSONAL INJURY, OR DEATH. Connect only to a branch circuit that is protected by a ground-fault circuit interrupter (GFCI). Contact a qualified electrician if you cannot verify that the circuit is protected by a GFCI. A GFCI should be provided by the installer and should be tested on a routine basis.To test the GFCI, push the test button. The GFCI should interrupt power. Push the reset button. Power should be restored. If the GFCI fails to operate in this manner, the GFCI is defective. If the GFCI interrupts power to the pump without the test button being pushed, a ground current is flowing, indicating the possibility of electrical shock. Do not use the device. Disconnect the device and have the problem corrected by a qualified service representative before using. |
| WARNING Incorrectly installed equipment may fail, causing severe injury or property damage. |
WARNING
|
WARNING To minimize the risk of severe injury or death, the filter and/or pump should not be subjected to the piping system pressurization test. Local codes may require the pool piping system to be subjected to a pressure test. These requirements are generally not intended to apply to the pool equipment such as filters or pumps. Zodiac® pool equipment is pressure tested at the factory. However, if the WARNING cannot be followed and pressure testing of the piping system must include the filter and/or pump, BE SURE TO COMPLY WITH THE FOLLOWING SAFETY INSTRUCTIONS:
NOTICE: These parameters apply to Zodiac equipment only. For non-Zodiac equipment, consult equipment manufacturer. |
WARNING Chemical spills and fumes can weaken pool/spa equipment. Corrosion can cause filters and other equipment to fail, resulting in severe injury or property damage. Do not store pool chemicals near your equipment. |
CAUTION Do not start pump dry! Running the pump dry for any length of time will cause severe damage and will void the warranty. |
CAUTION This pump is for use with permanently installed pools and may also be used with hot tubs and spas, if so marked. Do not use with storable pools. A permanently installed pool is constructed in or on the ground or in a building such that it cannot be readily disassembled for storage. A storable pool is constructed so that it may be readily disassembled for storage and reassembled to its original integrity. |
CAUTION Do not install within an outer enclosure or beneath the skirt of a hot tub. The pump requires adequate ventilation to maintain air temperature at less than the maximum ambient temperature rating listed on the motor rating plate. |
CAUTION In order to avoid premature failure or damage to the pump motor, protect the pump from direct water exposure from sprinklers, water runoff from rooftops and drainage, etc. Failure to comply may cause pump failure, and will also void warranty. |
SAVE THESE INSTRUCTIONS
Pool Pump Suction Entrapment Prevention Guidelines
| WARNING| SUCTION HAZARD. Can cause serious injury or death. Do not use this pump for wading pools, shallow pools or spas containing bottom drains, unless the pump is connected to at least two (2) functioning suction outlets. |
| WARNING Pump suction is hazardous and can trap and drown or disembowel bathers. Do not use or operate swimming pools, spas, or hot tubs if a suction outlet cover is missing, broken, or loose. The following guidelines provide information for pump installation that minimizes risk of injury to users of pools, spas, and hot tubs:Entrapment Protection – The pump suction system must provide protection against the hazards of suction entrapment.Suction Outlet Covers – All suction outlets must have correctly installed, screw-fastened covers in place. All suction outlet (drain) covers must be properly maintained. They must be replaced if cracked, broken, or missing. Drain covers must be listed/certified to the latest published edition of ANSI®/ASME® A112.19.8 or its successor standard, ANSI/APSP-16. The pool must be shut down and bathers must be restricted from entering the pool until any cracked, broken, or missing drain covers are replaced.Number of Suction Outlets Per Pump – Provide at least two (2) hydraulically-balanced suction outlets, with covers, as suction outlets for each circulating pump suction line. The centers of the suction outlets (suction outlets) on any one (1) suction line must be at least three (3) feet apart, center to center. See Figure 1.The system mustbe built to include at least two (2) suction outlets (drains) connected to the pump whenever the pump is running. However, if two (2) suction outlets run into a single suction line, the single suction line may be equipped with a valve that will shut off both suction outlets from the pump. The system shall be constructed such that it shall not allow for separate or independent shutoff or isolation of each drain. See Figure 1.Additional pumps can be connected to a single suction line as long as the requirements above are met.Water Velocity – The maximum water velocity through the suction outlet assembly and its cover for any suction outlet must not exceed the suction outlet assembly and its cover’s maximum design flow rate. The suction outlet (drain) assembly and its cover must comply with the latest version of ANSI®/ASME® A112.19.8, the standard for Suction Fittings For Use in Swimming Pools, Wading Pools, Spas ,and Hot Tubs, or its successor standard, ANSI/ASME APSP-16.Testing and Certification – Suction outlet covers must have been tested by a nationally recognized testing laboratory and found to comply with the latest published edition of ANSI/ASME A112.19.8 or its successor standard, ANSI/APSP-16, the standard for Suction Fittings For Use in Swimming pools, Wading Pools, Spas, and Hot Tubs. Fittings – Fittings restrict flow; for best efficiency use fewest possible fittings (but at least two (2) suction outlets). Avoid fittings that could cause an air trap. Pool cleaner suction fittings must conform to applicable International Association of Plumbing and Mechanical Officials (IAPMO) standards. |
General Description
Introduction
Jandy® Variable Speed Pumps can be run from 600 RPM to 3450 RPM. This allows you to select the most appropriate speed for your application. The pumps are compatible with all Jandy controllers and Zodiac® automation systems. The pump is driven by a variable speed ECM (Electronically Commutated Motor) directly attached to the pump impeller.
The motor spins the impeller which forces water to flow through the pump. As the speed of the motor is varied, the flow through the pump is also varied. The adjustable flow rate allows for optimization of flow during the varying pump cycle requirements. As a result, the energy efficiency of the pump is maximized resulting in cost savings to the pool owner while also helping to save the environment.
This manual contains information for the proper installation, operation, and maintenance of Jandy variable-speed pumps. Procedures in this manual must be followed exactly. To obtain additional copies of this manual, visit Jandy.com.
Product Dimensions
NOTE When installing a pump, leave a minimum of two (2) feet (30 cm) of clearance above the pump for removal of the strainer basket.

| MODEL No. | A Dimensions | B Dimensions | C Dimensions | D Dimensions | E Dimensions | F Dimensions | G Dimensions |
| VSFHP185DV2A | 10″ | 6 1/2″ | 7 3/4″ | 12 3/4″ | 24 1/2″ | 9 1/2″ | 9 1/8″ |
| VSFHP270DV2A | 10″ | 6 1/2″ | 7 3/4″ | 12 3/4″ | 24 1/2″ | 9 1/2″ | 9 1/8″ |
| VSPHP270DV2A | 9 1/8″ | 9″ | 8 7/8″ | 14 1/8″ | 27 5/8″ | 11 5/8″ | 9 1/16″ |
Figure 1. Variable-Speed Pump Dimensions
Product Specifications
Specifications
| Model No. | HP | Voltage | Max Watts | Amps | Union Size | Weight |
| VSFHP185DV2A | 1.85 | 230 VAC 115 VAC | 1,700W 1,800W | 7.5 15.5 | 2″ x 2″ | 44 lb [20kg] |
| VSFHP270DV2A | 2.70 | 230 VAC 115 VAC | 2,550W 1,840W | 10.5 16.0 | 2″ x 2″ | 44 lb [20kg] |
| VSPHP270DV2A | 2.70 | 230 VAC 115 VAC | 2,250W 1,840W | 10.5 16.0 | 2″ x 2 1/2″ | 65 lb [30kg] |
Product Contents
| ITEM | DESCRIPTION |
| 1 | Variable Speed Pump |
| 2 | Installation and Operation Manual |
| 3 | Large Drawstring Bag |
| 4 | Union Nut (2) |
| 5 | Tailpiece (2) |
| 6 | O-Ring (2) |
| 7 | Small Adjustable Base w/Spacers |
| 8 | Large Adjustable Base (Optional R0546400) |

| Model No. | 1 | 2 | 3 | 4 | 5 | 6 | 7 | 8 |
| VSFHP185DV2A | • | • | • | • | • | • | • | |
| VSFHP270DV2A | • | • | • | • | • | • | • | |
| VSPHP270DV2A | • | • | • | • | • | • | NA | NA |
Figure 2. Variable-Speed Pump Carton Contents
Figure 3. Typical Piping Installation 
Figure 4. Number of Suction Outlets Per Pump
Installation Information
Zero Clearance TEFC Motor
The Jandy pumps in this manual feature a Zero Clearance Totally Enclosed Fan Cooled (TEFC) motor. Unlike most TEFC motors which draw in cool air from the back of the fan shroud and require 2″-3″ of clearance, the Jandy Zero Clearance TEFC motor pulls in air from the top, bottom and sides of the fan shroud.The Zero Clearance TEFC motor makes it possible to install the pump with minimal clearance between the back of the fan shroud and potential obstructions such as a fence or foundation. Clearance must still be provided on the sides of the motor and fan shroud to allow for adequate air-flow and maintenance of the pump.
Plumbing
Preparation Information
- Check the pump carton for any damage. If any damage is found, contact the shipper or distributor where the pump was purchased.
- Inspect the contents of the carton and verify that all parts are included.
Pump Location
Zodiac Pool Systems recommends installing the pump within one foot (30 cm) above water level. The pump should not be elevated more than five feet (152 cm). If the pump is located below water level, isolation valves must be installed on both the suction and return lines to
prevent back flow of pool water during any routine or required servicing.
WARNING
A check valve can interfere with the proper operation of certain Suction Vacuum Release System (SVRS) products. To avoid possible en-trapment hazard, serious injury, or death, make sure to review the operation/owners manual of your particular SVRS product before installing the check valve.
WARNING
To Reduce the Risk of Fire, install pool equipment in an area where leaves or other debris will not collect on or around the equipment. Keep sur-rounding area clear of all debris such as paper, leaves, pine-needles and other combustible materials.
CAUTION
In order to avoid premature failure or damage
to the pump motor, protect the pump from direct water exposure from sprinklers, water runoff from rooftops and drainage, etc.. Failure to comply may cause pump failure, and will also void warranty.
NOTE: When the pool equipment is located below the pool surface a leak can result in large scale water loss or flooding. Zodiac Pool Systems LLC cannot be responsible for such water loss or flooding or damage caused by either occurrence.
- Install the pump such that any disconnecting means and/or junction boxes for power connection are within sight of the pump and at least five feet horizontally from the edge of the pool and/or spa. Choose a location that will minimize turns in the piping.
NOTE: In Canada, the minimum distance maintained from the edge of the pool and/or spa as noted above must be 3 meters (10 feet), as required by the Canadian Electrical Code (CEC, CSA C22.1). - Place the pump on a solid foundation that will not vibrate. To further reduce the possibility of vibration noise, bolt the pump to the foundation.
- Assure that the foundation has adequate drainage to prevent the pump motor from getting wet. The pump needs to be protected from the rain and sun.
- Make sure the pump has the proper ventilation to prevent the motor from overheating.
- Allow plenty of space for any maintenances by leaving a clear area around the pump.
- Provide adequate lighting if the equipment is in a potentially dark area.
| Pipe Size | Maximum Flow Suction (6 feet per second) | Maximum Flow Discharge (8 feet per second) |
| 1½” (38 mm) | 37 GPM (140 LPM) | 50 GPM (189 LPM) |
| 2″ (51 mm) | 62 GPM (235 LPM) | 85 GPM (322 LPM) |
| 2½” (64 mm) | 88 GPM (333 LPM) | 120 GPM (454 LPM) |
| 3″ (76 mm) | 136 GPM (515 LPM) | 184 GPM (697 LPM) |
| 4″ (102 mm) | 234 GPM (886 LPM) | 313 GPM (1185 LPM) |
Table 1. Pipe Sizing Chart for Schedule 40 PVC
Installation Recommendations
- To help prevent difficulty in priming, install the suction pipe without high points (above inlet
of pump – inverted “U”s, commonly referred to in plumbing as an airlock) that can trap air. For installations of equipment up to 100 feet (30 m) from the water, refer to Table 1, the pipe sizing chart. For installations of equipment more than 100 feet (30 m) from the water, the recommended pipe size must be increased to the next size.

- The unions on both the suction and discharge ports simplify installation and service while eliminating the possibility of leaks at threaded adapters.
- The pump must be connected to at least two hydraulically-balanced main drains for each pool pump suction line. Each drain (suction outlet) assembly must be provided with covers and must be listed or certified to the latest published edition of ANSI®/ASME® A112.19.8, or its successor standard, ANSI/APSP-16. The suction fittings of the main drains must be at least three feet (1 m) apart or at different planes. The suction fittings can be a drain and skimmer, two drains, two skimmers, or a skimmer with an equalizer line installed. Check the local codes for proper installation.
NOTE To prevent entrapment, the system must be built so it cannot operate with the pump drawing water from only one main drain. At least two main drains must be connected to the pump when it is in operation. However, if two main drains run into a single suction line, the single suction line may be equipped with a valve that will shut off both main drains from the pump. - The piping must be well supported and not forced together where it will experience constant stress.
- Always use properly sized valves. Jandy Diverter Valves and Ball Valves typically have the best flow capabilities.
- Use the fewest possible fittings and limit the use of 90 degree elbows. Each additional fitting or length of pipe increases resistance to flow which makes the pump work harder.
NOTE If more than ten suction fittings are needed, the pipe size must be increased. - Every new installation must be pressure tested according to local codes.
Adjustable Bases (VS FloProTM Models Only)
To replace an existing pump with different dimensions, use the adjustable bases to correctly align the suction and discharge ports with existing plumbing. The VS FloPro base and spacers increase the total height of the pump and the height of the suction side port of the pump. See Figure 5 and Table 2.
Figure 5. Base Configurations (VS FloPro Models Only)
| MINIMUM WIRE SIZE AND MINIMUM OVERCURRENT PROTECTION* | ||||||||
| Distance from Sub-Panel | 0-50 feet (15 meters) | 50-100 feet (15-30 meters) | 100-200 feet (30-60 meters) | |||||
| Pump Model | Inverse – Time Circuit Breaker or Branch Fuse AMPs Class: CC, G, H, J, K, RK, or T 230 VAC 115 VAC | Voltage 230 VAC 115 VAC | Voltage 230 VAC 115 VAC | Voltage 230 VAC 115 VAC | ||||
| VSFHP185DV2A VSFHP270DV2A VSPHP270DV2A | 15A | 20A | 14 AWG (2.1mm2) | 12 AWG (3.3mm2) | 12 AWG (3.3mm2) | 10 AWG (5.3mm2) | 10 AWG (5.3mm2) | 10 AWG (5.3mm2) |
| *Assumes three (3) copper conductors in a buried conduit and 3% maximum voltage loss in branch circuit. All National Electrical Code® (NEC®) and local codes must be followed. Table shows minimum wire size and branch fuse recommendations for a typical installation per NEC. | ||||||||
| Base Configuration | Suction Side Height | Pump Height |
| 1. Pump without Base | 7 3/4” | 12 3/4” |
| 2. Pump with Base | 8 7/8″ | 13 7/8” |
| 3. Pump with Base and Spacers | 9 1/8” | 14 1/8” |
| 4. Pump with Small + Large Base | 10 3/4” | 15 3/4” |
Table 2. Adjustable Base Dimensions (VS FloPro Models Only)
- Using a hand cutter tool, cut the plastic bars connecting the top and bottom sets of spacers, as shown in Figure 6.
- Push the two top spacers and two bottom spacers out of the base.
- Align the pins in the four spacers with the holes in the base. Snap the spacers into place (Fig. 7).

Electrical Installation
Voltage Checks
The correct voltage, as specified on the pump data plate, is necessary for proper performance and long motor
life. Incorrect voltage will decrease the pump’s ability to perform and could cause overheating, reduce the motor life, and result in higher electric bills.
It is the responsibility of the electrical installer to provide data plate operating voltage to the pump by ensuring proper circuit sizes and wire sizes for this specific application.
The National Electrical Code® (NEC®, NFPA-70®) requires all pool pump circuits be protected with a Ground Fault Interrupter (GFCI). Therefore, it is also the responsibility of the electrical installer to ensure that the pump circuit is in compliance with this and all other applicable requirements of the National Electrical Code (NEC) and any other applicable installation codes.
CAUTION
Failure to provide data plate voltage (+/- 10%) during operation will cause the motor to overheat and void the warranty.
Bonding and Grounding
In addition to being properly grounded as described in the Electrical Wiring section, and in accordance with the requirements of the National Electrical Code (NEC), or in Canada the Canadian Electrical Code (CEC), the pump motor must be bonded to all metal parts of the swimming pool, spa or hot tub structure and to all electrical components and equipment associated with the pool/spa water circulation system. The bonding must be accomplished by using a solid copper conductor, No. 8 AWG or larger. In Canada No. 6 AWG or larger must be used. Bond the motor using the external bonding lug provided on the motor frame. See Figure 8.
WARNING
Always disconnect the power source before working on a motor or its connected load.
WARNING
Make sure that the control switch, time clock, or control system is installed in an accessible location, so that in the event of an equipment failure or a loose plumbing fitting, the equipment can be turned off. This location must not be in the same area as the pool pump, filter, and other equipment.
CAUTION
The pump must be permanently connected to a dedicated electrical circuit. No other equipment, lights, appliances, or outlets may be connected to the pump circuit.
Electrical Wiring
The Jandy pump models covered in this installation and operation manual provide separate compartments for high voltage and low voltage wiring.
The low voltage compartment provides 2 openings:
- RS-485 quick connect port (see Figure 8)
- 3/8″ conduit port (threaded)
The high voltage compartment provides 3 conduit port openings:
- 1/2″ (threaded)
- 1/2″ (threadless)
- 3/4″ (threadless)
Conduit fittings are not provided.
- Secure the pump using the green screw provided. Ground before attempting to connect to an electrical power supply. Do not ground to a gas supply line.
- Wire size must be adequate to minimize voltage drop during the start-up and operation of the pump.
- Insulate all connections carefully to prevent grounding or short-circuits. Sharp edges on terminals require extra protection. For safety, and to prevent entry of contaminants, reinstall all conduit and terminal box covers. Do not force connections into the conduit box.
NOTE: When power alone is supplied to this pump, it will not operate. It requires a digital command sent to it by either a variable speed controller (JEP-R, iQPUMP01), an automation system, or use of the dry contacts (See figure 10 and 11).
Variable-Speed Pump Controller
Jandy Variable-Speed pumps are compatible with all controllers and Automation Systems made by Zodiac Pool Systems. The variable-speed pump communicates with the controllers via a four-wire RS-485 interface.
Please see Figure 8 for RS-485 wiring instructions.
Refer to the automation system manual for further instructions on how to connect the pump to an automation system.
Wire the cable to the RS485 connector in order of Red(1), Black(2), Yellow (3), Green (4)
RS485 Cable (22 AWG)
Remove screw and RS485 quick connect port cover
Feed RS485 connec-tor and cable through the RS485 quick connect port and strain relief channel.
Connect the RS485 and secure the RS485 quick connect port cover back into place with the screw.
Figure 8. RS-485 Quick Connect Port with Wiring
Figure 9. Wiring to a Controller
Pump DIP Switch Settings
The motor is equipped with an auto sensing power circuit which illiminates the need for DIP switches 1 and 2. As shown in Figures 9, the 2-position DIP switch serves the function of pump addressing when using multiple pumps. If the pump is connected to a JEP-R controller or iQpump01, DIP switches 3 and 4 must remain in the OFF position. If connecting to an automation system that supports multiple pumps, use the DIP switches (See Table 3) to set the address for the pump and refer to the automation system’s manual for additional instructions.
NOTE DIP switches 3 and 4 must only be used if your Zodiac® Automation system does NOT have RS-485 auto-addressing capabilities.
| Switch 3 | Switch 4 | Pump Address |
| OFF | OFF | PUMP 1 (Factory Default) |
| ON | OFF | PUMP 2 |
| OFF | ON | PUMP 3 |
| ON | ON | PUMP 4 |
Table 3. DIP Switch Settings
Auxiliary Relay Operation
Jandy pump model numbers ending with “2A” are equipped with a terminal bar that provides user access to two built-in Auxiliary Relays. The normally-open relays are activated under certain operating conditions and are intended to be used to control external devices that require system water flow for proper functioning, such as booster pumps, salt water chlorinators, etc. See Figures 10 and 11 for compartment’s location details.
An access cover with Phillips-head screw must be removed before proceeding.
Auxiliary Load Connection Requirements
WARNING
ELECTRICAL SHOCK HAZARD
Due to the potential risk of fire, electric shock, or injuries to persons, Zodiac® Pumps and any auxiliary loads must be installed in accordance with the National Electrical Code® (NEC®), all local electrical and safety codes, and the Occupational Safety and Health Act (OSHA). Copies of the NEC may be ordered from the National Protection Association, 1 Batterymarch Park, Quincy, MA 02169, or from your local government inspection agency.
In Canada, Zodiac Pumps must be installed in accordance with the Canadian Electrical Code (CEC).
- The Auxiliary Load relay contacts are rated at 230V/115V, 11A RMS. Please ensure the requirements of the equipment to be connected to the Auxiliary Load do not exceed this rating.
Auxiliary Relay Operation Characteristics
Auxiliary Relay contact activation is speed dependent. Auxiliary Relay 1 has an activation speed of 1725 RPM and Auxiliary Relay 2 has an activation speed of 2250 RPM.
Contact Closure
From a stopped condition, there is a three-minute delay before the Auxiliary Relay contact is closed when the motor speed reaches and maintains the activation speed.
Once the three minute run time criteria has been reached, when going from an RPM below the activation speed to an RPM above the activation speed, there is a 5-second delay before the Auxiliary Relay contact is closed.
Contact Opening
When going from an RPM above the activation speed to an RPM below the activation speed, the relay opening is always immediate.
Dry Contact Operation
Dry contacts can be used as a controller if a Zodiac controller is not connected to the RS-485 line. By jumping one of the inputs to common, it will turn on the pump, prime, and go to a pre-determined speed indefinitely until the short is broken (See Figure 10 & 11). If no inputs are jumped to common, the RPM is zero. These speed settings cannot be changed unless
a Zodiac controller is connected. When any Zodiac controller is connected through RS-485, all dry contact commands will be ignored.
Figure 10. 230V Auxiliary Relay Wiring Diagram*
Figure 11. 115V Auxiliary Relay Wiring Diagram*
WARNING
ELECTRICAL SHOCK HAZARD
Due to the potential risk of fire, electric shock, or injuries to persons, Zodiac® Pumps and any auxiliary loads must be installed in accordance with the National Electrical Code® (NEC®), all local electrical and safety codes, and the Occupational Safety and Health Act (OSHA). Copies of the NEC may be ordered from the National Protection Association, 1 Batterymarch Park, Quincy, MA 02169, or from your local government inspection agency.
In Canada, Zodiac Pumps must be installed in accordance with the Canadian Electrical Code (CEC).
- he Auxiliary Load relay contacts are rated at 230V/115V, 11A RMS. Please ensure the requirements of the equipment to be connected to the Auxiliary Load do not exceed this rating.
Pump Lid Removal
- Make sure that the pump is turned OFF.
- Make sure that the switch to the circuit breaker to the motor is turned OFF.
- Make sure all necessary isolation valves are closed to prevent water from reaching the pump.
- Following the markings on the locking ring, turn the ring counter-clockwise until the ‘START’ markings align with the ports. See Figures 12.
- Carefully remove the lid with locking ring.
WARNING
ELECTRICAL SHOCK HAZARD
Turn off all switches and the main breaker in the variable-speed pump electrical circuit before starting the procedure. Failure to comply may cause a shock hazard resulting in severe personal injury or death.
WARNING
ELECTRICAL SHOCK HAZARD
Due to the potential risk of fire, electric shock, or injuries to persons, Zodiac® Pumps must be installed in accordance with the National Electrical Code®
(NEC®), all local electrical and safety codes, and the Occupational Safety and Health Act (OSHA). Copies of the NEC may be ordered from the National Protection Association, 1 Battery march Park, Quincy, MA, 02169, or from your local government inspection agency. In Canada, Zodiac Pumps must be installed in accordance with the Canadian Electrical Code (CEC).
Figure 12. Disengage Lock Ring
Figure 13. O-ring in Lid Assembly
Figure 14. Remove Pump Lid
Conduct Pressure Test
WARNING
When pressure testing a system with water, air is often trapped in the system during the filling process. This air will compress when the system is pressurized. Should the system fail, this trapped air can propel debris at a high speed and cause injury. Every effort to remove trapped air must be taken, including opening the bleed valve on the filter and loosening the pump basket lid while filling the pump.
WARNING
Trapped air in the system can cause the filter lid to be blown off, which can result in death, serious injury, or property damage. Be sure all air is properly purged out of the system before operating. DO NOT USE COMPRESSED AIR TO PRESSURE TEST OR CHECK FOR LEAKS.
WARNING
ELECTRICAL SHOCK HAZARD
Do not pressure test above 35 PSI. Pressure testing must be done by a trained pool professional. Circulation equipment that is not tested properly might fail, which could result in severe injury or property damage.
WARNING
When pressure testing the system with water, it is very important to make sure that the pump basket lid is completely secure.
- Fill the system with water to eliminate trapped air.
- Pressurize the system with water to no more than 35 PSI.
- Close the valve to seal the water in the system.
- Observe the system for any leaks or pressure decay.
- If there are lid leaks, repeat this procedure. For Zodiac Technical Support, call 800.822.7933
Operation
Start-up
CAUTION
Never run the pump without water. Running the pump “dry” for any length of time can cause severe damage to both the pump and motor and will void the warranty.
If this is a new pool installation, make sure all piping is clear of construction debris and has been properly pressure tested. The filter should be checked for proper installation, verifying that all connections and clamps are secure according to the manufacturer’s recommendations.
WARNING
To avoid risk of property damage, severe personal injury or death, verify that all power is turned off before starting this procedure.
- Depending on the location of the pump, do one of the following:
- If the pump is located below the water level of the pool, open the filter pressure release valve to prime the pump with water.
- If the pump is located above the water level of the pool, remove the lid and fill the basket with water before starting the pump.
- Prior to replacing the lid, check for debris around the lid o-ring seat. Debris around the lid o-ring seat will cause air to leak into the system and will make it difficult to prime the pump.
- Hand-tighten the lid to make an air tight seal. Do not use any tools to tighten the lid: hand-tighten only. Make sure all valves are open and the unions are tight. Restore power to the pump.
- Once all the air has left the filter, close the pressure release valve.
The pump should prime. The time it takes to prime will depend on the elevation and length of pipe used on the suction supply pipe. See Installation Recommendations in Section 3.1 for proper elevation and pipe size.
The default priming speed is 2750 RPM. The pump will take approximately 14-15 minutes to prime at this priming speed when the pump is located 10 feet above the pool water. If priming speed is adjusted to 3450 RPM, the pump should prime within 6 minutes at 10 feet above the water level.
NOTE The pump is NSF-certified as being able to prime at heights up to 10 ft above the pool water level, at sea level. However, to achieve better self-priming, install the pump as close as possible to the water level of the pool.
If the pump does not prime and all the instructions to this point have been followed, check for a suction leak. If there is no leak, repeat Steps 2 through 7.
For technical assistance, call Zodiac Technical Support at 800.822.7933.
Service & Maintenance
CAUTION
To avoid damage to the plastics, do not use lubricant or sealant on the o-ring. Only soapy water should be used to install and lubricate the o-ring.
Routine Maintenance
Inspect the pump filter basket for debris by looking through the clear pump lid. Remove any debris, because as debris accumulates, it will begin to block the flow of water through the pump. Keep the basket clean to improve the performance of the pump.
- Turn off the power to the pump. If the pump is located below the water level, close the isolation valves on the suction and discharge sides of the pump to prevent backflow of water.
- Turn the locking ring counter-clockwise until
‘START’ aligns with the ports. Carefully remove the lid. - Lift the basket out of the pump.
- Dispose of the debris and thoroughly clean the basket, making sure all the holes are open. Using a garden hose, spray the basket from the outside to help clear the holes. Remove any remaining debris by hand.
- Replace the basket in the pump by aligning the opening with the suction pipe. If aligned properly, the basket will drop easily into place. Do not force it into place.
CAUTION
A misaligned basket will cause the lid to be improperly seated, allowing an air leak, which could result in pump damage. - Remove the lid seal and remove debris around the lid seal seat, as this can allow air to leak into the system. Clean the lid seal and place it on the lid.
- Replace the lid with locking ring. Hand-tighten the lid to make an air-tight seal. Do not use any tools to tighten the lid: hand-tighten only.
- Verify that all valves have been returned to the proper position for normal operation.
- Open the pressure release valve on the filter, and make sure it is clean and ready for operation.
- Turn on the power to the pump. Once all the air has been evacuated from the filter, close the pressure release valve.
Winterizing the Pump
CAUTION
The pump must be protected when freezing temperatures are expected. Allowing the pump to freeze will cause severe damage and void the warranty.
CAUTION
Do not use antifreeze solutions in the pool, spa, or hot tub systems! Antifreeze is highly toxic and may damage the circulation system. The only exception to this is Propylene Glycol. For more information, see your local pool/spa supply store or contact a qualified swimming pool service company.
- Drain all water from the pump, system equipment, and piping.
- Remove the two (2) drain plugs. Store the drain plugs in a safe location and reinstall them when the cold weather season is over. Ensure the drain plugs and o-rings are not misplaced.
- Keep the motor covered and dry. Do not cover the pump with plastic, because this will create condensation that will damage the pump.
NOTE Zodiac Pool Systems LLC recommends having a qualified service technician or electrician properly disconnect the electrical wiring at the switch or junction box. Once the power is removed, loosen the two (2) unions and store the pump indoors. For safety, and to prevent entry of contaminants, reinstall all conduit and terminal box covers. - When the system is reopened for operation, have a qualified technician or electrician make sure all piping, valves, wiring and equipment are in accordance with the manufacturer’s recommendations. Pay close attention to the filter and electrical connections.
- The pump must be primed prior to starting. Refer to Section 4.1, Start-up.
Troubleshooting and Repair
Zodiac strongly recommends that you call a qualified service technician to perform any repairs on the filter/pump system. To locate a qualified technician, check your local yellow pages or visit ZodiacPoolSystem.com or ZodiacPoolSystem.ca and click on “Dealer Locator.”
| Symptom | Possible Cause/Solution |
| Motor won’t start or the controller does not detect the motor | No power to the motor. Have a certified professional check the voltage on the main power terminal with the breaker on. The voltage must be within 10% of the motor rating plate voltage. |
| The motor experienced an error. Power cycle the motor. If the motor has experienced an error, a fault code may appear on the controller. In order to clear the error, turn off the main breaker connected to the motor. Wait at least 5 minutes before returning power to the motor. The voltage in the capacitors must be completely drained for a proper power cycle. | |
| Improper low voltage wiring. The RS-485 connection must be secure with no broken wires. Inspect the low voltage wiring for signs of corrosion. If necessary cut the wires off and strip new leads. Make sure there are not any broken pieces of wire inside the RS-485 connector. | |
| Broken low voltage wiring. The wire may have breaks somewhere between the motor and the controller. With all power off, take a multimeter and set it to Ohms/Continuity. Check continuity of each of the low voltage lines from the motor side to the controller side. Replace the RS-485 wires completely if necessary. | |
| Improper low voltage wiring. Check the wiring of the RS-485 connector. Wire colors for pins 1-4 should be Red, Black, Yellow, Green. | |
| Test the drive with the RS-485 jumper method. Using small sections of 22 AWG wire, jump pins 1 to 3 and 2 to 4. These wires can be made by cutting off a section of the RS-485 wires. Re-install the connector and attach the access cover. Apply power to the motor. The motor should spin at 2600 RPM indefintely. If the motor works, there is a problem with the RS-485 line or with the controller. Contact Zodiac Technical Support at 800.822.7933 | |
| DIP switches in the wrong configuration. The variable speed drive has two DIP switches; 3 and 4. These must both be in the OFF position for Pump 01. This is the configuration for all controllers that are not automation and the first pump for automation. If more than one variable speed pump is being controlled with an automation system, they must be in the proper configuration. Refer to the DIP switch section of the manual to configure the other motors. | |
| Check the schedule. The motor will only turn on during programmed times set in the controller. Verify that the motor is scheduled to turn on at that time. | |
| If the motor still has problems starting or continues to show faults, contact Zodiac Technical Support at 800.822.7933 | |
| Motor starts but shuts off soon after | Debris may be stuck between the impeller and the diffuser. This will prevent the drive shaft from spinning and will cause the motor to experience an error. Have a certified professional check to see if the drive shaft is seized with all power off. A quick test can be inserting a 5/16″ allen wrench through the back of the fan housing and into the drive shaft. Manually spin the drive shaft to check if it is seized. If large amounts of debris are found, check your strainer basket for breaks. Replace the strainer basket if necessary. |
| If the motor still has problems starting, contact Zodiac Technical Support at 800.822.7933 | |
| The motor gets hot and shuts off periodically | Make sure that there is adequate room around the motor to circulate air and keep the motor cool. Have a qualified electrician check for loose connections and check the voltage at the motor while it is in operatoin. If the main voltage is outside of 10% of the motor rating plate, the motor may be experiencing excessive loads. Contact your local power surface provider. |
| No power to controller | This is exclusive to any contoller that is not an automation system. The motor has the ability to power controllers through the RS-485 line. Have a certified electrition test the voltage on the RS-485 line while there is power to the motor. There should be between 8 and 12 Volts DC between pins 1 and 4. If the voltage is below or non existant, contact Zodiac Technical Support at 800.822.7933. |
| Improper low voltage wiring. Check the wiring of the RS-485 connector. Wire colors for pins 1-4 should be Red, Black, Yellow, Green. | |
| Auxiliary relays not working | Make sure that the motor is spinning at least 1725 RPM for equipment wired to Aux 1 and 2250 RPM for equipment wired to Aux 2. When first turning on the pump, there is a 3 minute delay before any contacts close. Allow 5 seconds before contacts close when minimum contact speed is reached. |
| The problem may be with the equipment wired to the relay. See the owners manual for the equipment to make sure the auxiliary equipment has not failed. | |
| If the relays are still not engaging, contact Zodiac Technial Support at 800.822.7933 | |
| Dry Contacts not working | Test the drive with the RS-485 jumper method. Using small sections of 22 AWG wire, jump pins 1 to 3 and 2 to 4. These wires can be made by cutting off a section of the RS-485 wires. Re-install the connector and attach the access cover. Apply power to the motor. The motor should spin at 2600 RPM indefintely. If the motor works, there is a problem with the dry contacts or the dry contact lines. Contact Zodiac Technical Support at 800.822.7933 |
| Broken low voltage wiring. The wire may have breaks somewhere between the motor and the external switches. With all power off, take a multimeter and set it to Ohms/ Continuity. Check continuity of each of the low voltage lines from the motor side to the controller side. Replace the dry contact wires completely if necessary. |
Service Technician Maintenance
CAUTION
This pump must be serviced by a professional service technician qualified in pool/spa installation. The following procedures must be followed exactly. Improper installation and/or operation can create dangerous electrical hazards, which can cause high voltages to run through the electrical system. This can cause property damage, serious personal injury, and/or death. Improper installation and/or operation will void the warranty.
Blocked Impeller
WARNING
Before servicing the pump, switch off the circuit breakers at the power source. Severe personal injury or death may occur if the pump starts while your hand is inside the pump.
- Turn off the pump. Switch off the circuit breaker to the pump motor.
- Remove the lid and basket.
- Look inside the pump and remove any debris.
- Replace the basket and lid.
- Switch on the circuit breaker to the pump motor.
- Turn on the pump, and see if the problem is solved.
- If the impeller is still blocked with debris and it
is not possible to remove the debris using Steps 2 through 4, the pump will need to be disassembled in order to access the inlet and outlet of the impeller.
Product Specifications and Technical Data
For a complete list of replacement parts, please visit www.Jandy.com or contact Zodiac Technical Support at 1.800.822.7933 or email [email protected]. In Canada, please call 1.888.647.4004 or email [email protected].
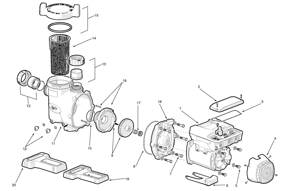
Exploded Views
Exploded view for general reference only. Specific models may differ. Please refer to contact information above to obtain spare parts information for specific pump models.
Figure 15. Jandy DV2A Model Variable Speed Pump Exploded View
- Motor, Drive
- Access Cover
- Access Cover O-Ring
- Fan Cover
- Motor Hardware
- Motor Mounting Foot
- Backplate Hardware
- Backplate O-Ring
- Impeller and Hardware
- Diffuser O-Ring
- Pump Body
- Drain Plugs with O-Ring
- Tail Piece, O-Ring and Union Nut
- Pump Debris Filter Basket
- Locking Ring and O-Ring
- Diffuser and Hardware
- Mechanical Seal
- Backplate
- Small adjustable base w/spacers (VSFHP Models Only)
- Large Adjustable Base (Optional part # R0546400 for use with VSFHP Models Only)
Performance Curves
Flow Rate, Gallons Per Minute (GPM)
Flow Rate, Gallons Per Minute (GPM)

Zodiac Pool Systems LLC
2882 Whiptail Loop # 100, Carlsbad, CA 92010
Zodiac Pool Systems Canada, Inc.
2-3365 Mainway, Burlington, ON L7M 1A6 Canada
USA | Jandy.com | 1.800.822.7933
Canada | Jandy.ca | 1.888.647.4004
©2019 Zodiac Pool Systems LLC. All rights reserved. All other trademarks are the property of their respective owners. H0661900_REVC






















