INSTRUCTION MANUAL

ALE
Automatic-Feed Soldering Control Unit
This manual corresponds to the following references:
With Solder Wire Perforation
for wire ø 0.8mm:
– ALE-908UVA (100V)
– ALE-108UVA (120V)
– ALE-208UVA (230V)
for wire ø 1.0mm:
– ALE-910UVA (100V)
– ALE-110UVA (120V)
– ALE-210UVA (230V)
for wire ø 1.2mm.
– ALE-212UVA (230V)
for wire ø 1.6mm:
– ALE-216UVA (230V)
Without Solder Wire Perforation:
for wire ø 0.4mm:
– ALE-204UA (230V)
for wire ø 0.5mm:
– ALE-205UA (230V)
for wire ø 0.8mm:
– ALE-208UA (230V)
for wire ø 1.0mm:
– ALE-110UA (120V)
Packing List
The following items are included in all references:

Automatic-Feed
Soldering Control Unit …. 1 unit

Power Cord …………….. 1 unit
Ref. 0023717 (120V)
0024080 (230V)

Manual …………………….. 1 unit
Ref. 0030217
Key Set for SF / AL* …… 1 unit
Ref. 0019341 includes:

Spanner ……….. 1 unit

Allen Key
Ø 1,5 …………….. 1 unit

Allen Key
Ø 2,5 …………….. 1 unit
*already assembled in ALE Control Unit

The following items are included according purchased reference:

- Components already assembled in Control Unit
Solder Wire Guide Kit ………………………………………………………………………. 1 unit
With solder wire perforation: Without solder wire perforation:
for wire Ø 0.8 mm / Ø 0.032 in for wire Ø 0.38 – 0.4 mm / Ø 0.015 – 0.016 in
– Ref. GALE08V-A – Ref. GALE04D-A
for wire Ø 1.0 mm / Ø 0.040 in for wire Ø 0.46 – 0.56 mm / Ø 0.018 – 0.022 in
– Ref. GALE10V-A – Ref. GALE05D-A
for wire Ø 1.2 mm / Ø 0.047 in for wire Ø 0.80 – 0.82 mm / Ø 0.032 – 0.033 in
– Ref. GALE12V-A – Ref. GALE08D-A
for wire Ø 1.6 mm / Ø 0.063 in for wire Ø 0.90 – 1.10 mm / Ø 0.036 – 0.044 in
– Ref. GALE16V-A – Ref. GALE10D-A

Warning!
For correct operation, it must be chosen the guide kit that corresponds to the solder wire diameter in use. The components (wheels, clamps and nozzles) which are included in the corresponding guide kit must be assembled to ALE.
Features and Connections

- ALE250
Automatic-Feed Soldering Iron* - ALE
Automatic-Feed Soldering Control Unit - SOLDER WIRE GUIDE
Kit for ALE250 availabe for different solder wire diameters see page 11 + 12 - Main Switch
- USB-A Connector
- Control Screen
- Solder Reel Stand

- ALES
Stand for ALE250 Automatic-Feed Soldering Iron* - To Peripherials
- RJ12 Connection for Robot System
- Pedal Connection
- USB-B Connector
- below
- Power Socket
- Equipotential Connection
- Fuse
- Allen Key and Spanner Storage
- Solder Wire Inlet
*not included
Solder Reel Assembly

- Axis
- Solder Reel
- Solder Wire
- Solder Wire Guidedance
- Reel Locking Screw
- Reel Locking
Open the reel locking screw (1) and remove the reel locking (2) from the axis.
Assemble the solder reel onto the axis (3) and reassemble the reel locking screw (1). The flat side of the axis must align with the inner flat side of the reel locking.
Note: Press lightly the reel locking (1) down before tightening the reel locking screw (2) to prevent free reel spinning.
Insert the solder reel in such a way – when viewed from above – that the solder wire unwinds on the dispensing mechanism side (4).

- Silder Wire Unwinding Direction
- Solder Wire
Tool Assembly
Connect the tool to the control unit following these steps:
Insert and push the guide nozzle until the end (1) and tighten the screw (2). Then connect the tool connector (3).

- Screw
- Insert until the end
Solder Wire Loading
Pass the solder wire through the wire guidance and introduce the solder wire into the inlet nozzle (1) until it reaches the wheels (2).

- Wheels
- Wire Guidance
- Inlet Nozzle
Make sure the wire passes through the Intermediate Nozzle (5) and enters into the Guide Tube (6).

- Guide Tube
- Intermediate Nozzle
- Wire
Access to Main Menu by
, select “Feeder Settings” (1) and then “Wire Diameter” (2) to adjust the value to the current solder wire diameter.

Tin Reloaded Process Screen
Select “Tin Reloaded Process” (1) and then use
to feed the solder wire and advance until it comes out through the outlet nozzle. Keep
pressed and after a while, the wire will advance faster.

Solder Wire Feeding
Forward the solder wire by pushing the dragging button (4) until the wire comes out of the tip (5).

- Solder Wire Dragging Button
To feed the solder wire, alternatively, the pedal P405 can be used. The pedal should be plugged in at the rear of the feeder control unit into the pedal connector.

Control Process
Feeder Setting Modes
Choose between “continuous”, “discontinuous” and “program” mode. Access to Main Menu by
, select “Feeder Settings” and then “Mode”.

Depending on the selected mode, different parameters are available for setup.
Continuous Mode Discontinuous Mode Program Mode

Troubleshooting
Station troubleshooting available on the product page at www.jbctools.com
Program Mode

Quick Access to Feeder Setting Modes
The solder wire dispensing values can be directly set up from the work screen.
Press
or
to change the tool temperature value.
When the main screen is displayed, by pressing
button speed and length value can be set up.
The following parameters can be changed according to the different dispensing modes:
– Contiunous Mode: Speed
– Discontinuous Mode: Speed and length
– Program Mode: 3 feeding parameter pairs (length and speed) for every program.
Note: First select the program to be modified at the work screen by using
and
to switch between the programs.

- Program number #
Default PIN: 0105

- Language
- Station Settings
- *choose between mm and inches
- Feeder Settings
- Tool Settings
- Counters
- * partial and total counters are shown
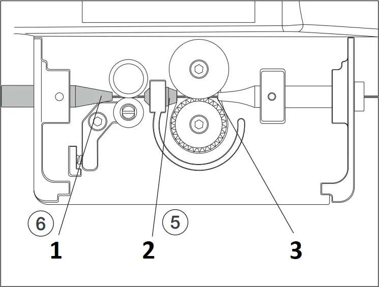
Changing Guide Kits
Changing Wheels and Blade
For this operation, disconnect the device from the mains. Disconnect the tool from the control unit and open its cover.
First disassemble the guide tube (6), the nozzles (2)+(3), then the wheels, blade and clamp (4)+(5). Disassemble the counter wheel (1). Use the Allen key and the spanner, provided with the station.
Assembly with Solder Wire Perforation:
Assemble the counter wheel (1).
Insert the intermediate nozzle (2) until its collar rests against the housing and tighten the screw.
Assemble the inlet nozzle (3).
Assemble the guide wheel* (4) and tighten the screw.
Assemble the blade first, then mount the blade clamp (5) onto the same axis and tighten the screw. Caution: handle the blade carefully to avoid injury.
Insert the guide set (6).

- Guide Wheel *
- Blade Clamp
- Blade
- Inlet Nozzle
- Interm. Nozzle
- Counter Wheel
- Guide Set
Assembly without Solder Wire Perforation:
Assemble the counter wheel (1).
Insert the intermediate nozzle (2) until its collar rests against the housing and tighten the screw.
Assemble the inlet nozzle (3).
Assemble the support wheel* (4) onto the axis and tighten the screw.
Assemble the traction wheel (5) and tighten the screw.
Insert the guide set (6).
* wheel bears diameter marking

- Interm. Nozzle
- Support Wheel *
- Traction Wheel
- Inlet Nozzle
- Counter Wheel
- Guide Set
Accessories
Various guide sets are available. Select the appropriate guide set depending on the solder wire diameter to be used.
Solder Wire Guide Kits
for ALE250 with Solder Wire Perforation
WITH SOLDER WIRE PERFORATION
Wire diameter | ||
| XX | Diameter of use | |
08 | Ø0,8 mm | Ø0,032 in |
| 10 | Ø1,0 mm | Ø0,040 in |
12 | Ø1,2 mm | Ø0,047 in |
| 15 | Ø1,5 mm | Ø0,059 in |
16 | Ø1,6 mm | Ø0,063 in |
Guide tube | ![]() | |
GALE08V-A | 0028358 | |
GALE10V-A | 0028359 | |
GALE12V-A | 0028360 | |
GALE15V-A | 0028361 | |
GALE16V-A | 0028363 |
SPARE PARTS

Accessories
Solder Wire Guide Kits
for ALE250 without Solder Wire Perforation
WITHOUT SOLDER WIRE PERFORATION
Wire diameter | ||
| XX | Range of use | |
04 | Ø0.38 – 0.40 mm | Ø0.015 – 0.016 in |
| 05 | Ø0.46 – 0.56 mm | Ø0.018 – 0.022 in |
06 | Ø0.60 – 0.64 mm | Ø0.023 – 0.025 in |
| 07 | Ø0.70 – 0.78 mm | Ø0.028 – 0.031 in |
08 | Ø0.80 – 0.82 mm | Ø0.032 – 0.033 in |
| 10 | Ø0.90 – 1.10 mm | Ø0.036 – 0.044 in |
12 | Ø1.14 – 1.27 mm | Ø0.045 – 0.051 in |
| 15 | Ø1.50 -1.57 mm | Ø0.060 – 0.063 in |
16 | Ø1.60 -1.63 mm | Ø0.063 – 0.065 in |
| 18 | Ø1.80 mm | Ø0.073 in |
| Guide tube | ![]() | |
| GALE04D-A | 0028358 | |
GALE05D-A | ||
GALE06D-A | ||
GALE07D-A | 0028359 | |
GALE08D-A | ||
GALE10D-A | 0028360 | |
| GALE12D-A | 0028361 | |
GALE15D-A | 0028362 | |
| GALE16D-A | 0028363 | |
GALE18D-A | 0028493 |
SPARE PARTS

Maintenance
Before carrying out maintenance, always switch the device off and disconnect it from the mains. Allow the equipment to cool down.
– Clean the station screen with a glass cleaner or a damp cloth.
– Use a damp cloth to clean the casing and the tool. Alcohol can only be used to clean the metal parts.
– Periodically check that the metal parts of the tool and stand are clean so that the station can detect the tool’s status.

- Clean periodically
– Maintain the tip surface clean and tinned prior to storage in order to avoid tip oxidation. Rusty and dirty surfaces reduce heat transfer to the solder joint.
– Periodically check all cables and tubes.
– Replace a blown fuse as follows:
1. Pull off the fuse holder and remove the fuse. If necessary use a tool to lever it off.

- Fuse Holder
2. Insert the new fuse into the fuse holder and return it to the station.

- Fuse
- Fuse Holder
– Replace any defective or damaged pieces. Only use original JBC spare parts.
– Repairs should only be performed by a JBC authorized technical service.
Safety
It is imperative to follow safety guidelines to prevent electric shock, injury, fire or explosion.
– Do not use the units for any purpose other than soldering or rework. Incorrect use may cause a fire.
– The power cord must be plugged into approved bases. Be sure that it is properly grounded before use. When unplugging it, hold the plug, not the wire.
– Do not work on electrically live parts.
– The tool should be placed in the stand when not in use in order to activate the sleep mode. The soldering tip or nozzle, the metal part of the tool and the stand may still be hot even when the station is turned off. Handle with care, including when adjusting the stand position.
– Do not leave the appliance unattended when it is on.
– Do not cover the ventilation grills. Heat can cause inflammable products to ignite.
– Avoid flux coming into contact with skin or eyes to prevent irritation.
– Be careful with the fumes produced when soldering.
– Keep your workplace clean and tidy. Wear appropriate protection glasses and gloves when working to avoid personal harm.
– Utmost care must be taken with liquid tin waste which can cause burns.
– This appliance can be used by children over the age of eight and also persons with reduced physical, sensory or mental capabilities or lack of experience provided that they have been given adequate supervision or instruction concerning the use of the appliance and understand the hazards involved. Children must not play with the appliance.
– Maintenance must not be carried out by children unless supervised.
Notes
Specifications
ALE
Automatic-Feed Soldering Control Unit
With Solder Wire Perforation
for wire ø 0.8mm:
Ref. ALE-908UVA – 100V 50/60Hz. Input fuse: T2A. Earthing Fuse: F 1.25A. Output: 23.5V
Ref. ALE-108UVA – 120V 50/60Hz. Input fuse: T2A. Earthing Fuse: F 1.25A. Output: 23.5V
Ref. ALE-208UVA – 230V 50/60Hz. Input fuse: T1A. Earthing Fuse: F 1.25A. Output: 23.5V
for wire ø 1.0mm:
Ref. ALE-910UVA – 100V 50/60Hz. Input fuse: T2A. Earthing Fuse: F 1.25A. Output: 23.5V
Ref. ALE-110UVA – 120V 50/60Hz. Input fuse: T2A. Earthing Fuse: F 1.25A. Output: 23.5V
Ref. ALE-210UVA – 230V 50/60Hz. Input fuse: T1A. Earthing Fuse: F 1.25A. Output: 23.5V
for wire ø 1.2mm.
Ref. ALE-212UVA – 230V 50/60Hz. Input fuse: T1A. Earthing Fuse: F 1.25A. Output: 23.5V
for wire ø 1.6mm:
Ref. ALE-216UVA – 230V 50/60Hz. Input fuse: T1A. Earthing Fuse: F 1.25A. Output: 23.5V
Without Solder Wire Perforation
for wire ø 0.4mm:
Ref. ALE-204UA – 230V 50/60Hz. Input fuse: T1A. Earthing Fuse: F 1.25A. Output: 23.5V
for wire ø 0.5mm:
Ref. ALE-205UA – 230V 50/60Hz. Input fuse: T1A. Earthing Fuse: F 1.25A. Output: 23.5V
for wire ø 0.8mm:
Ref. ALE-208UA – 230V 50/60Hz. Input fuse: T1A. Earthing Fuse: F 1.25A. Output: 23.5V
for wire ø 1.0mm:
Ref. ALE-110UA – 120V 50/60Hz. Input fuse: T2A. Earthing Fuse: F 1.25A. Output: 23.5V
– Output Peak Power: 130 W / 23.5 V
– Selectabe Temperature Range: 90 – 450 °C / 190 – 840 °F
– Idle Temp. Stability (still air): ±1.5ºC / ±3ºF (Meets and exceed IPC J-STD-001)
– Temp. Accuracy: ±3% (Using reference cartridge)
– Temp. Adjustment: ±50ºC / ±90ºF (Through station menu settings)
– Connections: USB-A Uptade and files import-export
USB-B Software PC
RJ12 Fume extractor connection
– Equipontencial bonding: Optional connection to EPA
– Tip to Ground Voltage/Resistance: <2 mV RMS / <2 ohms
Meets and exceed
ANSI/ESD S20.20-2014 / IPC J-STD-001F
– Ambient Operating Temp: 10 – 50 ºC / 50 – 122 ºF
– Solder Wire Diameter: According purchased reference
– Max. Wire Length: 250 mm / 9.84 in (for discontinous + program mode)
– Min. Wire Length: 0.5 mm / 0.02 in
– Forward Speed Range 0.5 to 50 mm/s / 0.02 to 1.97 in/s
– Speed of Backward Funktion 0.0 to 5.0 mm/s / 0.5 to 0.20 in/s
– Number of Programs: 5 Programs
– Number of Program Steps: 1 to 3 Steps (for each program)
– Control Unit Dimensions: 235 x 145 x 150 mm
(L x W x H) 9.25 x 5.71 x 5.91 in
– Total Net Weight: 5.81 kg / 12.81 lb
– Package Dimensions / Weight: 368 x 368 x 195 mm / 6.72 Kg
(L x W x H) 14.49 x 14.49 x 7.68 in / 14,82 lb
Compatible Solder Reel:
– Reel Weight: Up to 2 kg / 4.41 lb
– Max. Reel Diameter: 100 mm / 3.94 in
– Max. Reel Height: 100 mm / 3.94 in
Complies with CE standards.
ESD safe.
![]()
Warranty
JBC’s 2 year warranty covers this equipment against all manufacturing defects, including the replacement of defective parts and labour.
Warranty does not cover product wear or misuse.
In order for the warranty to be valid, equipment must be returned, postage paid, to the dealer where it was purchased.
Get 1 extra year JBC warranty by registering here: https://www.jbctools.com/productregistration/ within 30 days of purchase.
This product should not be thrown in the garbage.
In accordance with the European directive 2012/19/EU, electronic equipment at the end of its life must be collected and returned to an authorized recycling facility.

0030217-130123




















