laia Broadcaster 20 Multipurpose Camera User Manual
Copyright Notice
All contents of this manual, whose copyright belongs to our Corporation cannot be cloned, copied or translated without the permission of the company. Product specifications and information which were referred to in this document are for reference only. We may change, delete, or update any content at any time and without prior notice.
Warning; This is class A production. Electromagnetic radiation at specific frequencies may affect the image quality of TV in home environment.
Note
- Electric Safety
Installation and operation must accord with electric safety standard. - Use caution to transport
Avoid stress, vibration or soakage in transport, storage and installation. - Polarity of power supply
The power supply of this product is +12V, the max electrical current is 2A. Polarity of the power supply plug drawing shows as below.
- Installation Precautions
Do not grasp the camera lens when carrying it. Don’t touch camera lens by hand. Mechanical damage may be caused by doing so. Do not use in corrosive liquid, gas or solid environment to avoid any cover (plastic material) damage. Make sure there is no obstacle within rotation range.
Please never power on before installation is completed. - Do not dismantle the camera We are not responsible for any unauthorized modification or dismantling.
Warning: Specific frequencies of electromagnetic field may affect the image of the camera!
Packing List
When you unpack, check that all the supplied accessories are included:
| Name | Quantity |
| Camera | 1 |
| AC Power Adaptor | 1 |
| Power Cable | 1 |
| RS232 Cable | 1 |
| Remote Control | 1 |
| User Manual | 1 |
Quick Start
- Please check connections are correct before starting

- Connect the power adapter to the power connector on the rear panel of the camera. The power indicator on the front panel of the camera is on.
- After the camera is powered on, it starts to initialize, right up to the limit position, and then both horizontal and vertical go to the middle position, the motor stops running, and the initialization is completed.
(Note: If preset 0 is saved, PTZ will be move to preset 0)
About Product
Features
- H.265 Encode
It supports H.265 encode, enabling transmit full HD 1080p video stream by ultra-low bandwidth. - 1080P Full HD
Apply Panasonic’s high quality HD CMOS sensors of 1/2.7 inch, 2.07 million effective pixels, so as to reach maximum 1920 x 1080 resolution and achieve quality image. - Ultra-high Frame Rate
The output frame rate up to 60fps in 1080P. - Multiple Interfaces
It supports HDMI, 3G-SDI interface, effective transmission distance up to 150 meters (under 1080P30). HDMI, SDI, Network can output at the same time. It also support CVBS interface. - 30x Optical + 8x Digital Zoom
High quality super telephoto lens, it supports 30x optical zoom, and 8x digital zoom. - AAC Audio Encoding
Support AAC audio encoding, better sound quality and smaller bandwidth. - Local Storage
Support U disk local storage, local recording directly without NVR. - Low Light
The application of 2D and 3D noise reduction algorithm greatly reduces image noise. Even under the condition of ultra-low illumination, it still keep the picture clean and clear, and the SNR of image is as high as 55dB. - Remote Control
Through the RS232 and RS485 serial ports, the camera can be controlled remotely.
Product Specification
| Name | Video Conference Camera |
| Camera | |
| Signal System | HD: 1080p/60, 1080p/50, 1080i/60, 1080i/50, 1080p/30, 1080p/25, 720p/60, 720p/50, 720p/30, 720p/25 SD: 480i, 576i |
| Sensor | 1/2.7 inch, CMOS, Effective pixels: 2.07M |
| Scanning Mode | Progressive |
| Lens | 30x, f4.42mm ~ 132.6mm, F1.8 ~ F2.8 |
| Digital Zoom | 8x |
| Minimum Illumination | 0.05 Lux @ (F1.8, AGC ON) |
| Shutter | 1/30s ~ 1/10000s |
| White Balance | Auto, Indoor, Outdoor, One Push, Manual, VAR |
| Backlight Compensation | Support |
| Digital Noise Reduction | 2D & 3D Digital Noise Reduction |
| Signal Noise Ratio | ≥55dB |
| Horizontal Angle of View | 60.7° ~ 2.28° |
| Vertical Angle of View | 34.1° ~ 1.28° |
| Horizontal Rotation Range | ±170° |
| Vertical Rotation Range | -30° ~ +90° |
| Pan Speed Range | 1.7° ~ 100°/s |
| Tilt Speed Range | 1.7° ~ 69.9°/s |
| H & V Flip | Support |
| Image Freeze | Support |
| Local Storage | Support |
| Number of Preset | 255 |
| Preset Accuracy | 0.1° |
| IPC Features | |
| Video Compression | H.264/H.265/MJPEG |
| Video Stream | First Stream, Second Stream |
| First Stream Resolution | 1920×1080, 1280×720, 1024×576, 960×540, 640×480, 640×360 |
| Second Stream Resolution | 1280×720, 1024×576, 720×576 (50Hz support), 720×480 (60Hz support), 720×408, 640×360, 480×270, 320×240, 320×180 |
| Video Bit Rate | 32Kbps ~ 20480Kbps |
| Bit Rate Type | Variable Rate, Fixed Rate |
| Frame Rate | 50Hz: 1fps ~ 50fps, 60Hz: 1fps ~ 60fps |
| Audio Compression | AAC |
| Audio Bit Rate | 96Kbps, 128Kbps, 256Kbps |
| Protocols | TCP/IP, HTTP, RTSP, RTMP, ONVIF, DHCP, Multicast, etc. |
| Input/Output Interface | |
| Audio Interface | 1 x LINE IN: 3.5mm Audio Interface |
| CVBS Interface | 1 x CVBS: 3.5mm RCA jack, 1Vp-p, 75Ω |
| Communication Interface | 1 x RS-485: 2pin phoenix port, Max Distance: 1200m, Protocol: VISCA / Pelco-D / Pelco-P 1 x RS232 IN: 8pin Min DIN, Max Distance: 30m, Protocol: VISCA / Pelco-D / Pelco-P |
| 1 x RS-232 OUT: 8pin Min DIN, Max Distance: 30m, Protocol: VISCA network use only | |
| Network Interface | 1 x RJ45: 10/100M Adaptive Ethernet Ports |
| HDMI Interface | 1 x HDMI: Version 1.3 |
| 3G-SDI Interface | 1 x 3G-SDI: BNC type, 800mVp-p, 75Ω. Along to SMPTE 424M standard |
| USB Interface | 1 x USB2.0: Type A female jack |
| Power Jack | JEITA type (DC IN 12V) |
| Physical Parameter | |
| Input Voltage | DC 12V |
| Current Consumption | 1.0A (Max) |
| Operating Temperature | -10°C ~ 40°C |
| Storage Temperature | -40°C ~ 60°C |
| Power Consumption | 12W (Max) |
| MTBF | >30000h |
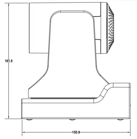
| Size | 145.2 x 150.9 x 161.8mm |
| Net Weight | 1.52Kg |

| Item | Name |
| 1 | LINE IN Interface |
| 2 | CVBS Interface |
| 3 | System Select Switch |
| 4 | RS485 Interface |
| 5 | RS232 IN Interface |
| 6 | RS232 OUT Interface |
| 7 | Network Interface |
| 8 | HDMI Interface |
| 9 | 3G-SDI Interface |
| 10 | USB 2.0 Interface |
| 11 | DC 12V Interface |
| 12 | Power Switch |
Dimension


| SYSTEM SELECT | |||
| 0 | 1080P60 | 8 | 720P30 |
| 1 | 1080P50 | 9 | 720P25 |
| 2 | 1080i60 | A | 1080P59.94 |
| 3 | 1080i50 | B | 1080i59.94 |
| 4 | 720P60 | C | 1080P29.97 |
| 5 | 720P50 | D | 576i |
| 6 | 1080P30 | E | 480i |
| 7 | 1080P25 | F | 720P59.94 |
Remote Control

Key Description
- Standby Key
Press this button to enter standby mode.
Press it again to enter normal mode.
Note: Power consumption in standby mode is
approximately half of the normal mode - Number Key
To set preset or call preset. - Key
Used with other buttons. - Preset Key
Set preset: Store a preset position. [SET PRESET] + Numeric button (0-9): Setting a corresponding numeric key preset position. - HOME Key
Confirm menu, enter the submenu or the PTZ will back to the middle position after pressed it - Return Key
Return back the last level menu - Zoom Key
Slow Zoom: Zoom In [+] or Zoom Out [-] slowly
Fast Zoom: Zoom In [+] or Zoom Out [-] fast - Left/Right Setting Key
Press with 1 buttons and 2 buttons setting the direction of the Pan-Tilt.- Simultaneously press L/R Set +1[STD]: set the Pan-Tilt turn the same direction as the L/R Set.
- Simultaneously press L/R Set +2[REV]: set the Pan-Tilt turn the opposite direction as the L/R Set.
- Focus Key
Used for focus adjustment. Press [AUTO] adjust the focuses on the center of the object automatically. To adjust the focus manually.
Press [MANUAL] adjust the focus on the center of the object manual. MANUAL button, and adjust it with [Far] (Focus on far object) and [NEAR] (Focus on near object). - Selection Key
Press the button corresponding to the camera you want to operate with the remote controller. - Key
Used with other buttons. - IR Remote Control Key
[*]+[#]+[F1]: Address 1
[*]+[#]+[F2]: Address 2
[*]+[#]+[F3]: Address 3
[*]+[#]+[F4]: Address 4 - Reset Key
Clear preset: Erase a preset position. [CLEAR PRESET] + Numeric button (0-9) Or: [*]+[#]+[CLEAR PRESET]: Erase all the preset individually. - PTZ Control Key
Press arrow buttons to perform panning and tilting. Press [HOME] button to face the camera back to front. - Menu Key
MENU: enter or exit OSD MENU. - Backlight Key
BLC ON/OFF: Press this button to enable the backlight compensation. Press it again to disable the backlight compensation.
NOTE:- Effective only in auto exposure mode.
- If a light behind the subject, the subject will become dark. In this case, press the backlight ON/OFF button. To cancel this function, press backlight ON/OFF button.
- PTZ Reset Key
Preset Pan/Tilt self-test. - Image Freezing Function
Manually freeze: Open the freezing function after press the remote control [F4], display “Freeze” on the left upper corner character, after five seconds display disappear automatically. If you want to cancel the freeze, press [F4] key and then can return to normal, display “Unfreeze” on the left upper corner, after five seconds display disappear automatically. Recalling the Preset image Freeze: By the OSD Menu Setting “Recalling the Preset image Freeze” function. After the function is opened, the screen will stay in before Recalling the Preset when Recalling the Preset, the screen can be switched to the preset position screen until the camera points to the preset position. - Shortcut Set

RS-232 Interface

| No. | Function |
| 1 | DTR |
| 2 | DSR |
| 3 | TXD |
| 4 | GND |
| 5 | RXD |
| 6 | GND |
| 7 | IR OUT |
| 8 | NC |
The correspondence between the camera and Windows DB-9 pin

The correspondence between the camera and the Mini DIN pin:
VISCA Network

Serial Communication Control
- RS232 Communication Control
The camera is controlled via RS232. The
RS232 serial port parameters are as follows:
Baud rate: 2400/4800/9600/38400 bit/s;
Starting Position: 1 bit
Data bit: 8 bits
Stop bit: 1 bit
Check digit: None - RS485 Communication Control
Control camera via RS485, half duplex mode:
Baud rate: 2400/4800/9600/38400 bit/s;
Starting position: 1 bit
Data bit: 8 bits
Stop bit: 1 bit
Check digit: None
After power on, the camera goes to the upper right limit and then back to the middle position. The zoom lens is pulled to the farthest position, auto focus, and the aperture is adjusted to the default value. If the camera has preset 0 saved, the camera will be set to position 0 after the initialization is completed. At this point, the user can use the serial port command to control the camera. - List of protocols (omitted)
The serial port of the camera follows the VISCA/Pelco-D/Pelco-P standard protocol. If secondary development is required, the camera can be controlled according to the standard protocol. For a detailed list of VISCA/Pelco-D/Pelco-P protocols, contact the manufacturer.GUI Settings
Press [MENU] button to display the main menu on the normal screen, using arrow button to move the cursor to the item to be set. Press the [HOME] button to enter the corresponding submenu.

EXPOSURE
Move the main menu cursor to [EXPOSURE], and press [HOME] key enter the exposure page, as shown in the following figure.

Mode: Exposure mode, optional items: Auto, Manual, SAE, AAE, Bright.
ExpCompMode: Exposure the compensation mode, optional items: On, Off (Effective only in Auto mode)
ExpComp: Exposure the compensation value, optional items: -7~7 (Effective only in ExpCompMode item to On).
Backlight: Set the backlight compensation,optional items: On, Off (Effective only in Auto mode).
Bright: Intensity control, optional items: 0~17 (Effective only in Bright mode).
Gain Limit: Maximum gain limit, optional items: 0~15 (Effective only in Auto, SAE, AAE, Bright mode).
Anti-Flicker: Anti-flicker, optional items: Off, 50Hz, 60Hz (Effective only in Auto, AAE, Bright mode). Meter: Optional items: Average, Center, Smart, Top.
Iris: Aperture value, optional items: F1.8, F2.0, F2.4, F2.8, F3.4, F4.0, F4.8, F5.6, F6.8, F8.0, F9.6, F11.0, Close (Effective only in Manual, AAE mode).
Shutter: Optional items: 1/30, 1/60, 1/90, 1/100, 1/125, 1/180, 1/250, 1/350, 1/500, 1/725, 1/1000, 1/1500, 1/2000, 1/3000, 1/4000, 1/6000, 1/10000 (Effective only in Manual, SAE mode). Gain: Optional items: 0 ~ 7 (Effective only in Manual mode). DRC: DRC strength, optional items: 0 ~ 8.
COLOR
Move the main menu cursor to [COLOR], and press [HOME] key enter the color page, as shown in the following figure.


WB-Mode: White balance mode, optional items: Auto, Indoor, Outdoor, One Push, Manual, VAR.
RG Tuning: Red gain fine-tuning, optional items: -10 ~ +10 (Effective only in Auto, One Push, VAR mode).
BG Tuning: Blue gain fine-tuning, optional items: -10 ~ +10 (Effective only in Auto, One Push, VAR mode).
Saturation: Optional items: 60% ~ 200%.
Hue: Optional items: 0 ~ 14.
AWB Sens: The white balance sensitivity, optional items: Low, Middle, High.
RG: Red gain, optional items: 0~255 (Effective only in Manual mode).
BG: Blue gain, optional items: 0~255 (Effective only in Manual mode).
colortemp: Optional items: 2500K ~ 8000K (Effective only in VAR mode).
IMAGE
Move the main menu cursor to [IMAGE], and press [HOME] key enter the image page, as shown in the following figure.

Luminance: Brightness adjustment, optional items: 0 ~ 14.
Contrast: Contrast adjustment, optional items: 0 ~ 14.
Sharpness: Sharpness adjustment, optional items: Auto, 0 ~ 15.
Flip-H: Image flipped horizontally, optional items: On, Off.
Flip-V: Image Flip Vertical, optional items: On, Off.
B&W-Mode: Optional items: On, Off.
Gamma: Optional items: Default, 0.45, 0.5, 0.56, 0.63.
Style: Optional items: Default, Norm, Clarity, Clarity (LED), Bright, Soft, 5S.
P/T/Z
Move the main menu cursor to [P/T/Z], and press [HOME] key enter the P/T/Z page, as shown in the following figure.

SpeedByZoom: The depth of field scale switch, optional items: On, Off.
AF-Zone: Interested in focusing area, optional items: Top, Center, Bottom.
AF-Sense: Automatic focusing sensitivity options, optional items: Low, Normal, High.
L/R Set: Optional items: STD, REV.
Display Info: Optional items: On, Off.
Digital Zoom: Optional items: Off, 2x, 4x, 8x. Call Preset Speed: Optional items: 1 ~ 24.
Fast Zoom: Optional items: On, Off. Pre Zoom Speed: Optional items: 0 ~ 7.
NOISE REDUCTION
Move the main menu cursor to [NOISE REDUCTION], and press [HOME] key enter the noise reduction page, as shown in the following figure.

NR2D Level: 2D noise reduction, optional items: Off, Auto, 1 ~ 5.
NR3D Level: 3D noise reduction, optional items: Off, 1 ~ 8.
SETUP
Move the main menu cursor to [SETUP], and press [HOME] key enter the setup page, as shown in the following figure

Language: Optional items: EN, Chinese, Russian.
DVI Mode: Optional items: DVI, HDMI.
Lens: Optional items: Type1, Type2. auto scan shoot: Optional items: On, Off
COMMUNICATION SETUP
Move the main menu cursor to [COMMUNICATION SETUP], and press [HOME] key enter the communication setup page, as shown in the following figure.

Protocol: Control protocol type, optional items: Auto, VISCA, PELCO-D, PELCO-P. V_Address: Optional items: 1 ~ 7 (Effective only in Auto, VISCA protocol)
V_AddrFix: Optional items: On, Off (When set to On, useless in 88 30 01 FF Command). P_D_Address: Optional items: 0 ~ 254. (Effective only in PELCO-D protocol). P_P_Address: Optional items: 0 ~ 31. (Effective only in PELCO-P protocol).
Net Mode: Set the serial port network control, optional items: Serial, Paral.
Baudrate: Serial port baud rate, optional items: 2400, 4800, 9600, 38400.
RESTORE DEFAULT
Move the main menu cursor to [RESTORE DEFAULT], and press [HOME] key enter the restore default page, as shown in the following figure

Restore: Confirm restore factory settings, optional items: Yes, No.
Note: Press [HOME] button to confirm, all parameter restore default, include IR Remote address and VISICA address.
Network Function
Operating Environment
Operating System: Windows 2000/2003/XP/ vista/7/8/10
Network Protocol: TCP/IP
Client PC: P4/128M RAM/40G HDD/ support scaled graphics card, support DirectX 8.0 or more advanced version
Equipment Installation
- Connect internet camera to your internet or to your PC directly via internet cable.
- Turn on DC 12V power.
- If the network connection is normal, the connection light (green) at the network interface will light up within 5 seconds, and the data indicator (orange) will flash, indicating that the physical connection of the camera has been completed.
Internet Connection
There are two main ways to connect network camera.

IP camera controlled by LAN
Setup IP address
If you don’t know the camera IP, view as below:
Method 1: Press * and # and 4 on remote controller one by one, the camera IP address will be shown on screen.
Change IP address: Login the web page, select “Network > Lan Settings”, change IP address, subnet mask and gateway. Click “Apply” and restart the camera.

Tips:
P camera default IP address “192.168.100.88”, the username is “admin”, password is “admin”.
Visit/Access IP Camera
Input http://192.168.100.88 to IE (better with IE web browser, others will cause little latency), a login window pop up, input login name: admin, password: admin, shown as below:

After login, shown as below:

Tips
If user first time use this camera by internet (only for new user), must install a player software (VLC). Please go to VLC website http://www.videolan.org/vlc/#download and Install VLC (player software).After installation, login again, will show as above
IP Camera controlled by WAN
Setup IPC controlled by dynamic DNSTwo dynamic DNS: Dyndns.org, 3322.org.
Router Port Mapping:
Take Tenda router for example, enter the Router Home Page (interface page), select “Advanced”- “Virtual Server”, add a new port number in “Ext Port”, add a new port number in “Int port”, put camera IP address to “Internal IP”,
then select “Save”, shown as below:

Dynamic DNS visit camera
Set domain name to camera, setup the parameter, then dynamic DNS can access camera. Access link: http://hostname: port number. For example, setup host computer name: youdomain.f3322.org, the camera port number is 89, the access link should be http://youdomain.3322.org:89.
Tips
If the camera port default is 80, then unnecessary to input port number, use host name can access camera directly
VLC stream media player monitoring
Visit VLC media server procedure
Step 1 Open VLC media player.
Step 2 Click “Media > Open Network Stream”, or click “Ctrl + N”; as below:

Step 3 Input URL address:
rtsp://ip: port number/1 (First stream); rtsp://ip: port number/2 (Second stream)
Step 4 Finish.
Tips
RTSP port number default 554.

IP Camera Parameter Setup
Homepage Introduction
All pages include two menu bars: Real time monitoring: displaying video image Parameter setup: with function buttons.
Video viewing window
Video viewing window must be same as video resolution, the bigger the resolution is, the bigger the playing area is. Double click viewing window, will show full-screen, double click again, will return to initialized size. Status bar in viewing window shown as below:
![]()
- Video playback pause button: control realtime video pause, stop the last picture, click recoverable video again.
- Audio control buttons: can set silent mode.
- Full screen switch button.
PTZ Setup

PTZ direction control box: Up, down, left, right, home button as above.
Rate: Pan Speed can be chosen as 1 ~ 24, Tilt Speed can be chosen as 1 ~ 20. Select corresponding speed and click direction button to realize PTZ speed up or speed down.
Zoom In/Zoom out: For zooming in or zooming out.
Focus In/Focus Out: Focusing on distant the objects or focusing on close the objects.
Set/Call: When PTZ turn to expected position, can set up preset that user want as below.
Method 1: Type a number into the Preset box.

Method 2: Type the name into the Presets Information.

Click “Set” button, when PTZ turn to other position, click “Call” button or click “No.” of the Presets Information, PTZ will turn back to preset position. PTZ / MENU: When system in menu mode, OSD menu display in the upper corner of the image page. PTZ direction control box: Up/down button select menu, and the home button enter the submenu, the left/right button modify the submenu. After the menu to be modified, select PTZ. If in the main menu, save the setting and exit automatically. Otherwise, return to the previous menu.
PTZ: system in PTZ mode.
Language selection

Chinese/English/Russian
Video Settings

- Video Format
Support 50Hz (PAL) and 60Hz (NTSC), and Dial Priority three formats. - Encode Level
Support baseline, mainprofile, highprofile and svc-t four levels. - Encode Protocol Support H.264, H.265 and MJPEG three formats.
- Resolution
First stream support 1920×1080, 1280×720, 1024×576, 960×540, 640×480, 640×360. Second stream support 1280×720, 1024×576, 720×576 (50Hz support), 720×480 (60Hz support), 720×408, 640×360, 480×270, 320×240, 320×180; The bigger resolution is, the clearer the image will be, more network bandwidth will be taken. - Bit Rate
The user can specify the bit rate. Generally speaking, the larger of the bit rate, the clearer of the image. However, the configuration of the bit rate needs to be combined with the network bandwidth. When the network bandwidth is narrow and the bit rate is configured larger, the video stream cannot be transmitted normally, and the visual effect is worse. - Frame Rate
User can specify the size of the frame rate, generally, the frame rate greater, the image more smooth; Frame rate is smaller, the more sense of beating. - I Key Frame Interval
Set interval between 2 I frame, the bigger interval is the response will be lower from viewing window. - Bit Rate Control
Code stream control way: Constant Bit Rate: Video coder will be coding according to preset speed. Variable Bit Rate: Video coder will adjust the speed based on preset speed to gain the best image quality. - Fluctuate Level
Restrain the fluctuation magnitude of variable rate, grade 1 ~ 6. - Slice Split Enable
Enable or disable slice split function. - Split Mode
Select split mode, optional items: Fixed blocks, Fixed bytes. - Slice Size
Set the size of slice.
Image Settings

- Brightness
Image bright 0~14, slider control, on the right shows the corresponding numerical.
Default value is 7. - Saturation
Saturation 0~14, slider control, on the right shows the corresponding numerical.
Default value is 4. - Contrast
Contrast 0~14, slider control, on the right shows the corresponding numerical. Default value is 10. - Sharpness
Sharpness 0~15, slider control, on the right shows the corresponding numerical.
Default value is 3. - Hue
Hue 0~14, slider control, on the right shows the corresponding numerical.
Default value is 7. - Flip & Mirror
Tick Flip to realize image upside down, tick mirror to realize image around the mirror.
Default value is not tick.
Audio Settings

- Audio Switch
Enable or disable audio switch. - Audio Type
Audio type AAC. - Sample Rate
Sample rate 44.1K and 48K selectable. - Bit Rate
Bit rate 96K, 128K, 256K selectable. - Input Type
Input type line in. - Input Vol L
The volume of the left channel. - Input Vol R
The volume of the right channel. - ADTS Options
Optional items: On, Off
System Settings

- Work Mode
The default work mode is RTSP.
Optional items: RTSP, SDK, Multicast. - Reboot
Click the “Reboot” button, system restart. - Username and password
The user can modify the password (letters and Numbers only).
Network Settings

- Lan Settings
Default the IP address is 192.168.100.88, the MAC address can not be modified. - Port Settings
A. HTTP Port IP address identifies the network device, the device can run multiple web applications, each network program using network port to transmit data, so data transmission to be carried out between the port and port. Port setting is to set up web server program using which port to transmit. When port mapping, need to be consistent with the port number (default port: 80).
B. RTSP Port
Network camera support RTSP protocol, use the VLC tools broadcast.
C. PTZ Port Support PTZ protocol, default port: 5678. - Control Protocol Settings
Setting the camera control communication protocol, include Visca address, Pelco-D address and Pelco-P address. - RTMP Settings
Setting the MRL of RTMP, select enable or disable video and audio. You can select control code stream of “On”, “Off”, “Video”, “Audio” between in the two stream. - RTSP Settings
Turn On/Off RTSP auth. - ONVIF Settings
Turn On/Off ONVIF and ONVIF auth. - Multicast Settings
Turn On/Off multicast. Setting the multicast address (default value is 224.1.2.3) and port (default value is 6688, then 6688 is the multicast port of the first stream; 6690 is the multicast port of the second stream). - SDK Settings
Turn On/Off active connection. Setting SDK address (default value is 192.168.100.138) and port (default value is 1234). - NTP Settings
Turn On/Off NTP time sync, main time show and sub time show. Setting NTP server address, time interval, main stream position and sub stream position
WiFi Settings

- Wireless Status
Display the status of wireless network card. - Select the network
Search and select the wireless network. - SSID
Display the ID of the wireless network. - Password
Input the wireless network password, and the password will be displayed when the “show” check box is checked. - Connect Status
Display the status of wireless network connect. - IP Configuration Type
Select IP Configuration Type, optional items: Fixed IP Address, Dynamic IP Address. - IP Address
Display the IP Address, you can also input the IP Address when you select IP Configuration Type be Fixed IP Address. - Subnet Mask
Display the Subnet Mask, you can also input the Subnet Mask when you select IP Configuration Type be Fixed IP Address. - Gateway
Display the IP Address of gateway, you can also input the IP Address of gateway when you select IP Configuration Type be Fixed IP Address. - DNS Address
Display the DNS Address, you can also input the DNS Address when you select IP
Configuration Type be Fixed IP Address.
Device Information
Display current device information as below.

Download the Network Upgrade Program
If you need the camera upgrade program, please contact the manufacturer.
Maintenance and Troubleshooting
Camera Maintains
- If camera will not be used for a long time, please turn off the power switch, disconnect AC power cord of AC adaptor to the outlet.
- Use soft cloth or tissue to clean the camera cover.
- Please use the soft dry cloth to clean the lens. If the camera is very dirty, clean it with diluted neuter detergent. Do not use any type of solvents, which may damages the surface.
Unqualified Application
- No shooting extreme bright object for a long period of time, such as sunlight, light sources, etc.
- No operating in unstable lighting conditions, otherwise image will be flickering.
- No operating close to powerful electromagnetic radiation, such as TV or radio transmitters, etc
Troubleshooting Image
- The monitor shows no image
- Check that the camera power supply is connected, the voltage is normal, and the power indicator light is always on.
- Turn off the power switch to check whether the camera is self-testing.
- Check the cable of video platform and TV whether correct connection.
- Sometimes without the image Check the cable of video platform and TV whether correct connection.
- Image have jitter when the camera lens at max multiple
- Check whether the camera installed position be stabled.
- Check whether have vibrating machinery or object near the camera.
- There is no video image in IE Browser Please visit VLC website
(http://www.videolan.org/vlc) download and install VLC media player, after it installed, visit IP Camera will have normal image display. - Unable to Access IP Camera through IE Browser
- Using PC to access the network to test whether the network access can work properly, first of all, the network fault caused by the PC virus can be eliminated, until the PC and IP Camera can communicate with each other Ping.
- Disconnect the network, connect IP Camera and PC separately, and reset the IP address of PC.
- Check IP address, subnet mask, and gateway settings for IP Camera.
- Check whether the MAC address is conflicts.
- Check whether the web port is occupied by another device.
- Forget the IP address or login password Please remember (The default IP address: 192.168.100.88; default user name: admin; default password: admin). Control
- Remote control can not control
- Check and replace the new battery for the remote controller.
- Check whether the camera working mode is correct.
- Check whether the address of remote control can match the camera.
- Series port can not control
- Check whether the camera protocol, address such is the same.
- Check whether the control line is connected well.


















