
B&H 4K AI Videoconferencing Camera
User Manual 
Laia B&H 4K AI
User Manual
SAFETY NOTES
The following essential notes must be followed carefully to run the camera and respective accessories in total safety. The camera and relative accessories are called video systems in this section.
- Before installing the camera, please read this manual carefully. Please follow the installation instructions indicated in this manual during installation.
- Please keep this manual for future use. Please put the power, video, and control cable in a safe place.
- Do not operate the camera beyond the specified temperature and humidity. The working temperature range of the camera is between 0 and ~ and +40. The ambient humidity range is 10%RH ~ 90%RH.
- During transporting, avoid violent shaking or force to the camera.
- To prevent electric shock, do not remove the screws or the housing of the camera. There are no self-serviceable parts inside. Refer to qualified service personnel for servicing.
- Never aim the lens of the camera at the sun or other extremely bright objects. Otherwise, it may cause damage.
- When cleaning the camera, please use a soft cloth. If the camera is foul, wipe it off gently with a soft cloth moistened with a weak water solution and a neutral kitchen detergent. Wring all liquid from the cloth before wiping the camera, then wipe off all remaining dirt with a soft, dry cloth. Use lens cleaning paper to clean the lens.
ABOUT THE PRODUCT
Characteristics & Functions
- High-quality CMOS image sensor, up to 3840x2160P30 video output;
- High-quality 4K super wide-angle lens, no distortion;
- Manual image adjustment;
- Supports auto framing function based on intelligent image algorithm;
- EPTZ function;
- Supporting YUY2, NV12 uncompressed video formats, MJPG, H.264, H.265 compressed video formats;
- Built-in MIC audio input;
- UVC/UAC communication protocol;
- Standard USB3.0 Type-C interface is adopted.
Accessories
When you open the box, check all accessories according to the packing list.
Camera X1

Remote Controller X1

USB Cable X1
Main Parts & Interfaces
Camera
Front View
- Camera Module
- Camera Indicator Light
- Microphone
- IR Sensor
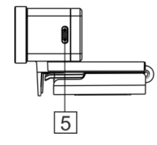
Side View
5 USB 3.0 Type-C
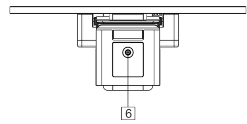
Bottom View
6 Mounting Hole
1/4″ inch screw, used to fix the camera.
Remote control(standard)
| No. | Function |
| 1 Power | Reserved |
| 2 Menu | Open/close the OSD menu |
| 3 Zoom | |
| 4 Direction | In menu mode, set menu options; In non-menu mode or ∨ used for vertical adjustment of the screen;<or> used for horizontal adjustment of the screen |
| 5 HOME | In menu mode, confirm to enter; In non-menu mode, the screen returns to the original position |
| 6 Focus | Reserved |
| 7 Autofocus | Reserved |
| 8 Auto Framing | Press F1 to enable; Press F2 to stop |
| 9 Number | Set and call the preset point |
Common function
When the camera is in a working state, the indicator light is blue, always on.
1) EPTZ
The camera supports EPTZ control and 4x digital zoom. The EPTZ can be controlled via direction keys to adjust the image position. And the current image size can be adjusted via the zoom button.
Note: when the image is under max range, press the direction keys, and the screen will not move.
The indicator will flash with each effective keypress.
2) Auto Framing
The camera has an auto-framing function. Press F1, the camera will start the auto framing function, and the camera will zoom in/ out to center all participants in the picture, according to the conference scene. Note: When the camera is under auto framing state, press F2 or the direction keys, or zoom keys, and the auto framing state will end.
3) Set/Call the preset
Long press the number key for more than 3 seconds to set presets. Short press the number key to call the presets, and the camera will quickly go to the presetting position& size. When setting the presets, the indicator light is always on after flashing once. And when calling the presets, the light blinks twice.
4) Menu Function
After entering the menu, select the menu options via direction keys. Press the HOME key to enter the options, and adjust the options by using the pan button. Press the Menu key to return to the previous interface until the exit menu.
INSTALLATION
Installation Instructions
The camera is mounted on the hinge bracket.
Place the camera holder on the monitor and fix it to the monitor by adjusting the holder on the back.
Please check whether the connection is correct before starting.
TECHNICAL SPECIFICATIONS
| Camera | |
| Image Sensor | 1/2.8″ CMOS, Progressive scan CMOS, 8.42 million pixels |
| Max. Resolution | 4KP30 |
| Video Format | YUY2, NV12: 1920x1080P30, 1280x720P30, 640x360P30 1920x1080P25, 1280x720P25, 640x360P25 MJPEG, H264, H265: 3840x2160P30, 1920x1080P30, 1280x720P30, 640x360P30 3840x2160P25, 1920x1080P25, 1280x720P25, 640x360P25 |
| Digital Zoom | 4x |
| Focus Lens | f=2.1mm |
| Iris | F2.2 |
| Field Of View | D:120.1°, H:109.7°, V:87° |
| Video Adjusts | Brightness, Hue, Saturation, Contrast, Sharpness |
| White Balance | Auto |
| Exposure Control | Auto |
| Intelligence | Auto framing and counting the number of people |
| S/N Ratio | ≥50dB |
| Menu | Support |
| PTZ | |
| EMPTY | Support |
| Audio | |
| Audio Input | Built-in dual MIC pick-up. |
| USB | |
| USB Interface | 1×USB 3.0 Type-C |
| UVC | Support V1.0 |
| UAC | Support |
| Operating System | Windows 7/8/10, Mac OS, Android OS, Linux |
| Conference Software | Zoom,Skype,DingTalk,Tencent Meeting, Google Meets,Teams, WebEx |
| General | |
| Power Consumption | < 2.5 w |
| Power | DC5V(USB power supply), current ≤0.5A |
| Temperature | Working temperature: 0°C~+40°C Storage temperature: -20°C~+60°C |
| Working Humidity | 10%RH ~ 90%RH |
| Dimensions (W×H×D) | 210mm×74mm×48mm |
| Weight | ≤0.3kg |
| Color | Black |
SIZE AND DIMENSIONS

SIMPLE TROUBLESHOOTING
| Fault | Possible Reasons | Solution |
| Device not recognized | The USB cable plug is loose | Plug tightly |
| USB drive not installed correctly | Update the driver in Device Manager |

Main Parts & Interfaces


















