HiRise Pro
owner’s guide
How to assemble
- Carefully align and slide top onto the bottom as shown

- Slide the shelf into HiRise at the desired height

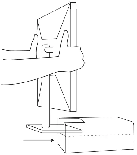
- Place monitor on a shelf inside HiRise

- Slide backplate into place

- Choose desired finish and connect the magnetic front plate
Tips and tricks
When assembling HiRise, position the bottom section with its end on a stable desktop surface. Align the rails of the two sections, then slide the top down until even with the bottom section.
To adjust your monitor to your desired screen height – first, remove your monitor, then change the position of the internal shelf. Place the monitor back into HiRise and power up to check the new position of your screen.
Secure the back faceplate with the opening facing down for complete access to connections and power on your peripherals and hard drives.
12 ways to re-purpose your HiRise box
Our flag is red and our hearts are green. So if you could, do the earth a favor and find a fun way to re-use your HiRise box.
- perfect for storing 8 x 10 photos
- use it to make a shadow box
- re-purpose as a fancy gift box
- store those magazine cut-outs you’ve been collecting
- fill with pens, pencils, and crayons
- use as a drawer organizer
- save it for the next kids’ craft project
- store all of your tax receipts in the box
- fill with Legos or trading cards
- turn it into a garage for Hot Wheels
- flatten it out and use it as a backer board in a picture frame
- fill with sand and use as a zen garden
Have questions?
Visit twelvesouth.com or contact [email protected]
© 2019 Twelve South, LLC. All rights reserved





















