STEGO CSS 014 IO-Link Smart Sensor

STATUS

DIAGNOSIS
- Device status
- Error counter
- Operating hours
- Power-On counter
- Event counters for max. and min. temperature and humidity values
- Event counters for adjustable temperature and humidity parameters
- Temperature and humidity histogram-data
- Reset counters for temperature and humidity events
- Reset whole parameter (NOTE: Password required „stego“)
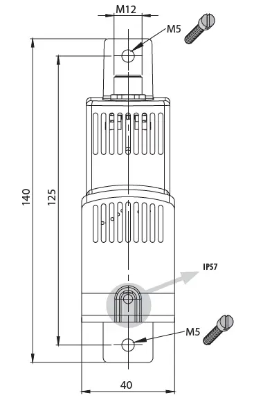
DIMENSIONS

EXAMPLE

WARNING
There is a risk of personal injury and equipment damage if the connection values are not observed or polarity is incorrect!
The smart sensor detects the ambient temperature and ambient humidity and converts the measurements into IO-Link data. The response time is a maximum of 3 minutes. The sensor must be equipped with a SELV power supply supplied according to one of the following standards: IEC 60950-1, IEC 62368-1 or IEC 61010-1.
Safety considerations
- The installation may only be carried out by qualified electricians in compliance with the respective national power supply guidelines (IEC 60364).
- The technical data on the rating plate must be strictly observed.
- No changes or modifications must be made to the device.
- In case of apparent damage or malfunction, the device may not be repaired or put into operation. (Dispose of device.)
- Use indoors only.
Installation guidelines
- The device must not be covered.
- The device must not be operated in environments with aggressive atmospheres.
- The installation must be installed vertically, i.e. with connection upwards.
- Connection to round plug M12, IEC 61076-2-101, 4-pin, A-coded.
- The device must only be operated in an environment that ensures contamination class 2 (or better) in accordance with IEC 61010. Contamination class 2 means that only non conductive contamination may occur. However, it is likely that there will occasionally be temporary conductivity caused by condensation.
IODD file
- Download the IODD file using the following link: www.stego-group.com/software.
- Then import the IODD file into your control software.
- You can find detailed information on the device and the IODD parameters on the STEGO website.
Notice
The manufacturer accepts no liability in the case of failure to observe this brief instruction, improper use and changes or damage to the device.


















