
UM11826
FRDMDUALK3664EVB evaluation board
Rev. 1 — 6 September 2022
User manual
S32K344 Emulation Adapter
Document information
| Information | Content |
| Keywords | BMS, TPL, S32K344 |
| Abstract | This document is the user manual for the dual MC33664 evaluation board. |
Revision history
| Rev | Date | Description |
| 1 | 20220906 | initial version |
Important notice
IMPORTANT NOTICE
For engineering development or evaluation purposes only
NXP provides the product under the following conditions:
This evaluation kit is for use in ENGINEERING DEVELOPMENT OR EVALUATION PURPOSES ONLY.
It is provided as a sample IC pre-soldered to a printed circuit board to make it easier to access inputs, outputs, and supply terminals. This evaluation board may be used with any development system or other source of I/O signals by connecting it to the host MCU computer board via off-the-shelf cables. This evaluation board is not a Reference Design and is not intended to represent a final design recommendation for any particular application. The final device in an application heavily depends on proper printed-circuit board layout and heat-sinking design as well as attention to supply filtering, transient suppression, and I/O signal quality.
The product provided may not be complete in terms of the required design, marketing, and or manufacturing-related protective considerations, including product safety measures typically found in the end device incorporating the product. Due to the open construction of the product, it is the responsibility of the user to take all appropriate precautions for electric discharge. In order to minimize risks associated with the customer’s applications, adequate design and operating safeguards must be provided by the customer to minimize inherent or procedural hazards. For any safety concerns, contact NXP sales and technical support services.
FRDMDUALK3664EVB

Introduction
This document is the user manual for the FRDMDUALK3664EVB evaluation board.
This document is intended for the engineers involved in the evaluation, design, implementation, and validation of MC33664, an isolated network high-speed transceiver.
The scope of this document is to provide the user with information to evaluate the MC33664, an isolated network high-speed transceiver. This document covers connecting the hardware, installing the software and tools, configuring the environment, and using the kit.
Table 1. MC33664 evaluation board (EVB) options
| FRDMDUALK3664EVB | FRDMDUAL33664EVB | FRDM33664EVB | |
| Link | htto://www.nxo.com/FRDMDUALK3664EVB | htto://www.nxo.com/FRDMDUAL33664EVB | htto://www.nxo.com/FRDM33664BEVB |
| Intended microcontroller | S32K3x4EVB-Q172 | S32K144EVB-Q100 | FROMKL25Z |
| Link | htto://www.nxo.com/prt/S32K3X4EVB-Q172 | htto://www.nxo.com/oart/S32K144EVB-100 | htto://www.nxo.com/FRDM-KL25Z |
| MC33664 | dual | dual | single |
| VIO options | 3.3 V 5V | 3.3 V 5V | 3.3 V 5V |
| Fault line support | no | no | yes |
Finding kit resources and information on the NXP website
NXP Semiconductors provides online resources for this evaluation board and its supported devices on http://www.nxp.com.
The information page for FRDMDUALK3664EVB is at http://www.nxp.com/FRDMDUALK3664EVB. The information page provides overview information, documentation, software, and tools, parametric, ordering information, and a Getting Started tab. The Getting Started tab provides quick reference information applicable to using the FRDMDUALK3664EVB, including the downloadable assets referenced in this document.
4.1 Collaborate in the NXP community
The NXP community is for sharing ideas and tips, asking and answering technical questions, and receiving input on just about any embedded design topic. The NXP community is at http://community.nxp.com.
Getting ready
Working with the FRDMDUALK3664EVB requires the kit contents, additional hardware, and software, depending on the use case.
5.1 Kit contents
- Assembled and tested the evaluation board in an anti-static bag
- 50 cm transformer physical layer (TPL) bus cable
- Quick start guide
5.2 Additional hardware
- Use with the S32K3x4EVB-Q172 (recommended)
- Use with another microcontroller platform (requires breadboard design)
- Use as standalone EVB, requires 5.0 V, 200 mA power supply (optional 3.3 V power supply 200 mA), and signal stimulation with signal generator
Getting to know the hardware
6.1 Kit overview
The FRDMDUALK3664EVB is a hardware tool for evaluation and development and is ideal for the rapid prototyping of an isolated network high-speed transceiver. It can be used
to evaluate the features of the MC33664A device.
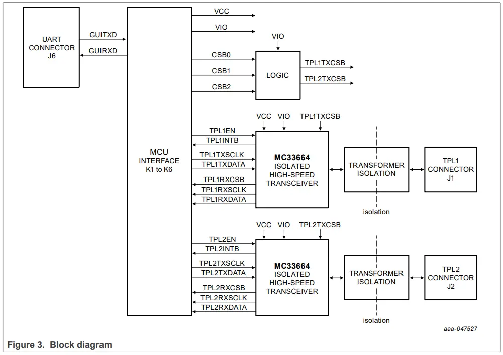
The evaluation board allows the user to connect serial peripheral interface (SPI) signals from the MCU to the device and be able to create bit pulses transmission to the bus through the transformer. The messages received by the device can be converted bit by bit and transferred to the MCU by SPI.
6.1.1 FRDMDUALK3664EVB features
- Two MC33664ATL1EG isolated communication transceivers in an SO16 package
- Isolated communication by transformers with connector
- Single TPL chain interface (requires two SPIs)
- Dual TPL chain interface (requires three SPIs)
- Compatible to S32K3x4EVB-Q172
- Connector for FTDI USB-to-serial cable (TTL-232R-5V)
Note: The FRDMDUALK3664EVB does not support the fault line feature.
6.2 Kit featured components
Figure 2 identifies important components on the board and Table 2 provides additional details on these components.

Table 2. Evaluation board component descriptions
| Name | Description |
| MCU interface (K2, K1, K6) | interface pin for the microcontroller development platform (recommended S32K3x4EVB-Q172) |
| UART (J6) | universal asynchronous receiver transmitter (UART) connection (for example, for FTDI cable) |
| MC33664 | isolated network high-speed transceiver |
| Transformer | bus isolator transformer (T1, T2) |
| TPL1 bus | TPL1 bus interface |
| TPL2 bus | TPL2 bus interface |
| MCU interface (K3, K4, K5) | interface pin for the microcontroller development platform (recommended S32K3x4EVB-Q172) |
6.2.1 MC33664: Isolated network high-speed transceiver
6.2.1.1 General description
The MC33664 is a SMARTMOS transceiver physical layer transformer driver designed to interface a microcontroller conveniently to a high-speed isolated communication network. MCU SPI data bits are directly converted to pulse bit information and transferred to the bus network.
Slave response messages use the same structure to send pulse bit information to the MC33664, which is converted and sent back to the MCU as an SPI bit stream.
6.2.1.2 Block diagram

6.2.1.3 Features
- 2.0 Mbit/s isolated network communication rate
- Dual SPI architecture for message confirmation
- Robust conducted and radiated immunity with wake-up
- 3.3 V and 5.0 V compatible logic thresholds
- Low Sleep mode current with automatic bus wake-up
- Ultra-low radiated emissions
- Option to access UART of S32K344 via J6
6.2.1.4 Modes of operation
The modes of operation followed by MC33664 for the VIO and EN pins are shown in Table 3.
Table 3. Modes of operation
| Device mode | EN pin | VIO pin | Comment |
| Normal | 1 | 1 | The MC33664 operates as a full transceiver. MCU messages transmitted on the SPI_TX emerge on the SPI_RX for the MCU to read. |
| Sleep | 0 | 1 | In Sleep mode, the transceiver activates the INTB pin when a valid wake‑up sequence is detected. The INTB pin remains LOW until the rising edge of the EN pin places the device in Normal mode. |
6.2.2 Connectors
Figure 4 shows the location of connectors on the board.

6.2.2.1 TPL bus connectors
The connectors J1 and J2 provide access to the TPL1 and TPL2 buses.
Table 4. TPL bus 1 connector J1
| Schematic label | Signal name | Description |
| J1-1 | TPL1RDTXP | TPL bus 1 – receive/transmit input positive |
| J1-2 | TPL1RDTXN | TPL bus 1 – receive/transmit input negative |
Table 5. TPL bus 2 connector J2
| Schematic label | Signal name | Description |
| J2-1 | TPL2RDTXP | TPL bus 2 – receive/transmit input positive |
| J2-2 | TPL2RDTXN | TPL bus 2 – receive/transmit input negative |
6.2.2.1.1 TPL bus selection
The FRDMDUALK3664EVB provides an option to select dynamically which TPL bus is addressed. Using three signals it is possible to transmit individually on the TPL1 or TPL2 bus, or to transmit simultaneously on both TPL1 and TPL2 bus.
Note: For proper operation, the logic circuitry expects the unused CSB signals to be HIGH.

Table 6. TPL bus selection
| Selected CSB line (active LOW) | Selected TPL line (active LOW) |
| CSB0 | TPL1 |
| CSB1 | TPL2 |
| CSB2 | TPL1 and TPL2 |
6.2.2.2 MCU interface connectors
The connectors K1 to K6 enable interface to an NXP microcontroller development platform. The mechanical dimensions and pinout are selected to fit the S32K3x4EVB‑Q172 (recommended hardware platform).
Note: Connectors differ in number of rows. Only inner rows are used for easier stacking and unstacking.
Table 7 details the signals used for the S32K3x4EVB-Q172 evaluation boards.
Table 7. Signal routing for S32K3x4EVB-Q172
| MCU interface | Signal | Description | Direction | MCU signal |
| K3-3 | VIO | 5.0 V IO supply | ← | 5V |
| K3-9 | VCC5 | 5.0 V supply | ← | 5V |
| K3-11 | GND | ground | GND | |
| K3-13 | GND | ground | GND | |
| K5-12 | GND | ground | GND | |
| K2-13 | GND | ground | GND | |
| K6-12 | GND | ground | GND | |
| K4-2 | TPL1EN | TPL1 enable | ← | PTC19 |
| K4-1 | TPL1INTB | TPL1 interrupt | → | PTD1/EIRQ9 |
| K4-4 | TPL2EN | TPL2 enable | ← | PTC18 |
| K4-3 | TPL2INTB | TPL2 interrupt | → | PTD0/EIRQ8 |
| K2-17 | TPL1TXCSB | TPL1 TX chip select | ← | PTC6/LPSPI0_PCS1 |
| K4-15 | TPL2TXCSB | TPL2 TX chip select | ← | PTE6/LPSPI0_PCS2 |
| K2-19 | TPL12TXCSB | TPL1 and TPL2 TX chip select | ← | PTC7/LPSPI0_PCS0 |
| K4-7 | TPL12TXCLK | TPL1 and TPL2 TX clock | ← | PTE1/LPSPI0_SCK |
| K4-13 | TPL12TXDATA | TPL1 and TPL2 TX data | ← | PTE2/LPSPI0_SOUT |
| K2-5 | TPL1RXCSB | TPL1 RX chip select | → | PTB17/LPSPI1_PCS3 |
| K2-11 | TPL1RXCLK | TPL1 RX clock | → | PTB14/LPSPI1_SCK |
| K2-9 | TPL1RXDATA | TPL1 RX data | → | PTB15/LPSPI1_SIN |
| K4-10 | TPL2RXCSB | TPL2 RX chip select | → | PTC12/LPSPI2_PCS1 |
| K4-6 | TPL2RXCLK | TPL2 RX clock | → | PTB29/LPSPI2_SCK |
| K4-8 | TPL2RXDATA | TPL2 RX data | → | PTB2/LPSPI2_SIN |
| K5-13 | Debug1 | GPIO for debugging purposes | ← | PTE25 |
| K5-15 | Debug2 | GPIO for debugging purposes | ← | PTE26 |
| K6-17 | GUITXD | UART routed to connector J6 (UART) | → | PTE5/LPUART12_RX |
| K6-19 | GUIRXD | UART routed to connector J6 (UART) | ← | PTE4/LPUART12_TX |
6.2.2.3 Logic analyzer interface connectors J3, J4, J5
These connectors are intended for software development and debugging purposes. They allow easy access to used signals and to monitor them, for instance, with a logic analyzer or an oscilloscope.
Table 8. Connector J3
| Pin | Signal | Description |
| 1 | GND | ground |
| 2 | TPL1RXCSB | TPL1 RX chip select |
| 3 | GND | ground |
| 4 | TPL1RXDATA | TPL1 RX data |
| 5 | GND | ground |
| 6 | TPL1RXCLK | TPL1 RX clock |
| 7 | GND | ground |
| 8 | TPL1EN | TPL1 enable |
Table 9. Connector J4
| Pin | Signal | Description |
| 1 | GND | ground |
| 2 | TPL2RXCSB | TPL2 RX chip select |
| 3 | GND | ground |
| 4 | TPL2RXDATA | TPL2 RX data |
| 5 | GND | ground |
| 6 | TPL2RXCLK | TPL2 RX clock |
| 7 | GND | ground |
| 8 | TPL2EN | TPL2 enable |
Table 10. Connector J5
| Pin | Signal | Description |
| 1 | GND | ground |
| 2 | TPL1INTB | TPL1 interrupt |
| 3 | GND | ground |
| 4 | TPL2INTB | TPL2 interrupt |
| 5 | GND | ground |
| 6 | Debug1 | optional debug signal |
| 7 | GND | ground |
| 8 | Debug2 | optional debug signal |
6.2.3 Compatible NXP MCU development platforms
FRDMDUALK3664EVB is compatible with the S32K3x4EVB-Q172 MCU development platform.
The information related to MCU development platform ordering and instruction is available at nxp.com.
6.2.4 UART connector J6
This connector is intended for USB to serial cables (for example, FTDI TTL-232R-5V).
Table 11. Connector UART J6
| Pin | Signal | Description |
| 1 | GND | ground |
| 2 | – | not connected |
| 3 | – | not connected |
| 4 | GUILD | connect to external UART TXD |
| 5 | GUIRXD | connect to external UART RDX |
| 6 | – | not connected |
6.3 Schematic, board layout, and bill of materials
The schematic, board layout and bill of materials for the FRDMDUALK3664EVB evaluation board are available at http://www.nxp.com/FRDMDUALK3664EVB.
Configuring the hardware
The FRDMDUALK3664EVB is configured as a shield board for the S32K3x4EVB-Q172 board. It can also be used in a standalone configuration. For other configurations, check mechanical and electrical fit or use, for example, a breadboard design.
7.1 S32K3x4EVB-Q172 board configuration
The FRDMDUALK3664EVB is configured for the S32K3x4EVB-Q172 board by default. Ensure that the S32K3x4EVB is configured correctly before connecting both boards
together.
Table 12 lists the relevant S32K3x4EVB-Q172 configurations required with the FRDMDUALK3664EVB. All other settings should use the default settings. For further details, consult the S32K3x4EVB-Q172 board user manual [3].
Table 12. S32K3x4EVB-Q172 recommended setting
| Jumper | Configuration | Description |
| J18 | 2-Jan | VDD_HV_A = 5 V |
| J19 | 3-Feb | VDD_HV_B = VDD_HV_A |
When both boards are connected, the SPI and other signals are directly connected with suitable MCU pins. Power is supplied to the FRDMDUALK3664EVB through the 5.0 V
from the S32K3x4EVB.
Note: The S32K3x4EVB-Q172 requires an external 12 V 2 A power supply.

7.2 Standalone or other microcontroller platforms
When the board is used in standalone or with other microcontroller platforms, the SPI signals must be manually connected to the MCU interface connectors according to Table 7.
Required power supply connections are:
- VCC5 must be provided with 5.0 V
- VIO must be provided with 3.3 V or 5.0 V depending on the required communication signal levels
References
- FRDMDUALK3664EVB — detailed information on this board, including documentation, downloads, and software and tools http://www.nxp.com/FRDMDUALK3664EVB
- MC33664 — product information on MC33664, isolated network high-speed transceiver http://www.nxp.com/MC33664
- S32K3x4EVB-Q172 — detailed information on this board, including documentation, downloads, and software and tools https://www.nxp.com/S32K3X4EVBQ172
Legal information
9.1 Definitions
Draft — A draft status on a document indicates that the content is still under internal review and subject to formal approval, which may result in modifications or additions. NXP Semiconductors does not give any representations or warranties as to the accuracy or completeness of information included in a draft version of a document and shall have no liability for the consequences of the use of such information.
9.2 Disclaimers
Limited warranty and liability — Information in this document is believed to be accurate and reliable. However, NXP Semiconductors does not give any representations or warranties, expressed or implied, as to the accuracy or completeness of such information and shall have no liability for the consequences of the use of such information. NXP Semiconductors takes no responsibility for the content in this document if provided by an information source outside of NXP Semiconductors. In no event shall NXP Semiconductors be liable for any indirect, incidental, punitive, special, or consequential damages (including – without limitation lost profits, lost savings, business interruption, costs related to the removal or replacement of any products or rework charges) whether or not such damages are based on tort (including negligence), warranty, breach of contract or any other legal theory. Notwithstanding any damages that the customer might incur for any reason whatsoever, NXP Semiconductor’s aggregate and cumulative liability towards customer for the products described herein shall be limited in accordance with the Terms and conditions of the commercial sale of NXP Semiconductors.
Right to make changes — NXP Semiconductors reserves the right to make changes to information published in this document, including without limitation specifications and product descriptions, at any time and without notice. This document supersedes and replaces all information supplied prior to the publication hereof.
Applications — Applications that are described herein for any of these products are for illustrative purposes only. NXP Semiconductors makes no representation or warranty that such applications will be suitable for the specified use without further testing or modification. Customers are responsible for the design and operation of their applications and products using NXP Semiconductors products, and NXP Semiconductors accepts no liability for any assistance with applications or customer product design. It is the customer’s sole responsibility to determine whether the NXP Semiconductors product is suitable and fit for the customer’s applications and products planned, as well as for the planned application and use of the customer’s third-party customer(s). Customers should provide appropriate design and operating safeguards to minimize the risks associated with their applications and products. NXP Semiconductors does not accept any liability related to any default, damage, costs or problem which is based on any weakness or default in the customer’s applications or products, or the application or use by the customer’s third party customer(s). The customer is responsible for doing all necessary testing for the customer’s applications and products using NXP Semiconductors products in order to avoid a default of the applications and the products or of the application or use by the customer’s third party customer(s). NXP does not accept any liability in this respect.
Terms and conditions of commercial sale — NXP Semiconductors products are sold subject to the general terms and conditions of commercial sale, as published at http://www.nxp.com/profile/terms, unless otherwise agreed in a valid written individual agreement. In case an individual agreement is concluded only the terms and conditions of the respective agreement shall apply. NXP Semiconductors hereby expressly objects to applying the customer’s general terms and conditions with regard to the purchase of NXP Semiconductors products by the customer.
Suitability for use in automotive applications — This NXP product has been qualified for use in automotive applications. If this product is used by the customer in the development of, or for incorporation into, products or services (a) used in safety-critical applications or (b) in which failure could lead to death, personal injury, or severe physical or environmental damage (such products and services hereinafter referred to as “Critical Applications”), then the customer makes the ultimate design decisions regarding its products and is solely responsible for compliance with all legal, regulatory, safety, and security-related requirements concerning its products, regardless of any information or support that may be provided by NXP. As such, the customer assumes all risk related to the use of any products in Critical Applications, and NXP and its suppliers shall not be liable for any such use by the customer. Accordingly, the customer will indemnify and hold NXP harmless from any claims, liabilities, damages, and associated costs and expenses (including attorneys’ fees) that NXP may incur related to the customer’s incorporation of any product in a Critical Application.
Export control — This document as well as the item(s) described herein may be subject to export control regulations. Export might require prior authorization from competent authorities.
Evaluation products — This product is provided on an “as is” and “with all faults” basis for evaluation purposes only. NXP Semiconductors, its affiliates, and their suppliers expressly disclaim all warranties, whether express, implied, or statutory, including but not limited to the implied warranties of non-infringement, merchantability, and fitness for a particular purpose. The entire risk as to the quality, or arising out of the use or performance, of this product, remains with the customer. In no event shall NXP Semiconductors, its affiliates, or their suppliers be liable to the customer for any special, indirect, consequential, punitive, or incidental damages (including without limitation damages for loss of business, business interruption, loss of use, loss of data or information, and the like) arising out the use of or inability to use the product, whether or not based on tort (including negligence), strict liability, breach of contract, breach of warranty or any other theory, even if advised of the possibility of such damages. Notwithstanding any damages that the customer might incur for any reason whatsoever (including without limitation, all damages referenced above and all direct or general damages), the entire liability of NXP Semiconductors, its affiliates, and their suppliers, and the customer’s exclusive remedy for all of the foregoing shall be limited to actual damages incurred by customer based on reasonable reliance up to the greater of the amount actually paid by the customer for the product or five dollars (US$5.00). The foregoing limitations, exclusions, and disclaimers shall apply to the maximum extent permitted by applicable law, even if any remedy fails of its essential purpose.
Translations — A non-English (translated) version of a document, including the legal information in that document, is for reference only. The English version shall prevail in case of any discrepancy between the translated and English versions.
Security — Customer understands that all NXP products may be subject to unidentified vulnerabilities or may support established security standards or specifications with known limitations. The customer is responsible for the design and operation of its applications and products throughout their lifecycles to reduce the effect of these vulnerabilities on customers’ applications and products. The customer’s responsibility also extends to other open and/or proprietary technologies supported by NXP products for use in the customer’s applications. NXP accepts no liability for any vulnerability. Customers should regularly check security updates from NXP and follow up appropriately.
The customer shall select products with security features that best meet the rules, regulations, and standards of the intended application and make the ultimate design decisions regarding its products and is solely responsible for compliance with all legal, regulatory, and security-related requirements concerning its products, regardless of any information or support that may be provided by NXP. NXP has a Product Security Incident Response Team (PSIRT) (reachable at [email protected]) that manages the investigation, reporting, and solution release to security vulnerabilities of NXP products.
9.3 Trademarks
Notice: All referenced brands, product names, service names, and trademarks are the property of their respective owners.
NXP — wordmark and logo are trademarks of NXP B.V.
Please be aware that important notices concerning this document and the product(s)
described herein, have been included in the section ‘Legal information.
© 2022 NXP B.V.
All rights reserved.
For more information, please visit: http://www.nxp.com
Date of release: 6 September 2022
Document identifier: UM11826
References
Home - NXP Community
NXP® Semiconductors Official Site | NXP Semiconductors
NXP® Semiconductors Official Site | NXP Semiconductors
NXP® Semiconductors Official Site | NXP Semiconductors
Evaluation Board for MC33664ATL Isolated Network High-Speed Transceiver | NXP Semiconductors
MC33664 | High-Speed Transceiver | NXP Semiconductors
Our Terms And Conditions Of Commercial Sale | NXP Semiconductors
S32K3x4-Q172 General-Purpose Development Board | NXP Semiconductors


















