COLLINGWOOD LIGHTING LSNT Neon Strip Light

Contents hide
Installation instructions
Installation
- Isolate the mains supply, prior to wiring.
- If necessary cut the strip to the required length, the cutting lines are marked on the neon strip. To maintain IP rating use the end cap to seal the neon strip (one end cap is supplied with the neon strip; extra can be acquired)
- Fix the mounting clips or profiles in the desired position.
If using clips minimum 3 per meter should be used (clips and profiles available separately). - Install the neon strip in profiles or clips.
Note: Do not secure neon strip with nails, screws, staples or anything that can damage the silicone coating - Connect the strip to a suitable constant voltage 24V driver.
Note: If used with solder-free connector make sure the polarity is correct (black/white cable from the connector).
The polarity can change depending on where the connector was installed, head or tail of the strip.
Installation data
- Isolate the mains supply, prior to wiring.
- This unit must be wired by a qualified electrician or suitable competent person.
- Do not twist or bend excessively, see Fig 1 and Fig 2 for bend radius


- Power consumption LSNS73/LSNT73- 6.5W/m, LSNS75/ LSNT75 – 9.6W/m
- Use only with SELV 24V constant voltage drivers.
![]() | Disposal of this product should be separate from household waste. Please separate these items from other types of waste and recycle them responsibly to promote the sustainable reuse of material resource. Household users should contact their local government office for details of where and how they can take these items for environmentally safe recycling. |
Installation of the solder-free strip-cable and strip-cablestrip connector
- Slide clear PC shell over the neon strip and insert the silicone pad-3(see Fig 3).

- Install the u-shaped teeth clip, with the teeth faced the silicone coating(Fig 4)

- Insert the silicone pad-1 over the connector pins (Fig 5).

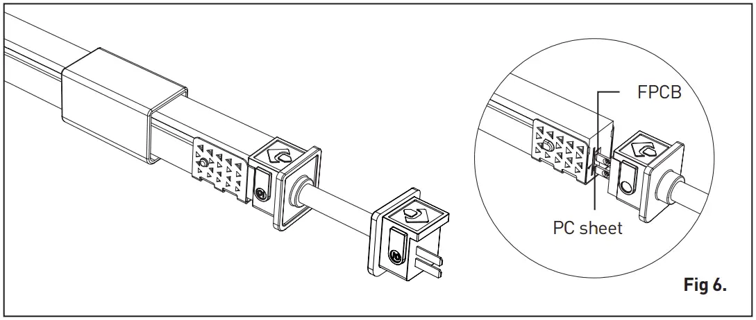
- Insert the connector plug so the pins are in contact with strip copper pads (Fig 6).

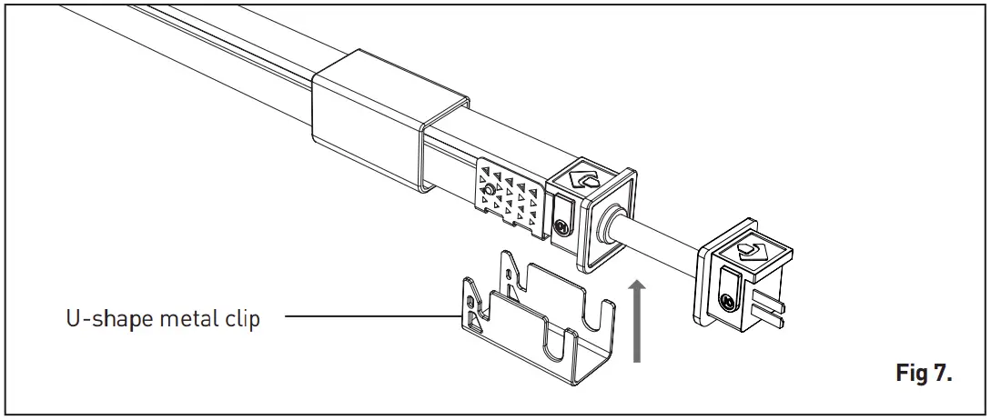
- Insert the u-shaped clip (Fig 7 and Fig 8).


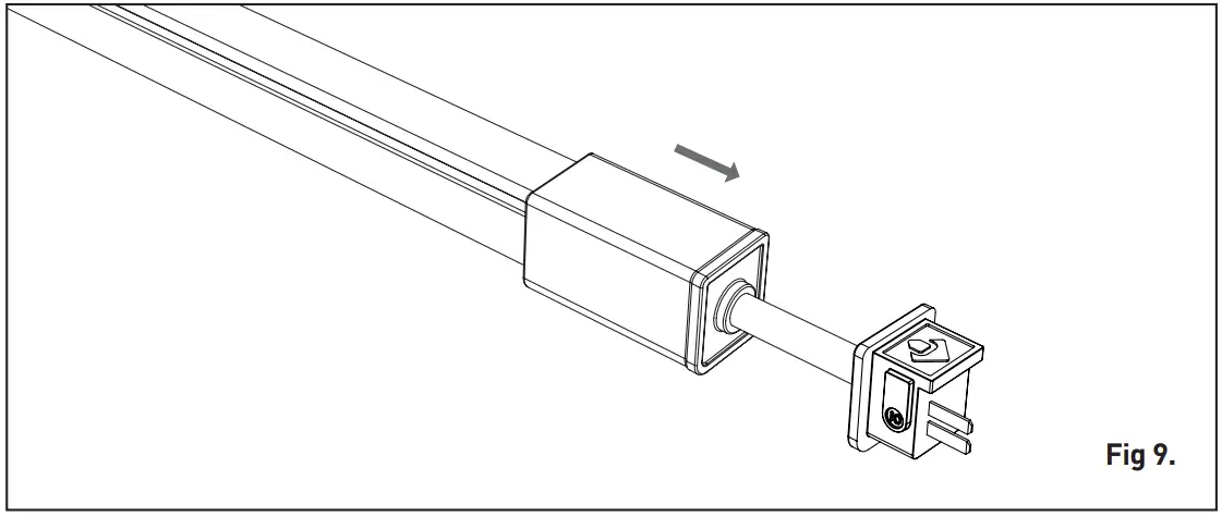
- Slide clear PC shell over the connector.

- Regard the connector cable polarity (Black / White), as it can change depending on the position it’s installed (head or tail of the strip)


Installation of the solder-free strip-strip connector
- Install the u-shaped teeth clip with the teeth facing the silicone coating and the silicon pad-3 for each neon strip(Fig11)

- Insert two silicone pad-4 over the connector pins.
- Insert connector plugs so the pins are in contact with strip copper pads (Fig 12).

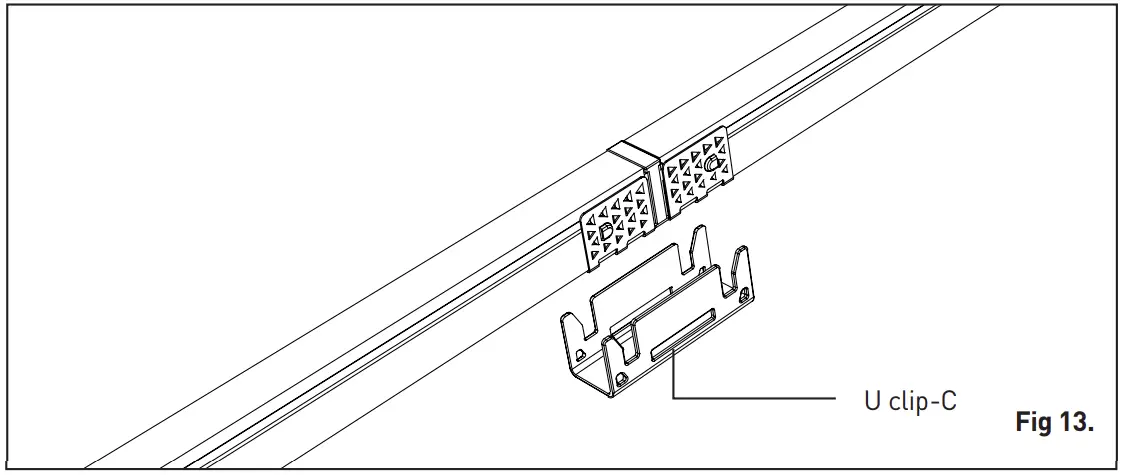
- Install the u clip-c from the bottom and then clear PC shell from the top of the neon strip (Fig 13 and Fig 14).


- Regard the connector cable polarity (Black / White), as it can change depending on the position it’s installed (head or tail of the strip)
Installation of the solder-free end cap
- Slide clear PC shell over the neon strip (see Fig 15).

- Install the u-shaped teeth clip, with the teeth faced the silicone coating(Fig 15)

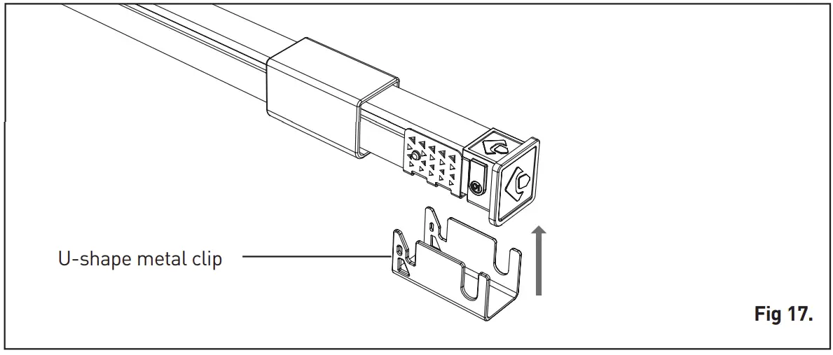
- Insert the end cap head and silicone pad (Fig 16).

- Insert the u-shaped clip (Fig 17).


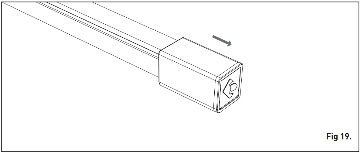
- Slide clear PC shell over the end cap (Fig 19).

- Regard the connector cable polarity (Black / White), as it can change depending on the position it’s installed (head or tail of the strip)
5 year warranty
Non-replaceable light source This product contains a light source of energy efficiency class F
T +33 (0) 4 816 816 10
F +33 (0) 4 816 816 11
E [email protected]
W collingwoodlighting.com
Collingwood Lighting, Brooklands House, Sywell Aerodrome, Sywell, Northampton NN6 0BT, United Kingdom





















