oase 6800 AquaMax Eco Expert Filtration Pump Instruction Manual
WARNING
- This unit can be used by children aged 8 and above and by persons with reduced physical, sensory or mental capabilities or lack of experience and knowledge if they are supervised or have been instructed on how to use the unit in a safe way and they understand the hazards involved.
- Do not allow children to play with the unit.
- Only allow children to carry out cleaning and user maintenance under supervision.
- Ensure that the unit is fused for a rated fault current of max. 30 mA by means of a fault current protection device.
- Only connect the unit if the electrical data of the unit and the power supply correspond. The unit data is to be found on the unit type plate, on the packaging or in this manual.
- Possible death or severe injury from electrocution! Before reaching into the water, always disconnect all units in the water that have a voltage of >12 V AC or >30 V DC from the power supply.
- Only operate the unit if no persons are in the water.
- A damaged connection cable cannot be replaced. Dispose of the unit.
Safety information
Electrical connection
- Electrical installations must meet the national regulations and may only be carried out by a qualified electrician.
- A person is regarded as a qualified electrician if, due to his/her vocational education, knowledge and experience, he or she is capable of and authorised to judge and carry out the work commissioned to him/her. This also includes the recognition of possible hazards and the adherence to the pertinent regional and national standards, rules and regulations.
- For your own safety, please consult a qualified electrician.
- The device may only be connected if the electrical data of the device and the power supply coincide. The device data is to be found on the device type plate, on the packaging or in this manual.
Extension cables and power distributors (e.g. outlet strips) must be suitable for outdoor use (splash-proof). - Protect open plugs and sockets from moisture.
Safe operation
- The impeller unit in the pump contains a magnet with a strong magnetic field that may affect the operation of pacemakers or implantable cardioverter defibrillators (ICDs). Always keep magnets at least 0.2 m away from implanted devices.
- Never operate the unit if an electrical cable is defective!
- Never operate the unit if the housing is defective!
- Never carry or pull the unit by the electrical cable.
- Never carry out technical changes to the unit.
- Only carry out work on the unit that is described in this manual. If problems cannot be overcome, please contact an authorised customer service point or, if in doubt, the manufacturer.
- Route cables such that they are protected from damage and do not present a tripping hazard.
- Only use original spare parts and accessories for the unit.
- Only open the unit housing or its attendant components if this is explicitly specified in the operating instructions.
| Part | Description | QTY |
| A | Filter pump | 1 |
| B | Filter housing | 1 |
| C | Stand | 1 |
| D | 1½″ (38 mm) hose connector | 1 |
| E | 2″ (50 mm) hose connector | 2 |
| F | Union nut for fastening the hose connector | 2 |
| G | Flat seal for the hose connector | 2 |
| H | Hose clamp | 2 |

Information about these operating instructions
Welcome to OASE Living Water. You made a great choice with the purchase of this product AquaMax Eco Expert 6800 / 11500. Prior to operating the unit, please read the instructions of use carefully and fully familiarize yourself with the unit. Ensure that all work on and with this unit is only carried out in accordance with these instructions. Please strictly follow the enclosed instructions to ensure safe and correct handling of the product. Keep these instructions in a safe place. Please also hand over the instructions when passing the unit on to a new owner.
WARNINGS AND CAUTIONS SYMBOLS
Symbols used in these instructions The symbols used in this operating manual have the following meanings:
WARNING
Indicates a possibly hazardous situation. Non-observance may lead to death or serious injuries.
NOTE
Information for the purpose of clarification or for preventing possible damage to assets or to the environment
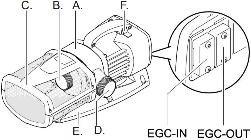
PRODUCT DESCRIPTION
| Part | Description | QTY |
| A | Pump casing – The position of the outlet can be changed by fitting the pump casing rotated through 90°. | 1 |
| B | Inlet (suction socket) | 1 |
| C | Filter housing | 1 |
| D | Outlet (pressure socket) | 1 |
| E | Stand– Ensures secure and stable positioning of the pump.– Can be firmly bolted to the ground. | 1 |
| F | Switch for switching on/off the SFC function (Seasonal Flow Control) | 1 |
| EGCIN/OUT | EGC connection – Connection for Eco Control or for integration into an EGC-network (optional). Important: Moisture at the connections can damage the pump.– Only remove the protection caps for connecting the Connection Cable EGC lines or terminalresistor.– Ensure that the rubber seals are clean and fit exactly.– Replace damaged rubber seals. | 1 |

Easy Garden Control System (EGC)
This product can communicate with the Easy Garden Control-System (EGC). EGC allows convenient control in the garden and pond via smartphone or tablet, and ensures maximum convenience and reliability. Information about EGC and the possibilities it offers can be found at www.oase-livingwater.com
Seasonal Flow Control (SFC)
With the SFC function activated, the pump automatically optimises and reduces the amount of water and the delivery head by up to 50%. Thanks to the SFC function the pump adapts to the individual pond ecology throughout the year and supports the pond biology through temperature-dependent circulation (winter mode, transition mode and summer mode). The SFC function is switched on and off at the pump. The SFC function reduces the power consumption of the pump; without SFC, the pump permanently operates at maximum throughput. The seasonal flow control does not function when the pump is installed on land (dry installation). If a skimmer, satellite filter or OASE InScenio control unit is used, we recommend deactivating the SFC depending on the unit.
Intended use
AquaMax Eco Expert 6800 / 11500, referred to in the following as “unit”, may only be used as specified in the following:
- For pumping normal pond water for filters, waterfalls and water courses.
- Operate in accordance with instructions.
- Operation under observance of the permissible water quality. (See Water quality)
The following restrictions apply to the unit:
- Do not use in swimming ponds.
- Never use the unit to convey fluids other than water.
- Never run the unit without water.
- Do not use for commercial or industrial purposes.
- Do not use in conjunction with chemicals, foodstuff, easily flammable or explosive substances.
- Do not connect to the domestic water supply
Installation and connection
Possible consequences: Death or serious injuries.
Protective measures:
- Prior to reaching into the water, isolate (switch off and disconnect) all units/devices used in the water.
- Isolate the device (disconnect from the power supply) before carrying out any work on it.
WARNING!
Death or serious injuries from hazardous electrical voltage due to operation of this unit in a swimming pond
- Never operate this unit in a swimming pond.
NOTE
If the pump is used for conveying excessively soiled water, the impeller unit will be subject to increased wear and will require earlier replacement.
Remedy:
- Thoroughly clean the pond or pool before installing the pump.
- Install the pump approx. 8 in. above the floor of the pond to avoid excessively soiled water from being drawn into the pump.
- The unit is either submerged or set up in a dry location.
- The use of the pump is only permitted with observance of the specified water quality. (See Water quality)
- Pool water or salt water can impair the appearance of the unit. Such impairments are excluded from the guarantee.
Submerged installation of the pump
- Never operate the pump in a swimming pond.
- Only operate the pump when it is below the water surface level.
- Only operate the pump with the filter basket fitted.
- Ensure that the pump is in a secure and stable position.
- The position of the pump outlet can be changed. The pump casing has to be turned to achieve a different position. (SeeTurning the pump casing to achieve a different position)

Connecting the hose for submerged installation
- AquaMax Eco Expert 6800: On the outlet, use the 2″ (50 mm) hose connector or the 1½″ (38 mm) hose connector.
- AquaMax Eco Expert 11500: On the outlet only use the 2″ (50 mm) hose connector, if at all possible.
- Screw the stepped hose adapter including union nut and sealing ring to the outlet.
- Slip the hose clip over the hose, fit the hose onto the hose connector and secure with the hose clip.

Dry installation of the pump (Install the unit at a dry place)
- AquaMax Eco Expert 6800: Hoses or pipes can be connected at the inlet and outlet. Recommendation:
- Up to 16 ft. length: Use 2″ (50 mm) hose connectors and hoses. (See Connecting the hose)
- From 16 ft. length: Use DN 75 (2.5″) or DN 100 (3″) pipes. (SeeConnecting the pipe)
- AquaMax Eco Expert 11500: A DN75/100 pipe is connected to the inlet. A hose or a pipe can be connected to the outlet.
Recommendation:- Up to 16 ft. length: Use 2″ (50 mm) hose connectors and hoses. (SeeConnecting the hose)
- From 16 ft. length: Use DN 75 (2.5″) or DN 100 (3″) pipes. (SeeConnecting the pipe)
- Swimming pond or pool that may be accessed by people.
- Install the unit at least 7 ft. away from the water.
- Do not expose the unit to direct sunlight.
- Ensure that the pump is in a secure and stable position.
- The position of the pump outlet can be changed. The pump casing has to be turned to achieve a different position. (SeeTurning the pump casing to achieve a different position)
- Adhere to the maximum permissible ambient temperature. Ensure forced cooling if necessary. (See Technical data)

Connecting the hose for dry installation
- Remove the screws for fastening the filter basket and remove the filter basket.
- Screw the hose connector with union nut and seal onto the inlet.
- Slip the hose clip over the hose, fit the hose onto the hose connector and secure with the hose clip.
- Screw the hose connector with union nut and seal onto the outlet.
- Slip the hose clip over the hose, fit the hose onto the hose connector and secure with the hose clip.
- Fasten the pump to a suitable base using screws (not included in the scope of delivery).



Connecting the pipe for dry installation
AquaMax Eco Expert 6800/11500: To connect the pipes, one PVC transition sleeve each is required. PVC transition sleeves are available in specialised shops.
- Screw the PVC transition sleeve and seal onto the outlet.
- Attach the PVC transition sleeve to the pipe.
Installation and connection
Turning the pump casing to achieve a different position
- Remove the screws for fastening the filter basket and remove the filter basket.
- Remove the screws for fastening the stand and remove the stand
- Remove the four screws for fastening the retaining plate and remove the retaining plate.
- Remove the four screws and take off the pump casing
- Turn the pump casing, place it onto the motor and fasten with the four screws.
- Fit the retaining plate onto the pump casing and fasten with the four screws
- Fit the stand and filter basket in the reverse order.

Connecting to Eco Control
As an option, Eco Control can be connected to the pump to control it.
- The control unit Eco Control is available as an accessory for Eco Expert pumps.
- If the pump is integrated in an EGC network, connecting Eco Control is not possible.
- Remove the protection cap from EGC-IN.
- Fit the plug connector of the cable and secure with the two screws (max. 2.0 Nm) (max. 18 lb-in).
- Ensure that the rubber seal is clean and fits exactly.
- Replace the rubber seal if damaged.


Integrating the pump in the EGC network
The pump can be integrated in an EGC network. The InScenio EGC and all EGC compatible units are connected with each other via Connection Cable EGC in an EGC network. A terminal resistor has to be fitted to the EGC-OUT of the last EGC compatible unit in order to terminate the network.
- The EGC connection cable is available as an accessory
- Ensure the correct connection.(See Easy Garden Control System (EGC))
- Remove the protection cap from EGC-IN

- Fit the plug connector of the ECG connection cable and secure with the two screws (max. 2.0 Nm) (max. 18 lb-in)

- Remove the protection cap from EGC-OUT, fit the terminal resistor and secure it with the two screws (max. 2.0 Nm) (max. 18 lb-in) or another EGC compatible unit.
NOTE
The device will be destroyed if water penetrates the EGC sockets.
- Close the EGC sockets with EGC plugs or a protection cap.

Commissioning/start-up
When started up, the pump automatically performs a pre-programmed self test of approx. two minutes length (Environmental Function Control (EFC)). The pump detects if it is running dry / blocked or submerged. The pump switches off automatically after approx. 90 seconds if it runs dry (is blocked). In the event of a malfunction, disconnect the power supply and flood the pump or remove the obstacle. Following this, the unit can be restarted.
- Switching on: Connect the unit to the mains. The unit switches on immediately.
- Switching off: Disconnect the unit from the mains.
Seasonal Flow Control (SFC)
- Press and slide the switch.
- ON is indicated on the switch. The function is activated.
- ON is concealed on the switch. The function is deactivated.

Maintenance and cleaning
Attention! Dangerous electrical voltage.
Possible consequences: Death or serious injuries.
Protective measures:
- Prior to reaching into the water, isolate (switch off and disconnect) all units/devices used in the water
- Isolate the device (disconnect from the power supply) before carrying out any work on it.
Cleaning the unit
NOTE
Recommendation regarding cleaning:
- Clean the unit as required but at least twice a year.
- When cleaning the pump, pay particular attention to the cleaning of the impeller unit and pump housing.
- Do not use aggressive cleaning agents or chemical solutions as they could attack the housing or impair the function of the unit.
- Recommended cleaning agent for removing stubborn limescale deposits:
- Pump cleaning agent.
- Vinegar- and chlorine-free household cleaning agent.
- After cleaning, thoroughly rinse all parts in clean water.
- Remove the screws for fastening the filter basket and remove the filter basket.
- Clean all parts.
- Use a soft brush.
- Rinse parts in clean water.
- Reassemble the unit in the reverse order.

NOTE
The impeller unit is guided in the motor block by a bearing. This bearing is a wear part and should be changed at the same time as the impeller unit.
- Changing the bearing requires specialist knowledge and tools. Have the bearing changed by your OASE specialist dealer or send the pump to OASE.
NOTE
The impeller unit contains strong magnets that attract magnetic particles (e.g. iron filings)
- All particles must be removed from the impeller unit before reassembly. Any remaining particles can cause irreparable damage to the impeller unit and motor block.
- The pipes/hoses at the inlet and outlet are removed.
- Remove the screws for fastening the filter basket and remove the filter basket
- Remove the screws for fastening the stand and remove the stand

- Remove the four screws and take off the pump casing
- Pull out the impeller unit and replace if necessary.
- Use a wide-blade screwdriver to carefully lever out the impeller unit if necessary.

- Use a wide-blade screwdriver to carefully lever out the impeller unit if necessary.
- Reassemble the unit in the reverse order.
Storage/Winterization
The unit is frost resistant to minus -4°F (20 °C). Should you store the unit outside of the pond, clean it thoroughly with a soft brush and water, check it for damage, then store immersed in water or filled with water. Do not immerse the power plug in water!
Wear parts
- Impeller unit
- Bearing in the motor block
Repair
Repair is not possible in the following cases. The pump has to be replaced.
- If there is no replacement part approved by OASE for a defective component.
- If an electric cable permanently connected to the pump becomes damaged or is shortened.
Disposal
Do not dispose of this unit with domestic waste! Disable the unit beforehand by cutting off the cables. Further information about the recycling of this product can be obtained from your local municipal authority
Spare parts
The use of original parts from OASE ensures continued safe and reliable operation of the unit. Please visit our website for spare parts drawings and spare parts. www.oaselivingwater.com
Troubleshooting
| Issue | Cause | Solution |
| Pump does not start | No mains voltage | – Check the mains voltage– Check supply lines |
| Pump does not deliver | Filter housing clogged | Clean |
| Excessively soiled water | Clean pump. The pump automatically switches on again once the motor has cooled down. | |
| Impeller unit blocked | Disconnect the power supply and remove obstacle. Then switch the pump on again. | |
| Insufficient deliveredquantity | Filter housing clogged | Clean |
| Excessive loss in the supply lines | – Select larger hose diameter– Reduce hose length to reduce frictional loss– Avoid unnecessary connection elements | |
| Pump switches off after a short running period | Excessively soiled water | Clean pump. The pump automatically switches on again once the motor has cooled down. |
| Water temperature too high | Note maximum water temperature of +35°C. The pump automatically switches on again once the motor has cooled down. | |
| Impeller unit blocked | Disconnect the power supply and remove obstacle. Then switch the pump on again. | |
| Pump has run dry. | Flood pump. Fully submerge the unit when operated in the pond. |



















