
wiltec CHJ-502 Eco Aquarium Pump User Manual

CHJ-502, CHJ-602, CHJ-902
Illustration similar, may vary depending on model
Read and follow the operating instructions and safety information before using for the first time.
Technical changes reserved!
Due to further developments, illustrations, functioning steps, and technical data can differ insignificantly.
Updating the documentation
If you have suggestions for improvement or have found any irregularities, please contact us.
The information contained in this document may alter at any time without previous notice. It is prohibited to copy or spread any parts of this document in any way without prior written allowance. All rights re-served.
The WilTec Wildanger Technik GmbH cannot be held accountable for any possible mistakes in this operating manual, nor in the diagrams and figures shown.
Even though, the WilTec Wildanger Technik GmbH has undergone biggest possible efforts to ensure that the operating manual is complete, faultless, and up to date, mistakes cannot be entirely avoided.
If you should find a mistake or wish to make a suggestion for improvement, we look forward to hearing from you.
Send an e-mail to:
[email protected]
or use our contact form:
https://www.wiltec.de/contacts/
The most recent version of this manual in various languages can be found in our online shop via:
https://www.wiltec.de/docsearch
Our postal address is:
WilTec Wildanger Technik GmbH
Königsbenden 12
52249 Eschweiler
Germany
To return orders for exchange, repair, or other purposes, please use the following address. Attention! To allow for a smooth execution of your complaint or return, it is important to contact our customer service team before returning the goods.
Returns Department
WilTec Wildanger Technik GmbH
Königsbenden 28
52249 Eschweiler
E-mail: [email protected]
Tel: +49 2403 55592–0
Fax: +49 2403 55592–15
Introduction
Thank you for purchasing this quality product. To minimise the risk of injury we urge that our clients take some basic safety precautions when using this device. Please read the operation instructions carefully and make sure you have understood its content.
Keep these operation instructions safe.
Safety regulations
CAUTION:
- On standing water bodies, garden ponds, swimming ponds as well as in their surrounding areas, you must use the device only with a residual current circuit breaker with a triggering nominal current up to 30 mA (according to VDE 0100 part 702 and 738).
- The device is not suitable for the use in swimming pools, in any kind of paddle pools or any
other water bodies during the operation of which there are humans or animals in the water.
Commissioning the device during the stay of humans or animals in the danger zone is not allowed. Ask your electrician! - This device must not be used by persons (including children) with reduced physical, sensory,
or mental capabilities, or with a lack of experience and/or knowledge, unless they are supervised by a person responsible for their safety or have been given instructions concerning the use of the device. - Children should be supervised to ensure that they do not play with the device.
ATTENTION:
- Perform a visual inspection of the device before each use. Do not use the device if the safety equipment is damaged or worn. Never put the safety equipment out of force.
- Only use the device for the purpose as specified in this manual.
- You are responsible for the safety in the work area.
- If the power cord or the plug is damaged by external influences, the cord must not be repaired! Since the cord is moulded with the stator, a replacement is not possible, the pump must be scrapped.
- The specified unit voltage of 230 V AC as indicated on the nameplate must match the existing mains voltage.
- Never lift, transport, or suspend the device by the power cord.
- Make sure that the electrical connectors are in a flood-safe area and that they are protected
against moisture. - Pull the power plug before working on the device.
- The operator is responsible for the compliance with the local safety and installation regulations.
- The user must exclude, by taking the appropriate measures (e.g., installation of an alarm system, reserve pump, etc.), any consequential damage due to flooding of areas and faults in the device.
- If there is a failure of the device, the repairing is only to be done by a professional electrician.
- The device must never run dry or be operated with fully closed suction pipe. For the damage in the device caused by a dry run the manufacturer’s warranty will be void.
- The device must not be used for the operation in swimming pools.
- The device must not be installed in the portable water circulation.
WARNING:
Read all safety instructions!
Failure concerning the warnings and instructions may result in electric shock, fire, and/or serious injury. Keep all warnings and instructions for the future.
Resistance
- As for the continuous operation, the maximum temperature of the liquid to be transported should not exceed +35 ℃.
- This pump must not be used to transport any combustible, gassing, or explosive liquids.
Electrical connection
- The electrical connection is made to a grounded socket 230 V ~ 50 Hz protection at least 10 A.
- The device is switched on and off by using the built-in ON/OFF switch. When the engine is turned on, the control lamp in the interior of the switch lights up.
- The engine is protected against overloading or blocking by a built-in thermal protection. In case of overheating, the pump is switched off automatically by the protection. After cooling down, the pump re-switches on automatically.
Mains connection
Your pond pump is already equipped with a grounded plug. The pump is meant to be for a connection to a grounded socket with 230 V ~ 50 Hz. Make sure that the socket is sufficiently secured (at least 6 A) and in a good condition. Run the pump plug into the socket. The pump is ready for operation.
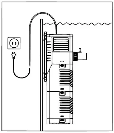
Never operate the pump if the cord or the plug is damaged. Please make sure that the connection to the power source is installed in a way that prevents water to flow along the cable to the direction of the power plug direction. The installation should be like the picture below. The upward arc prevents that water drops from getting into the socket.

Technical data

Explosion view and parts list



Cleaning
- Disconnect the pump from the power supply and remove it from the water. By pulling and mov-ing carefully separate the engine housing from the impeller chamber. Remove the impeller and the shaft and clean them with a brush. You can remove resistant debris by putting these parts in vinegar. Please rinse the parts thoroughly before you put them back into the pump.
- The plastic bearings, the ceramic shaft, and the like are wear parts. If, despite regular cleaning, the pump generates significant operating noise after prolonged operation, it may be useful to replace these parts.
- Regularly clean the sponge to avoid an impact on the pump performance.
Disposal regulations
EU guidelines regarding the disposal of scrap electric appliances (WEEE, 2012/19/EU) were imple-mented in the law related to electrical and electronic equipment and appliances.
All WilTec electric devices that fall under the WEEE regulations are labelled with the crossed-out wheeled waste bin logo. This logo indicates that this electric equipment must not be disposed with the domestic waste.
The company WilTec Technik GmbH has been registered in the German registry EAR under the WEEE-registration number DE45283704.
Disposal of used electrical and electronic appliances (intended for use in the countries of the European Un-ion and other European countries with a separate col-lection system for these appliances).
The logo on the article or on its packaging points out that this article must not be treated as normal house-hold waste but must be disposed to a recycling collec-tion point for electronic and electrical waste equipment. By contributing to the correct disposal of this article you protect the environment and the health of your fellow men. Environment and health are threatened by inap-propriate disposal.

Material recycling helps reduce the consumption of raw materials.
Additional information on recycling this article can be provided by your local community, municipal waste disposal facilities, or the store where you purchased the article.
Address:
WilTec Wildanger Technik GmbH
Königsbenden 12 / 28
D-52249 Eschweiler
Important notice:
The reprint or reproduction, even of excerpts, and any commercial use, even in part, of this instruction manual require the written permission of WilTec Wildanger Technik GmbH.
© by WilTec Wildanger Technik GmbH
http://www.WilTec.de
http://www.aoyue.eu
http://www.teichtip.de
Read More About This Manual & Download PDF:



















