SICCE 5.5 LPH Advanced Aquarium Return Pump
SAFETY INSTRUCTIONS
SYNCRO ADV is made in conformity with the national and international security laws. 1) Always isolate the pump from the main electricity before installing or carrying out any maintenance. 2) The pump can work submerged or inline out of water. 3) Before connecting the pump to the electricity supply, check there are any damages on cord or plug. 4) The pump has a type Z cable link. The cable and the plug cannot be substituted or repaired; in case of damage replace the entire pump. 5) ATTENTION: do not operate any appliance if it has a damaged cord or plug, if it is malfunctioning, or if it has been dropped or damaged in any way. 6) The pump must not work without water to avoid damages to the motor. 7) The pump can be used in liquids or in an environment with a temperature not higher than 35° C / 95° F. 8) Do not use the pump for uses different to those for which it has been projected as, i.e. in the bathroom or similar applications. 9) Avoid using the pump with corrosive and abrasive liquids. 10) The pump cannot be used by people with handicaps or by children if they are not supervised by a person responsible for their safety. 11) To avoid accidental drips wet the plug or the socket, make a loop with the cord under the socket level (Pic. 1).
12) Avoid taking the pump by the cord during the installation or maintenance. 13) The pump can be used only in the above-mentioned applications and it is only for internal use (3 meters long cable). 14) If the pump or the filter is supplied with a cable 10 meters long, or more than 6 feet long for the American type (USA), these appliances are intended for outdoor use as required by international standards.
COMPONENTS
SYNCRA ADV pumps are designed favoring the almost total dismantling of their components, to facilitate proper use and maintenance and ensure a long life. Below is the list of the individual parts and spare parts (Pic. A):

- Motor body completely submersible and insulated by epoxy resin
- Rotor kit with Impeller and bottom bearing
- Bottom bearing
- O-ring
- Anti-vibration rubber feet
- Turning pre-chamber
- Pre-filter grid
- 1” threaded hose fittings
PUMP INSTALLATION: USE AND REGULATION
Proceed as follows to install the pump: 1) Connect the joint to the pump outtake to which you can connect the hose with the appropriate diameter. 2) Place the pump in an area of the pond, easily accessible for maintenance operations. 3) If the pump is used submersed and not in line, it must be always fully submersed. (Pic. D)
INLINE APPLICATIONS
It is recommended to place the pump in spaces where there is proper ventilation and the pump is not directly exposed to heat sources. Place the pump so as to prevent too long idraulic pipings, which would reduce its performance. Do not position the pump above the water level (Pic. E)
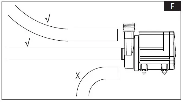
because it is not self-priming and the risk of the pump running dry. The risk of invisible air bubbles creating a vacuum area is very high. Damages that are caused by the pump running dry are excluded from the warranty. To maximize the pump’s efficiency, choose a straight inlet tube without elbows (Pic. F).
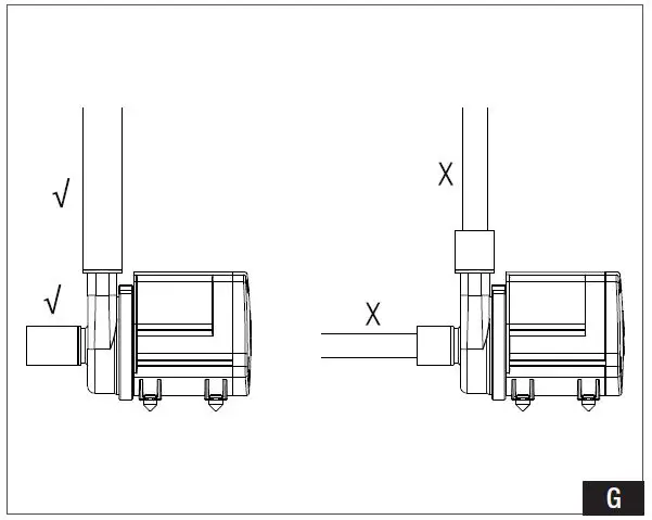
We suggest Inlet and outlet tubes with a diameter equal or bigger than the diameter of the threaded pipe included (Pic. G).
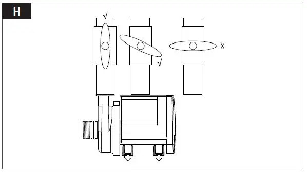
Do not use the pump leaving the outlet totally closed. A minimum water flow is necessary to keep the inner motor cool without running dry (Pic. H).
MAINTENANCE
For the periodic maintenance of the pump, unplug the pump from the electric socket and then remove the pump from water. 1) Lift the plastic ring of the pump’s volute pulling the tab outwards (Pic. I).
2) Remove the ring (Pic. J).
3) Remove the volute of the pump by turning and simultaneously pulling forward (in the case of fouling this may take more pressure). 4) Pull out the complete rotor set (Pic. K).
5) Rinse each part with water, using a soft brush to remove the deposit. 6) Then assemble everything in inverse order. 7) Put the ring in place with the biggest teeth facing the pump and close it by pressing on the tab until you hear a “click”. (Pic. L).
Any damage to the o-rings, even small, can seriously endanger the pump performance. In this case, it is best to replace them. IMPORTANT: The build-in circuit board of the pump has been programmed to provide 3 levels of protection: Protection against rotor’s blockage: In case of malfunction which causes the lock of the rotor (due to excessive dirt or other) or of operating without water, the pump, after 20 attempts to start, followed by a short interval of time, and other 20 attempts will stop automatically. If this does not happen, the pump will automatically go on standby, the electronic board will remain powered but the engine will shut down. In this case to restart the pump you need to remove and re-insert the plug into the power outlet. Dry running protection and thermal protection: motor’s protection in case of functioning without water. The pump stops when it works without water, or if there is a locked rotor. When the pump is taken out from the water, the motor stops. ATTENTION: do not underestimate the power of the magnet. If you slightly lose the grip and the axis hits the rear bearing, the risk to damage the bearing is very high. A damage axis and bearing causes high reparation costs.
SPECIAL MAINTENANCE AND REPLACING GROUP ROTOR
Follow this instruction for an accurate rotor kit cleaning or replacing. Repeat the opening actions as indicated in the Maintenance section, steps 1, 2, 3, 4. To easily remove the bottom bearing, we suggest leaving the pump submerged with water and vinegar for a while to soften debris or limestone. – Insert the hooks supplied inside the tube of the pump (Pic. M).
Hook the bearing and pull it out. Clean the bearing under running water (never use soap or detergent of any kind because they pollute the aquarium water: we recommend using a vinegar and water solution) possibly using a soft brush to remove scale deposits. If it is heavily worn, we suggest to replaces it with a new one. Re-insert the bearing sleeve in the pump (Pic. M) after wetting and pushing it all the way.
INSTRUCTIONS FOR THE CORRECT DISCHARGE OF THE PRODUCT ACCORDING TO EU DIRECTIVE 2002/96/EC
When used or broken, the product does not have to be discharged with the other waste. It can be delivered to the specific electric waste collection centers or to dealers who give this service. Discharge separately an electric tool avoid negative consequences for the environment and for the health and allows to regenerate the materials so to have a great saving of energy and resources.
PRODUCT REGISTRATION
By registering the product online in the “register the product” section on the website www.sicce.com, and filling in the required data, you will activate the “special online warranty” on the group rotor for 6 months from the date of purchase, cash register receip will validate the registration. In case of no registration, the warranty will be managed as follows.
WARRANTY
This product is guaranteed against defects of materials and workmanship for a period of 3 years from the date of purchase, except the rotor kit. The warranty certificate must be filled in by the dealer and must accompany the pump if it is returned for repair, along with the cash register receipt or similar document. The warranty covers the replacement of the defective parts. In case of improper use, tampering or negligence by the buyer or user, the guarantee is void and expires immediately. The guarantee is also void in absence of the cash register receipt or similar document. The shipping cost to and from the factory, or the repair station, have to be paid by the buyer. FIND OUT HOW TO GET YOUR PRODUCT GUARANTEED FOR 5 YEARS: to improve our service and our clients’ satisfaction, SICCE offers the possibility of adding a 2 years extension to the warranty by simply registering your product on our website www.sicce.com in “Sicce for you/Product registration”. Fill in the form and upload the product’s purchase receipt. After having correctly inserted all your data, complete the warranty extension request.
ATTENTION!
The limestone deposits and the natural wear-out of the components might cause a raise of the pump’s noise. However, they do not affect the good functioning of the pump. In this case, we recommend you to replace the impeller.
Do not use corrosive chemicals to clean and wash the pumps. 5 hours or more of immersion of the pump in water and vinegar are sufficient to remove the calcareous deposits without compromising the quality and operation of the pump.
TIPS FOR A LONGER-LASTING
In case, after a first installation, the pump will not be used for over one week, we recommend taking the rotor assembly out of the pump, cleaning it thoroughly, and storing the pump and rotor separately.
IMPORTANT – The wires in this lead are colored as follows: Blue-Neutral/Brown-Live. The colors of the wires of the main lead of this appliance may not correspond with the colored markings identifying the terminals in your plug. In this case, connect as follows: the BROWN wire must be connected to the terminal marked with L or in RED color; the BLUE wire must be connected to the terminal marked N or in BLACK color.
CAUTION – The BROWN or BLUE leads must NEVER be connected to the earth terminal (marked E or in GREEN/YELLOW color) of a 3 pins plug.
ONLINE HELP
Watch our tutorial videos on THE SICCE YOUTUBE official channel www.youtube.com/user/SICCEspa




















