
INSTALLATION
INSTRUCTIONS
THERMOSTATIC VALVE AND TRIM
MODEL NO. 1-540

Congratulations on the purchase of your Newport Brass product, an excellent choice, that will give you years of quality service and enhance the look and style of your home.
General Characteristics
In case of instantaneous heaters, hot water flow has to at least meet flow required by heater and maintain burning. (Specified by heater manufacturer)
Operating Specifications
Hot water supply temperature:
Maximum: 185°F (85°C).
Note 1 :Maximum temperature through this valve is limited by that of the hot water supply (up to a maximum of 120°F when accurately calibrated).
Note 2: Minimum difference between hot and mixed temperature is 18°F (10°C).
Cold water supply temperature:
Minimum: 41°F (5°C)
Operating Pressure:
Maximum: 80 PSI
Minimum: 20 PSI
Operating pressure (on hot and cold line) should be kept as balanced as possible in order to assure maximum efficiency.
When the pressure is greater than 80 PSI, a pressure reducer is required. To be fitted before valve.
Technical Data
The temperature control knob is graduated from 75°F to 120°F with auto stop at 100° to avoid scalding.
Temperature limit setting of less than 120°F
A stop valve/volume control is needed between thermo valve outlet and end device(s).
Plumbing Recommendations
- An independent water supply for both hot and cold is required. Do not pipe off ring main.
- Large runs of pipe work will cause frictional loss of pressure.
- The recommended main water supply piping to valve shall be 3/4” minimum
- If more than one valve is installed, the recommended main water supply piping to valve shall be 1” minimum, reducing to 3/4” within 24” of each valve.
(Ensure adequate supply from both hot and cold water can be maintained.)
Water By-Laws
The mixing valve should be installed in compliance with the water by-laws. For further details refer to the latest copy of by-laws guide or your local water authority.
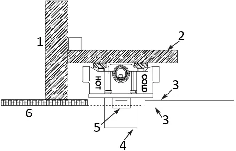
I. Rough in Valve Installation
Note: Use plumbers tape or equivalent to seal all threaded port joints. This valve is designed to fit in a 2″ X 4″ stud wall (or thicker) installation. Use stem extension kit #2-260 (sold seperately) if valve installed is too far away from the finished wall.
- Do not remove mud cover from valve before locating mounting surface depth in the wall.
- Do not turn the cartridge stem – temperature settings are pre-calibrated at the factory.
- Install plug into one of the two outlet ports. Note: For proper valve operation only one outlet port may be used.
- Mount valve to cross support using shims and screws (not included). Valve shall be perpendicular and fixed firmly to cross support to achieve proper trim attachment.
- Place the cross support with valve between wall studs. The min./max. valve exposure template on the mud cover and vertical height desired within tub/shower enclosure determines the exact cross support placement. Attach cross support to wall studs.
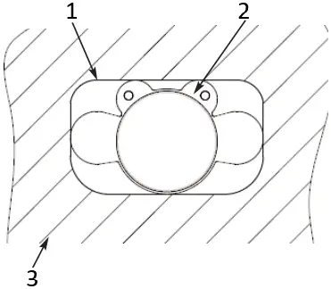
- Ensure opening in finished wall comes in contact with the mudcover to ensure seal with Thermo Wall Plate shown in Fig. 4a. (See Fig 2a).

Fig. 1
- Cartridge stem DO NOT TURN
- Shim
- Plug

Fig. 2
- Wall stud
- Cross support
- Maximum exposure
- Mud cover
- Mud cover template
- Finished wall

Fig. 2a
- Opening in Finished Wall
- Mud Cover
- Finished Wall
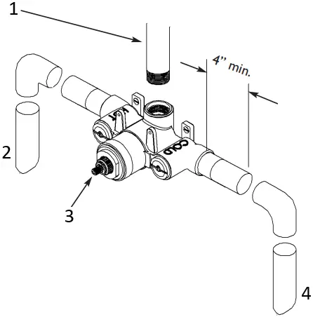
II. Connecting Water Supply
1. Thoroughly flush supply lines to remove any debris, metallic shavings, flux, etc.
2. Shut off water supply to valve.
3. Hot and cold water supplies MUST be connected to designated sides for proper operation of valve.
4. If solder/brazing the fitting connections, pre-assembly hot & cold adapter fittings to copper piping. Using plumbers tape or equivalent to attach adapter to appropriate inlet port.
Important: All excessive heat shall be a minimum of 4” from valve.
5. Connect outlet pipe to stop valve/volume control (not included), and from stop valve pipe to various end device(s).
6.Turn on water supply to valve and check for leaks.

Fig. 3
- Outlet pipe for shower connection
- Hot water supply
- Cartridge stem (DO NOT TURN)
- Cold water supply
III. Installing Trim & Temperature
- Remove and discard mud cover and screws.
- Slide sleeve over valve body with grooved notch to topside.
- Slide cover plate with gasket over sleeve and attach with decorative screws provided (See Fig. 4).
- Orient and position stop ring as shown below (See Fig. 5).
- Open shut-off valve and verify water temperature at outlet device by using a thermometer.
NOTE: The safe and factory set temperature is 100°F. If the temperature needs to be adjusted follow step 6, otherwise skip to step 7. - Rotate cartridge stem to adjust temperature:
(clockwise = colder or counterclockwise = hotter) - Place bonnet onto cartridge stem with red button (100°F) positioned straight up and inline with notch on the sleeve (See Fig. 6).
- Secure bonnet in place with long flat head screw.
- Place decorative handle onto stem and secure with setscrew.

Fig. 4
- Sleeve
- Valve
- Coverplate

Fig. 5
- Stop ring
- Cartridge stem

Fig. 6
- Bonnet
- Handle
IIIa. Installing Trim & Temperature Setting for the following series: 3-2404TR, 3-2414TR, 3-2484TR, 3-2524TS, 3-2534TS, 3-2544TS, 3-2554TR, 3-2044TS
- Remove and discard mud cover and screws.
- Slide Sleeve over Valve body with grooved notch to topside.
- Slide Thermo Wall Plate with o-rings over Sleeve and attach with screws (See Fig 4a).
- Slide Thermo over wall Plate , flush on finished wall and oriented with 100° mark at the top (See Fig 5a).
- Position limit Stop Ring with orientation shown below (See Fig 5a).
- Open shut-off valve and verify water temperature at outlet device by using a thermometer.
Note: The safe and factory set temperature is 100°F. If the temperature needs to be adjusted: Rotate Cartridge Stem to adjust temperature: (clockwise=colder or counterclockwise=hotter). - Place Bonnet onto cartridge stem with red button (100°F) positioned straight up and inline with notch on the Sleeve(See Fig 6a).
- Secure Bonnet in place with set screw (See Fig 6a)

Fig. 4a
- Thermo Cover Plate
- Thermo Wall Plate
- Sleeve
- Valve
- Optional Extension Kit 2-260 available

Fig. 5a
- Stop Ring
- Cartridge Stem

Fig. 6a
- Bonnet
IV. Maintenance and Troubleshooting
The thermostatic valve has various screens that filter debris and unwanted particles that may damage the valves’ cartridge and operation. Though years of use these screens may build up with impurities and limescale, restricting the flow of water through the cartridge and or check valves. The following steps describe removal and cleaning procedure.
Cartridge (Reference Fig. 7 or Fig. 7a based on trim style)
- Carefully remove the handle, bonnet, stop ring, cover plate and sleeve.
- Shut off the water to cartridge by tightening center screw on each check valve, 5 turns maximum clockwise.
- Unscrew the cartridge using 1-3/16” or adjustable wrench; gently remove cartridge from housing.
- Clean the screens by rinsing the cartridge under running water. If necessary, soak in a 50/50 mix of white vinegar and water to remove limescale.
- Wipe cartridge and housing with wet cloth and apply a thin film of non-petroleum grease to o-rings. Do not use Vaseline.
- Carefully install cartridge into housing and tighten to 10 ft-lbs.
- Fully open check valves and inspect for leaks.
- Check operation and flow. If improved, proceed to step 9, otherwise see check valve section below.
- Reinstall trim and set temperature per section III.

Fig. 7
- Handle
- Bonnet
- Stop ring
- Coverplate
- Sleeve
- Check valve
- Cartridge
- O-rings
- Screens

Fig. 7a
- Handle
- Bonnet
- Stop ring
- Coverplate
- Sleeve
- Check valve
- Cartridge
- O-rings
- Screens
Check valve (Reference Fig. 8 or Fig. 8a based on trim style)
- Turn water supply to valve inlets off.
- Tighten center screw on check valve inward until it clears bottom on check valve slot.
- Unscrew check valve with 1-1/16″ socket.
- Remove check valve and clean per step 4 and 5 above.
- Replace valve back into housing, unscrew center and re-close to 5 turns max clockwise.
- Turn on water supply to valve inlets.
- Fully open the check valve screws and inspect for leaks.
- Reinstall trim and set temperature per section III.

Fig. 8
- Check valve
- O-ring
- Filter

Fig. 8a
- Check valve
- O-ring
- Filter
NWP-1-540 2001 CARNEGIE AVE, SANTA ANA CA 92705
Rev G (949) 417-5207
EN-4469 WWW.NEWPORTBRASS.COM
03/25/2022


















