BRIZO T604 MultiChoice Thermostatic Valve Trim

NOTICE TO INSTALLER: Place this label on the water heater next to the temperature adjustment knob.
WARNING:
This series of tub/shower valves does not adjust automatically for changes in temperature at the hot water heater or inlet. If the temperature setting of the hot water heater or inlet is changed, the setting on these valves must be adjusted manually! Failure to re-adjust the valve may result in hot water burns or extreme cold resulting from variations in line pressure (such as when a dishwasher or washing machine is in use while you are taking a shower). After installation, verify that the temperature knob on the valve is set so that changes in line pressure or temperature do not result in uncomfortable water temperature changes. If the temperature setting of the hot water heater or inlet is changed after installation of the valve, the setting of the temperature knob also must be changed! Consult the installation instruction sheet for instructions on how to make this setting, or call us at 1-877-345-BRIZO.
NOTICE TO INSTALLER: Place this label close to the valve where the owner will see it, such as inside the door of a cabinet or vanity.
WARNING:
Water temperature changes due to seasonal or other inlet variations, such as changing the setting on the hot water heater may require adjustment of the temperature knob on your tub/shower valve to ensure a safe maximum temperature. This valve series does not automatically adjust for inlet temperature changes. If changes occur and you are not sure how to make the necessary temperature knob adjustments, please consult the installation instruction sheet provided with this valve or call 1-877-345-BRIZO. This valve is designed to reduce the risk of injury due to inlet pressure or temperature changes, commonly caused by dishwashers, washing machines, toilets and the like. It may not provide protection from hot water burns when there is a failure of other temperature controlling devices elsewhere in the plumbing system. After making the necessary adjustments please fill in the information below. This valve/system has been set by the person listed below to help ensure a safe maximum temperature. Any change in the setting may raise the temperature of the water coming out of the shower or bath above the limit considered safe and could lead to hot water burns. If this label has not been completed, you should verify that the temperature knob has been properly adjusted to suit your individual installation. The installation instruction sheet supplied with the valve provides information on how to make this setting.


Read all instructions prior to installation.
CAUTION
Failure to read these instructions prior to installation may result in personal injury, property damage, or product failure. Manufacturer assumes no responsibility for product failure due to improper installation.
You may need:

CAUTION: This system/device must be set by the installer to ensure safe, maximum temperature. Any change in the setting may raise the discharge temperature above the limit considered safe and may lead to hot water burns.
NOTICE TO INSTALLER: CAUTION!–As the installer of this valve, it is your responsibility to properly INSTALL and ADJUST this valve per the instructions given. This valve does not automatically adjust for inlet temperature changes, therefore, someone must make the necessary temperature knob adjustments at the time of installation and further adjustments may be necessary due to seasonal water temperature change. YOU MUST inform the owner/user of this requirement by following the instructions. If you or the owner/user are unsure how to properly make these adjustments, please refer to page 7 and if still uncertain, call us at 1-877-345-BRIZO (2749).
After installation and adjustment, you must affix your name, company name and the date you adjusted the temperature knob to the caution label provided and apply or attach the label to the back side of the closest cabinet door and the warning label to the water heater. Leave this Instruction Sheet for the owner’s/user’s reference.
WARNING: This thermostatic bath valve is designed to minimize the effects of outlet water temperature changes due to inlet pressure and temperature changes, commonly caused by dishwashers, washing machines, toilets and the like. It may not provide protection from hot water burns when there is a failure of other temperature controlling devices elsewhere in the plumbing system, if the temperature knob is not properly set or if the hot water temperature is changed after the settings are made or if the water inlet changes due to seasonal changes.
WARNING: Do not install a shut-off device on either outlet of this valve. When this type of device shuts off the water flow, it can defeat the ability of the valve to balance the hot and cold water pressures.
Limited Warranty on Brizo® Faucets
Parts and Finish. All parts (other than electronic parts, air switch power modules, batteries, and parts not supplied by Brizo Kitchen and Bath Company) and finishes of Brizo® faucets purchased from authorized Brizo sellers are warranted to the original consumer purchaser to be free from defects in material and workmanship for as long as the original consumer purchaser owns the home in which the faucet was first installed. For commercial purchasers, (a) the warranty period is ten (10) years for multi-family residential applications and (b) five (5) years for all other commercial uses, in each case from the date of purchase. For purposes of this warranty, the term “multi-family residential application” refers to the purchase of the faucet from an authorized Brizo seller by a purchaser who owns but does not live in the residential dwelling in which the faucet is initially installed, such as in a rented or leased single unit or multi-unit detached home (duplex or townhome), or a condominium, apartment building or community living center. The following installations are not considered multi-family residential applications, are excluded from the 10-year warranty, and are subject to the 5-year warranty: industrial, institutional or other business premises, such as a dormitory, hospitality premises (hotel, motel, or extended stay location), airport, educational facility, long- or short-term healthcare facility (hospital, rehabilitation center, nursing, assisted or staged-care living unit), public space or common area.
Electronic Parts and Batteries (if applicable). Electronic parts (other than air switch power modules and batteries), if any, in Brizo® faucets purchased from authorized Brizo sellers are warranted to the original consumer purchaser to be free from defects in material and workmanship for five (5) years from the date of purchase or, for commercial users, for one (1) year from the date of purchase. No warranty is provided on batteries.
Air Switch Power Module. The electronic power module of Brizo® air switches purchased from authorized Brizo sellers is warranted to th original consumer purchaser to be free from defects in material and workmanship for two (2) years from the date of purchase or, for commercial users, for one (1) year from the date of purchase.
What We Will Do. Brizo Kitchen & Bath Company will repair or replace, free of charge, during the applicable warranty period (as described above), any part or finish that proves defective in material and/or workmanship under normal installation, use, and service. Brizo Kitchen & Bath Company may, in its sole discretion, use new, refurbished or recertified parts or products for such repair or replacement. If repair or replacement is not practical, Brizo Kitchen & Bath Company may elect to refund the purchase price in exchange for the return of the product. These are your exclusive remedies.
What Is Not Covered. Because Brizo Kitchen and Bath Company is unable to control the quality of Brizo products sold by unauthorized sellers, unless otherwise prohibited by law, this warranty does not cover Brizo products purchased from unauthorized sellers (visit Brizo.com to see a list of our Authorized Online Resellers).
Any labor charges incurred by the purchaser to repair, replace, install or remove this product are not covered by this warranty. Brizo Kitchen & Bath Company shall not be liable for any damage to the product resulting from reasonable wear and tear, outdoor use, misuse (including use of the product for an unintended application), freezing water, abuse, neglect, or improper or incorrectly performed assembly, installation, maintenance or repair, including failure to follow the applicable care and cleaning instructions. Customized components purchased by the consumer or commercial user and installed into a Brizo product, and any damage resulting from removal or improper installation of such components, are not covered by this warranty.
Brizo Kitchen & Bath Company recommends using a professional plumber for all installation and repair of faucets. We also recommend that you use only genuine Brizo® replacement parts.
What You Must Do To Obtain Warranty Service or Replacement Parts. A warranty claim may be made and replacement parts may be obtained by calling 1-877-345-BRIZO (2749) or by contacting us by mail or online as follows (please include your model number and date of purchase): must be made available to Brizo Kitchen & Bath Company for all warranty claims unless the purchaser has registered the product with Brizo Kitchen & Bath Company. This warranty applies only to Brizo® faucets installed in the United States of America, Canada, and Mexico.
In the United States and Mexico:
Brizo Kitchen & Bath Company
55 E. 111th Street
Indianapolis, IN 46280
Attention: Warranty Service
https://www.brizo.com/customer-support/contact-us
In Canada:
Masco Canada Limited, Plumbing Group
Technical Service Centre
350 South Edgeware Road
St. Thomas, Ontario, Canada N5P 4L1
https://www.brizo.com/customer-support/contact-us
Proof of purchase (original sales receipt) from the original purchaser
Limitation on Duration of Implied Warranties. Please note that some states/provinces (including Quebec) do not allow limitations on how long an implied warranty lasts, so the below limitations may not apply to you. TO THE MAXIMUM EXTENT PERMITTED BY APPLICABLE LAW, ANY IMPLIED WARRANTY, INCLUDING THE IMPLIED WARRANTIES OF MERCHANTABILITY AND OF FITNESS FOR A PARTICULAR PURPOSE, IS LIMITED TO THE STATUTORY PERIOD OR THE DURATION OF THIS WARRANTY, WHICHEVER IS SHORTER.
Limitation of Special, Incidental or Consequential Damages.
Please note that some states/provinces (including Quebec) do not allow the exclusion or limitation of special, incidental, or consequential damages, so the below limitations and exclusions may not apply to you. TO THE MAXIMUM EXTENT PERMITTED BY APPLICABLE LAW, THIS WARRANTY DOES NOT COVER, AND BRIZO KITCHEN & BATH COMPANY SHALL NOT BE LIABLE FOR ANY SPECIAL, INCIDENTAL, OR CONSEQUENTIAL DAMAGES (INCLUDING LABOR CHARGES TO REPAIR, REPLACE, INSTALL OR REMOVE THIS PRODUCT), WHETHER ARISING OUT OF BREACH OF ANY EXPRESS OR IMPLIED WARRANTY, BREACH OF CONTRACT, TORT, OR OTHERWISE. BRIZO KITCHEN & BATH COMPANY SHALL NOT BE LIABLE FOR ANY DAMAGE TO THE FAUCET RESULTING FROM REASONABLE WEAR AND TEAR, OUTDOOR USE, MISUSE (INCLUDING USE OF THE PRODUCT FOR AN UNINTENDED APPLICATION, FREEZING WATER, ABUSE, NEGLECT OR IMPROPER OR INCORRECTLY PERFORMED ASSEMBLY, INSTALLATION, MAINTENANCE OR REPAIR, INCLUDING FAILURE TO FOLLOW THE APPLICABLE INSTALLATION, CARE AND CLEANING INSTRUCTIONS. Notice to residents of the State of New Jersey: The provisions of this warranty, including its limitations, are intended to apply to the fullest extent permitted by the laws of the State of New Jersey.
Additional Rights. This warranty gives you specific legal rights, and you may also have other rights which vary from state/province to state/province.
This is Brizo Kitchen & Bath Company’s exclusive written warranty, and the warranty is not transferable.
If you have any questions or concerns regarding our warranty, please contact us as provided above or visit our website at www.brizo.com
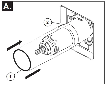
Cartridge Installation
- Turn off water supplies. Remove bonnet nut (1) and test cap (2) from the body. If this is not a thin wall mounting, the entire plasterguard (3) may be removed. If screen (4) is in place, remove before installing cartridge.

- Rotate the cartridge (1) so the H (2) is on the hot inlet side of the valve. Insert cartridge into valve body as shown. Make sure the cartridge tubes and O-rings (3) are properly seated in holes at the base of the body. Ensure the keys on the body are fully engaged with the slots in the body (4).

- Slide bonnet nut (1) over the cartridge and thread onto the body. Hand tighten securely.

Back to back Installation
For back to back or reverse installations (hot on right and cold on left): Rotate cartridge (1) so the word “UP” (2) appears on the bottom. Install the cartridge making sure that the keys are fully engaged with the slots in the brass body (see step B). Slide bonnet nut (3) over the cartridge and thread onto the body. Hand tighten securely

Valve Trim Installation
(See for Siderna® valve trim installation.)
Slide O-ring (1) over cartridge and the bonnet nut (2). The O-ring, which acts as a spacer to steady the sleeve, should rest behind the bonnet nut.
Note: Depending on the location of the valve within the wall and wall thickness, an optional extension kit (RP74785) can provide an additional 1 3/4” of wall thickness.

If your model requires a spacer (1), install it into sleeve (2). Slide the sleeve over the cartridge, body and O-ring. Ensure sleeve is properly positioned over the front of cartridge.

Secure the escutcheon (1) to the bracket (2) with the 2 screws provided (3). Do not overtighten escutcheon screws.

Install bracket (5) over the cartridge body using the 2 screws (6) provided. Install escutcheon (7) by placing it over the bracket as shown and rotating it to lock the tabs (8). Secure the escutcheon to the bracket using set screw (9).

D. Slide trim ring (1) over the cartridge and sleeve and into the escutcheon. Install volume control handle base (2) with lever to the right as shown (3). Install set screw (4) or (5) followed by the handle lever (6) or (7).
E. On most models, lever should point downward to 6 o’clock position. Install set screw (8) into handle (9). Push handle onto valve cartridge and tighten set screw to secure handle.
Note: Some models include set screw covers for volume control handle that should also be installed.

Siderna® Valve Trim Installation (T60080, T60280 & T60480)
Remove plaster guard (1) from rough (2).
Note: Depending on the location of the valve within the wall and wall thickness, an optional extension kit (RP82245) can provide an additional 1 3/4” of wall thickness.

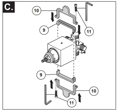
Using supplied Allen wrench, install both anti rotational pins (3) into holes (4) in the valve body. USE CARE TO NOT DROP PINS BEHIND THE WALL. It is important that the rough be mounted in the wall as level as possible because of the square shape of this product. Slide trim sleeve (5) over the cartridge and bonnet aligning the two legs (6) of the sleeve over the anti-rotational pins (3). If the trim is not square, you can try removing a pin and holding the sleeve secure with the two set screws (7) provided. Make sure the sleeve is pushed all the way back so the legs of the sleeve rest against the valve body. The set screws (7) should be in a position where they hit just behind the bonnet nut (8). Tighten set screws (7).

Assemble the two mounting sleeves (9) and two mounting plates (10). Slide the mounting plate assemblies over the trim sleeve so that the tabs/ plates (10) are at the top and bottom of the trim sleeve, as shown. Thread screws (11) into mounting plates just enough to assemble the two sides together. Slide the mounting plates back against the wall and finish tightening the screws (11)

Using the mounting plates (10) as a guide, enlarge hole around rough so that plates can be pushed up to 1/8″ into the wall. Tighten screws (11).

Place the center hole of the escutcheon (12) over the trim sleeve and carefully push it back to the mounting plates (10). Magnets on the back of the escutcheon will keep it in place.

Place volume control handle (13) over valve stem (14) and onto the trim sleeve (5). Lever should point horizontally to 3 o’clock position. Secure handle with set screw (15).

Installation and Adjustment of the Temperature Knob Failure to do so may cause injury.
Adjust temperature limit stop! Turn on water supplies; let the water run at both full hot and full cold to ensure the water is running as hot/ cold as possible. Place a thermometer in a plastic tumbler, and hold the tumbler in the water stream. Place the temperature knob (1) onto the splines (2), then rotate the temperature knob counter-clockwise until you achieve your maximum desired temperature from the outlet (not more than 120° or the lower temperature mandated by your local plumbing code). If max temperature is not achieved before limit stop (3) on temperature knob (1) meets the limit stop (4) on the volume control handle. Remove the temperature control knob (1) from splines (2). Rotate temperature control knob (1) clockwise. Place temperature control knob (1) back onto splines (2) and continue to rotate counterclockwise until maximum desired temperature is achieved. Remove the temperature knob (1) and replace onto the splines (2), making sure that the temperature knob limit stop (3) hits against the volume handle limit stop (4) as shown. Secure the temperature knob using screw (5) and place cap (6) on knob.
For Siderna® (series T60X80) models, place temperature handle (knob) (10) onto valve stem and secure with screw (11). Ensure O-ring (12) is assembled on handle cap (13). Install handle cap by pressing it into place on top of the temperature handle (10). Secure cap by tightening screw (14) from the underside of the handle.

Cleaning and Care
Care should be given to the cleaning of this product. Although its finish is extremely durable, it can be damaged by harsh abrasives or polish. To clean, simply wipe gently with a damp cloth and blot dry with a soft towel.
60 Series Maintenance
Cannot receive more than a trickle of water: Both hot and cold supply lines must be pressurized. If only one side is pressurized, the system will not allow adequate flow of water.
Faucet leaks from showerhead: Remove the showerhead then turn the water on and off to verify if the cartridge is leaking or the showerhead is draining slowly (the showerhead may need to be cleaned if water drains slowly).
If leak persists – SHUT OFF WATER SUPPLIES Replace cartridge assembly – RP47201.
Unable to set or maintain mixed water temperature:
SHUT OFF WATER SUPPLIES. Remove handle assembly, trim sleeve, and bonnet nut. Check to make sure the “H” marking on the cartridge aligns with the hot inlet and the “C” marking on the cartridge aligns with the cold inlet to the valve body The thermostatic cartridge cannot function if hot and cold inlets are reversed.
Low flow:
Low flow may be caused by clogged screens within the thermostatic cartridge. To clean the hot and cold screens in the cartridge, follow the steps below:
- SHUT OFF WATER SUPPLIES.
- Remove the handle assembly.
- Unscrew the hex shaped portion of the cartridge from the brass section of the cartridge. The brass section must be held securely by the flats while the hex is rotated counter-clockwise. Failure to secure the brass section while rotating the hex can result in damage to the cartridge. (See illustration below)
- Carefully clean any debris from the screens under running water. If the debris is difficult to remove then soak the screens overnight in a 50% water and 50% vinegar solution.
- Reassemble the cartridge.
- Replace the handle.
- Turn the water back on.
- Reset the limit stop before using the valve.
Cartridge Summary Reference Sheet

Customer Support
Register Online www.brizo.com/customer-support/product-registration
To reference replacement parts and access additional technical documents and product info, visit www.brizo.com
1-877-345-BRIZO (2749)
www.brizo.com/customer-support























