DELTA T27T MultiChoice Valve Trim

Cartridge Installation
- Turn off water supplies. Remove bonnet nuts (1) and test caps (2) from the rough-in body (3). Place a bucket or small container over the front of the valve body and slowly open the water supplies to flush any debris from the supply lines before installing the cartridge. Turn the water supplies back off.

- Rotate the valve cartridge (1) so that “H” (2) is on the hot side and the “C” (2) is on the cold side. Add silicone lube to the three o-rings (3) shown above to make the cartridge easier to install and remove from the valve body. Insert cartridge into valve body as shown. Ensure the keys on the body are fully engaged with the slots in the body (4) A light coating of plumbers grease applied to o-rings may aid in assembly.

Back-to-back Installation
- For the exceptions of back to back or reverse installations (hot on right and cold on left) only: Rotate valve cartridge (1) so “H” is on the hot side and “C” is on the cold side and the word “UP” (2) appears on the bottom. Apply silicone lube to the three o-rings shown above to make the cartridge easier to install and remove from the rough-in body. Install the cartridge making sure that the
- keys are fully engaged with the slot in the rough-in body (see step B). Slide o-ring (3) and bonnet nut (4) over the cartridge and thread onto the rough-in body. Hand tighten securely.
Thread bonnet nut (2) onto cartridge. Hand tighten securely. Slide o-ring (1) over the cartridge and bonnet.
Diverter Cartridge Installation
For Diverter Cartridge Installation:
Apply silicone lube to the o-ring (2) to make the diverter sleeve (3) easier to install diverter cartridge. Rotate the diverter cartridge (1) so the pin is at the bottom for proper installation.
Apply silicone lube to the o-rings (4) to make the diverter sleeve (3) easier to install diverter cartridge. Align diverter sleeve so that the notches are in the same position as the notches on rough-in body (5).
Diverter Bonnet Installation
Slide bonnet nut (1) over diverter sleeve (2) and thread into rough-in body. Hand tighten securely.
Trim Installation
Escutcheon Installation
For finished walls up to 1 1/8″. Install trim sleeve (1) over valve cartridge (7) and bonnet. Secure backplate (2) to rough-in body using 4 screws (3) provided.
Note: Be sure backplate is oriented front side forward and markings are visible. Holding escutcheon (5) in place, thread trim nut (4) onto diverter sleeve (6). For thick wall installation, visit delta faucet website, check “parts & accessories diagram” of the models you bought, order the appropriate thick wall installation kit RP to support finished wall thickness up to 2 1/8″. On rough or uneven surfaces it is necessary to apply caulk around the backplate (2) to supplement the seal. Do not caulk the drip notch in the bottom of the backplate (2). Do not caulk the escutcheon (5).
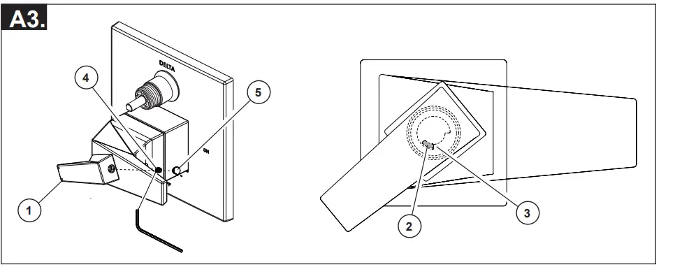
Volume Handle Installation
Install valve handle (1) over cartridge (4), screw in set screw (2) using a allen wrench. Place set screw cover (3), if included, over set screw and apply pressure until cover is properly seated.
Installation and Adjustment of the Temperature Knob. Failure to do so may cause injury.
Adjust temperature limit stop
Turn on water supplies; LET THE WATER RUN AT BOTH FULL HOT AND FULL COLD TO ENSURE THE WATER IS RUNNING AS HOT/COLD AS POSSIBLE. Place a thermometer in a plastic tumbler, and hold the tumbler in the water stream. Place the temperature knob (1) onto the splines (2), then rotate the temperature knob counter-clockwise until you achieve your maximum desired temperature from the outlet (not more than 120° or the lower temperature mandated by your local plumbing code). If max temperature is not achieved before limit stop (3) on temperature knob (1) meets the limit stop (4) on the volume control handle. Remove the temperature control knob (1) from splines (2). Rotate temperature control knob (1) clockwise. Place temperature control knob (1) back onto splines (2) and continue to rotate counter-clockwise until maximum desired temperature is achieved. Remove the temperature knob (1) and replace onto thesplines (2), making sure that the temperature knob limit stop (3) hits against the volume handle limit stop (4) as shown.
Valve Trim Installation
Temperature Handle Installation Step A1 or A2 or A3. Diverter Handle Installation Step B.
Temperature handle Installation
Secure temperature control knob (1) with screw (2). See next step for securing temperature control cover (3).Snap temperature control cover over temperature control knob by first aligning smaller tab (1) on cover with receiving slot (2) on temperature knob. Swing larger tab (3) to engage with snap feature (4). Note: If dis-assembly is required, reverse this motion, disengaging larger tab (3) from snap feature (4) first.
Temperature handle Installation
Attach spacer screw (1) to valve stem (2). Slide temperature control handle (3) into place over spacer screw (1). Install set screw (4) using an allen wrench, place set screw cover (5), if included, over set screw and apply pressure until cover is properly seated.
Temperature handle Installation
Turn on water supplies; LET THE WATER RUN AT BOTH FULL HOT AND FULL COLD TO ENSURE THE WATER IS RUNNING AS HOT/COLD AS POSSIBLE. Place the temperature handle (1) onto the spline, then rotate the temperature handle until you achieve your maximum desired temperature from the outlet (not more than 120° or the lower temperature mandated by your local plumbing code). Then take off the temperature handle and assemble it onto the spline again to make sure the temperature handle limit stop (2) hits against the volume handle limit stop (3) as shown. Install temperature handle with set screw (4), cover set screw with handle button (5).
Diverter Handle Installation
Slide diverter handle (1) onto diverter cartridge stem (2), ensure that handle aligns with cartridge stem. Install set screw (3) using an allen wrench. Place set screw cover (4), if included, over set screw and apply pressure until cover is properly seated.
Potential scald or thermal shock injury could result due to cross flow if outlet at the shower is blocked or restricted (e.g., pause control on hand shower). Be sure to point hand shower away from you when re-starting flow or install inlet check valves on both supply lines to prevent possible injury.
Cleaning and Care
Care should be given to the cleaning of this product. Although its finish is extremely durable, it can be damaged by harsh abrasives or polish. To clean, simply wipe gently with a damp cloth and blot dry with a soft towel.
Maintenance
Cannot receive more than a trickle of water:
Both hot and cold supply lines must be pressurized. If only one side is pressurized, the system will not allow adequate flow of water.
Faucet leaks from shower outlet:
Remove the hand shower then turn the water on and off to verify if the cartridge is leaking or the hand shower is draining slowly (the hand shower may need to be cleaned if water drains slowly).
If leak persists -SHUT OFF WATER SUPPLIES Replace cartridge assembly – RP47201.
Unable to set or maintain mixed water temperature:
SHUT OFF WATER SUPPLIES. Remove handle assembly, trim sleeve, and bonnet nut. Check to make sure the “H” marking on the cartridge aligns with the hot inlet and the “C” marking on the cartridge aligns with the cold inlet to the valve body. The thermostatic cartridge cannot function if hot and cold inlets are reversed.
Low flow:
Low flow may be caused by clogged screens within the thermostatic cartridge. To clean the hot and cold screens in the cartridge, follow the steps below:
- SHUT OFF WATER SUPPLIES.
- Remove the handle assembly.
- Unscrew the hex shaped portion of the cartridge from the brass section of the cartridge. The brass section must be held securely by the flats while the hex is rotated counter-clockwise. Failure to secure the brass section while rotating the hex can result in damage to the cartridge. (See illustration below)
- Carefully clean any debris from the screens under running water. If the debris is difficult to remove then soak the screens overnight in a 50% water and 50% vinegar solution.
- Reassemble the cartridge.
- Replace the handle.
- Turn the water back on.
Cartridge Summary Reference Sheet 
Diverter Handle Reference Sheet
Water Flow For 3 Function Diverter 
Shared positions do not exist in non-shared cartridges.
Water Flow For 6 Function Diverter
Shared positions do not exist in non-shared cartridges.




















