DELTA T27T MultiChoice Valve Trim with Diverter
Installation Instruction
Cartridge Installation
Turn off water supplies. Remove bonnet nuts (1) and test caps (2) from the rough-in body (3). Place a bucket or small container over the front of the valve body and slowly open the water supplies to flush any debris from the supply lines before installing the cartridge. Turn the water supplies back off.
Rotate the valve cartridge (1) so that “H” (2) is on the hot side and the “C” (2) is on the cold side. Add silicone lube to the three o-rings (3) shown above to make the cartridge easier to install and remove from the valve body. Insert cartridge into valve body as shown. Ensure the keys on the body are fully engaged with the slots in the body (4) A light coating of plumbers grease applied to o-rings may aid in assembly.
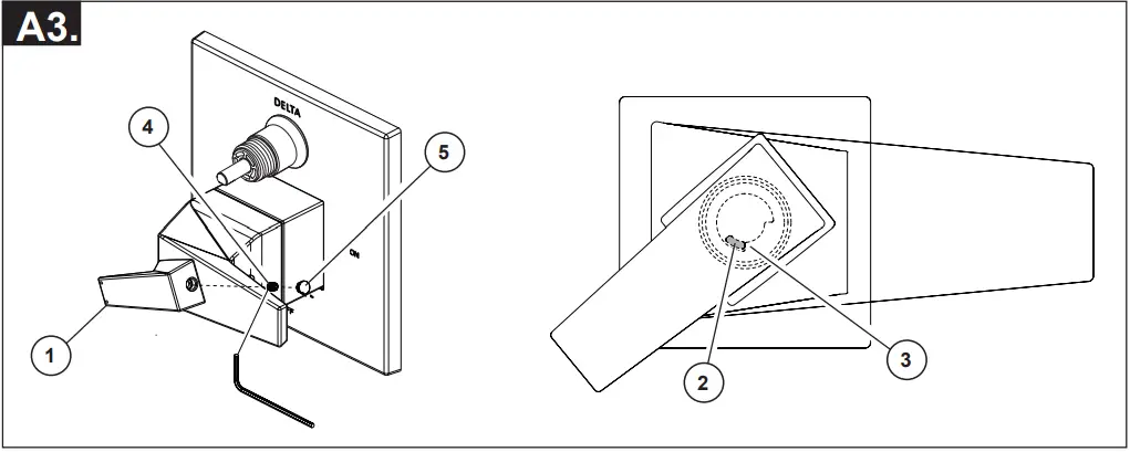
Back to back Installation
For the exceptions of back to back or reverse installations (hot on right and cold on left) only: Rotate valve cartridge (1) so “H” is on the hot side and “C” is on the cold side and the word “UP” (2) appears on the bottom. Apply silicone lube to the three o-rings shown above to make the cartridge easier to install and remove from the rough-in body. Install the cartridge making sure that the keys are fully engaged with the slot in the rough-in body (see step B). Slide o-ring (3) and bonnet nut (4) over the cartridge and thread onto the rough-in body. Hand tighten securely.
Thread bonnet nut (2) onto cartridge. Hand tighten securely. Slide o-ring (1) over the cartridge and bonnet.
Diverter Cartridge Installation
For Diverter Cartridge Installation:
Apply silicone lube to the o-ring (2) to make the diverter sleeve (3) easier to install diverter cartridge. Rotate the diverter cartridge (1) so the pin is at the bottom for proper installation.
Apply silicone lube to the o-rings (4) to make the diverter sleeve (3) easier to install diverter cartridge. Align diverter sleeve so that the notches are in the same position as the notches on rough-in body (5).
Diverter Bonnet Installation
Slide bonnet nut (1) over diverter sleeve (2) and thread into rough-in body.
Hand tighten securely.
Trim Installation
Escutcheon Installation
For finished walls up to 1 1/8″. Install trim sleeve (1) over valve cartridge (7) and bonnet. Secure backplate (2) to rough-in body using 4 screws (3) provided.
Note: Be sure backplate is oriented front side forward and markings are visible.
Holding escutcheon (5) in place, thread trim nut (4) onto diverter sleeve (6).
Note: For thick wall installation, visit delta faucet website, check “parts & accessories diagram” of the models you bought, order the appropriate thick wall installation kit RP to support finished wall thickness up to 2 1/8″. On rough or uneven surfaces it is necessary to apply caulk around the backplate (2) to supplement the seal. Do not caulk the drip notch in the bottom of the backplate (2). Do not caulk the escutcheon (5).
Volume Handle Installation
Install valve handle (1) over cartridge (4), screw in set screw (2) using a allen wrench.
Place set screw cover (3), if included, over set screw and apply pressure until cover is properly seated.
Installation and Adjustment of the Temperature Knob. Failure to do so may cause injury.
Adjust temperature limit stop
Turn on water supplies; LET THE WATER RUN AT BOTH FULL HOT AND FULL COLD TO ENSURE THE WATER IS RUNNING AS HOT/COLD AS POSSIBLE. Place a thermometer in a plastic tumbler, and hold the tumbler in the water stream. Place the temperature knob (1) onto the splines (2), then rotate the temperature knob counter-clockwise until you achieve your maximum desired temperature from the outlet (not more than 120° or the lower temperature mandated by your local plumbing code).
If max temperature is not achieved before limit stop (3) on temperature knob (1) meets the limit stop (4) on the volume control handle. Remove the temperature control knob (1) from splines (2). Rotate temperature control knob (1) clockwise. Place temperature control knob (1) back onto splines (2) and continue to rotate counter-clockwise until maximum desired temperature is achieved. Remove the temperature knob (1) and replace onto thesplines (2), making sure that the temperature knob limit stop (3) hits against the volume handle limit stop (4) as shown.
Valve Trim Installation
Temperature Handle Installation Step A1 or A2 or A3. Diverter Handle Installation Step B.
Temperature handle Installation
Secure temperature control knob (1) with screw (2). See next step for securing temperature control cover (3).Snap temperature control cover over temperature control knob by first aligning smaller tab (1) on cover with receiving slot (2) on temperature knob. Swing larger tab (3) to engage with snap feature (4). Note: If dis-assembly is required, reverse this motion, disengaging larger tab (3) from snap feature (4) first.
Temperature handle Installation
Attach spacer screw (1) to valve stem (2). Slide temperature control handle (3) into place over spacer screw (1). Install set screw (4) using an allen wrench, place set screw cover (5), if included, over set screw and apply pressure until cover is properly seated.
Temperature handle Installation
Turn on water supplies; LET THE WATER RUN AT BOTH FULL HOT AND FULL COLD TO ENSURE THE WATER IS RUNNING AS HOT/COLD AS POSSIBLE. Place the temperature handle (1) onto the spline, then rotate the temperature handle until you achieve your maximum desired temperature from the outlet (not more than 120° or the lower temperature mandated by your local plumbing code). Then take off the temperature handle and assemble it onto the spline again to make sure the temperature handle limit stop (2) hits against the volume handle limit stop (3) as shown. Install temperature handle with set screw (4), cover set screw with handle button (5).
Diverter Handle Installation
Slide diverter handle (1) onto diverter cartridge stem (2), ensure that handle aligns with cartridge stem. Install set screw (3) using an allen wrench. Place set screw cover (4), if included, over set screw and apply pressure until cover is properly seated.
Potential scald or thermal shock injury could result due to cross flow if outlet at the shower is blocked or restricted (e.g., pause control on hand shower). Be sure to point hand shower away from you when re-starting flow or install inlet check valves on both supply lines to prevent possible injury.
Cleaning and Care
Care should be given to the cleaning of this product. Although its finish is extremely durable, it can be damaged by harsh abrasives or polish. To clean, simply wipe gently with a damp cloth and blot dry with a soft towel.
Maintenance
Cannot receive more than a trickle of water: Both hot and cold supply lines must be pressurized. If only one side is pressurized, the system will not allow adequate flow of water.
Faucet leaks from shower outlet: Remove the hand shower then turn the water on and off to verify if the cartridge is leaking or the hand shower is draining slowly (the hand shower may need to be cleaned if water drains slowly).
If leak persists -SHUT OFF WATER SUPPLIES Replace cartridge assembly – RP47201.
Unable to set or maintain mixed water temperature: SHUT OFF WATER SUPPLIES. Remove handle assembly, trim sleeve, and bonnet nut. Check to make sure the “H” marking on the cartridge aligns with the hot inlet and the “C” marking on the cartridge aligns with the cold inlet to the valve body. The thermostatic cartridge cannot function if hot and cold inlets are reversed.
Low flow:
Low flow may be caused by clogged screens within the thermostatic cartridge. To clean the hot and cold screens in the cartridge, follow the steps below:
- SHUT OFF WATER SUPPLIES.
- Remove the handle assembly.
- Unscrew the hex shaped portion of the cartridge from the brass section of the cartridge. The brass section must be held securely by the flats while the hex is rotated counter-clockwise. Failure to secure the brass section while rotating the hex can result in damage to the cartridge. (See illustration below)
- Carefully clean any debris from the screens under running water. If the debris is difficult to remove then soak the screens overnight in a 50% water and 50% vinegar solution.
- Reassemble the cartridge.
- Replace the handle.
- Turn the water back on.
Cartridge Summary Reference Sheet
Diverter Handle Reference Sheet
Water Flow For 3 Function Diverter 
Water Flow For 6 Function Diverter

Shared positions do not exist in non-shared cartridges.
To order replacement parts, visit www.deltafaucet.com
Limited Warranty
Parts and Finish. All parts (other than electronic parts and batteries) and finishes of Delta® faucets purchased from authorized Delta sellers are warranted to the original consumer purchaser to be free from defects in material and workmanship for as long as the original consumer purchaser owns the home in which the faucet was first installed. For commercial purchasers, (a) the warranty period is ten (10) years for multi-family residential applications and (b) five (5) years for all other commercial applications, in each case from the date of original purchase. For purposes of this warranty, the term “multi-family residential application” refers to the purchase of the faucet from an authorized Delta seller by a purchaser who owns but does not live in the residential dwelling in which the faucet is initially installed, such as in a rented or leased single unit or multi-unit detached home (duplex or townhome), or a condominium, apartment building or community living center. The following installations are not considered multi-family residential applications, are excluded from the 10-year warranty and are subject to the 5-year warranty: industrial, institutional or other business premises, such as a dormitory, hospitality premises (hotel, motel or extended stay location), airport, educational facility, long- or short-term healthcare facility (hospital, rehabilitation center, nursing, assisted or staged-care living unit), public space or common area. Parts and Finish for Delta® Recertified Faucets. Delta Faucet Company offers for sale on deltafaucet.com Delta® Recertified faucets. All parts (other than electronic parts and batteries) and finishes of these Delta® Recertified faucets are warranted to the original consumer purchaser to be free from defects in material and workmanship for ten (10) years from the date of original purchase. For commercial purchasers, the warranty period is one (1) year from the date of original purchase.
Electronic Parts. Electronic parts (other than batteries), if any, of Delta® faucets purchased from deltafaucet.com or authorized Delta sellers are warranted to the original consumer purchaser to be free from defects in material and workmanship for five (5) years from the date of original purchase or, for commercial purchasers, for one (1) year from the date of original purchase. No warranty is provided on batteries. What We Will Do. Delta Faucet Company will repair or replace, free of charge, during the applicable warranty period (as described above), any part or finish that proves defective in material and/or workmanship under normal installation, use and service. If repair or replacement is not practical, Delta Faucet Company may elect to refund the purchase price in exchange for the return of the product. These are your exclusive remedies.
What Is Not Covered.
Because Delta Faucet Company is unable to control the quality of Delta products sold by unauthorized sellers, unless otherwise prohibited by law, this warranty does not cover Delta products purchased from unauthorized sellers. Any labor charges incurred by the purchaser to repair, replace, install or remove this product are not covered by this warranty. Delta Faucet Company shall not be liable for any damage to the faucet resulting from reasonable wear and tear, outdoor use, misuse (including use of the product for an unintended application), freezing water, abuse, neglect or improper or incorrectly performed installation, maintenance or repair, including failure to follow the applicable care and cleaning instructions. Delta Faucet Company recommends using a professional plumber for all installation and repair of faucets. We also recommend that you use only genuine Delta® replacement parts. What You Must Do To Obtain Warranty Service or Replacement Parts. A warranty claim may be made and replacement parts may be obtained by calling 1 800 345 DELTA (3358) or by contacting us by mail or online as follows (please include your model number and date of original purchase):
In the United States and Mexico:
Delta Faucet Company
Product Service
55 E. 111th Street
Indianapolis, IN 46280
Attention: Warranty Service
www.deltafaucet.com/service-parts/contact-us
In Canada:
Masco Canada Limited, Plumbing Group
Technical Service Centre
350 South Edgeware Road
St. Thomas, Ontario, Canada N5P 4L1
Attention: Warranty Service
http://www.deltafaucet.ca/customersupport/assistance.html
Proof of purchase (original sales receipt) from the original purchaser must be made available to Delta Faucet Company for all warranty claims unless the purchaser has registered the product with Delta Faucet Company or the product is a Delta® Recertified product purchased from deltafaucet.com. This warranty applies only to Delta® faucets manufactured after January 1, 2019 and installed in the United States of America, Canada and Mexico.
Limitation on Duration of Implied Warranties.
Please note that some states/provinces (including Quebec) do not allow limitations on how long an implied warranty lasts, so the below limitations may not apply to you. TO THE MAXIMUM EXTENT PERMITTED BY APPLICABLE LAW, ANY IMPLIED WARRANTY, INCLUDING THE IMPLIED WARRANTIES OF MERCHANTABILITY AND OF FITNESS FOR A PARTICULAR PURPOSE, IS LIMITED TO THE STATUTORY PERIOD OR THE DURATION OF THIS WARRANTY, WHICHEVER IS SHORTER.
Limitation of Special, Incidental or Consequential Damages. Please note that some states/provinces (including Quebec) do not allow the exclusion or limitation of special, incidental or consequential damages, so the below limitations and exclusions may not apply to you.
TO THE MAXIMUM EXTENT PERMITTED BY APPLICABLE LAW, THIS WARRANTY DOES NOT COVER, AND DELTA FAUCET COMPANY SHALL NOT BE LIABLE FOR, ANY SPECIAL, INCIDENTAL OR CONSEQUENTIAL DAMAGES (INCLUDING LABOR CHARGES TO REPAIR, REPLACE, INSTALL OR REMOVE THIS PRODUCT), WHETHER ARISING OUT OF BREACH OF ANY EXPRESS OR IMPLIED WARRANTY, BREACH OF CONTRACT, TORT, OR OTHERWISE. DELTA FAUCET COMPANY SHALL NOT BE LIABLE FOR ANY DAMAGE TO THE FAUCET RESULTING FROM REASONABLE WEAR AND TEAR, OUTDOOR USE, MISUSE (INCLUDING USE OF THE PRODUCT FOR AN UNINTENDED APPLICATION), FREEZING WATER, ABUSE, NEGLECT OR IMPROPER OR INCORRECTLY PERFORMED INSTALLATION, MAINTENANCE OR REPAIR, INCLUDING FAILURE TO FOLLOW THE APPLICABLE INSTALLATION, CARE AND CLEANING INSTRUCTIONS.
Notice to residents of the State of New Jersey: The provisions of this warranty, including its limitations, are intended to apply to the fullest extent permitted by the laws of the State of New Jersey.
Additional Rights. This warranty gives you specific legal rights, and you may also have other rights which vary from state/province to state/province. This is Delta Faucet Company’s exclusive written warranty and the warranty is not transferable. If you have any questions or concerns regarding our warranty, please contact us as provided above or view our Warranty FAQs at www.deltafaucet.com.





















