RG-05 Hot Dog Roller Grill
User Manual
This manual contains important information regarding your Admiral Craft unit. Please read this manual thoroughly prior to equipment set-up, operation, and maintenance.
Failure to comply with regular maintenance guidelines outlined in this manual may void the warranty. MUST READ!!!
WARNINGS
- Do not touch any hot surfaces
- Do not immerse unit. cord or plugin liquid at any time
- Unplug cord from outlet when not in use and before cleaning. Allow the grill to cool completely before cleaning.
- Plug only into a 3-hole grounded electrical outlet
- Do not operate unattended
- Do not use this unit for anything other than intended USC
- Do not use outdoors
- Keep children and animals away from the unit
- Always cook on a firm, dry and level surface at least 12″ from walls or any other obstruction
- Do not use the unit with a damaged cord or plug, in the event the appliance malfunctions, or has been damaged in any manner
- Any incorrect installation, alterations, adjustments, and/or improper maintenance can lead to property loss and injury.
AII repairs should be done by authorized professionals only - Ensure that the designated power supply is adequate for continual usage and the voltage is correct
TO USE
- Place frozen hot dogs on the rollers, evenly.
- The left knob controls the front rollers and the right knob controls the back rollers. Use both rows simultaneously for high-volume usage.
- To control the rotation of the rollers, turn the switch on the control plate to ON”
- Turn the knob to the desired level of heat.
Once hot dogs have been heating for 40 minutes, turn the temperature control knob lower to continuously keep warm. - The average heating duration is 40 minutes; however, this may vary depending on of quality of hot dogs.
CLEANING
NOTE: To maintain cleanliness and increase service life, the rollers should be cleaned daily. Clean every 3-4 hours for products with high fat or sugar content.
- Do not immerse the grill in water or any other liquid
- Before cleaning or attempting to move grill, unplug and let the unit cool completely.
- Wipe from the end of the rollers to the center. Make sure hot dogs have been removed before wiping
- To avoid damage, do not use abrasive cleaners or scouring pads.
- If soap or chemical cleaners are used, be sure they are completely rinsed away with clear water immediately after cleaning. The chemical residue could damage or corrode the surfaces of the unit.
NOTE:
- Hot dogs must be completely unfrozen
- In order to keep the juicy taste, do not keep warm for too long. The surface of the hot dogs may become thick and hard if warming for more than four hours.
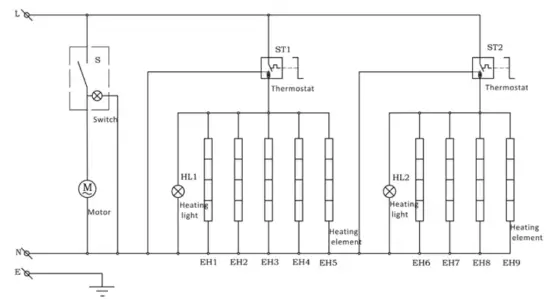
Hot Dog Roller Grill
RD-07
Circuit diagram
AC/L.N/120V/50-60H/0.56kW/4 7A


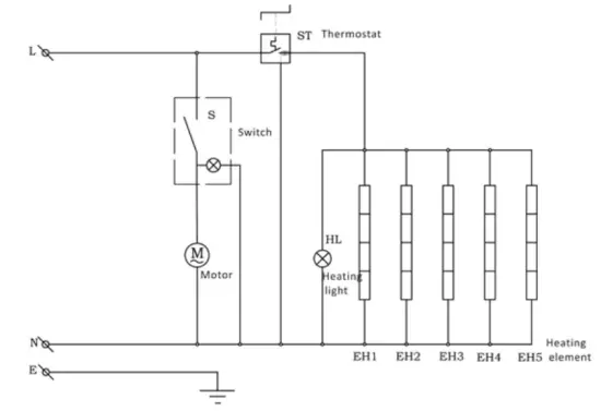
Hot Dog Roller Grill
RD-05
Circuit diagram
0.4kW/120VAC/ 50-60Hz


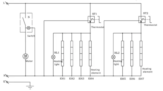
Hot Dog Roller Grill
RD-09
Circuit diagram
AC/L.N/120V/50-60H2/0.72kW/6A


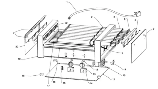
RG-05 RG-07 RG-09 
Roller Grill – RG-05, RG-07, RG-09
| Reference Number | RG-05 Part Number | RG-07 Part Number | RG-09 Part Number | Description |
| 1 | RG-1 | RG-1 | RG-1 | Power Cord and Strain Relief |
| 2 | RG-2 | RG-2 | RG-2 | White Grease Ring and White Bearing Ring |
| 3 | RG-3 | RG-3 | RG-3 | Roller Tube |
| 5 | RG-5 | RG-5 | RG-5 | Heating Element |
| 6 | Guide Rail | |||
| 7 | Right Side Cover | |||
| 8 | RGS-8 | RG7-8 | RG9-8 | Chain |
| 9 | RG-9 | RG-9 | RG-9 | Sprocket |
| 10 | RG-10 | RG-10 | RG-10 | Motor |
| 11 | Bottom Cover | |||
| 12 | RG-12 | RG-12 | RG-12 | Heat Indicator – Yellow |
| 13 | RG-13 | RG-13 | RG-13 | Thermostat Regulator Knob |
| 14 | RG-14 | RG-14 | RG-14 | Thermostat Regulator |
| 15 | RG-15 | RG-15 | RG-15 | On/Off Switch |
| 16 | Oil Tray | |||
| 17 | Oil Tray Rack | |||
| 18 | RG-18 | RG-18 | RG-18 | Rubber Foot |
| 19 | Body | |||
| 20 | Left Side Cover | |||
| 21 | Upper and Lower Support Rails |
VER811
ACE Electrical Equipment One Year Warranty
ACE warrants its equipment against defects in materials and workmanship, subject to the following conditions: This warranty applies to the original owner only and is not assignable.
ACE Electrical Equipment is warranted for one year, effective from the date of purchase by the original owner. A copy of the original receipt or other proof of purchase is required to obtain warranty coverage.
Should any product fail to function in its intended manner under normal use within the limits defined in this warranty, at ACE’s discretion, such product will be repaired, replaced with a refurbished unit, or replaced with a new unit by ACE, after the defective unit has been inspected and the defect has been confirmed.
ACE does not assume any liability for extended delays in replacing any item beyond its control. This warranty does not apply to rubber and non-metallic synthetic parts where usage, wear, or lack of preventative maintenance may create abnormal replacement rates, and these parts are excluded from this limited warranty.
This warranty covers products shipped into the 48 contiguous United States, Hawaii, and metropolitan areas of Alaska and Canada. Warranty coverage on products used outside the 48 contiguous United States, Hawaii, and metropolitan areas of Alaska and Canada may vary. Contact ACE for details at 1-800 223-7750
The following conditions are not covered by warranty:
- Equipment failure relating to improper installation, improper utility connection or supply and problems due to improper ventilation.
- Equipment that has not properly been maintained, damage for improper cleaning, and water damage to controls.
- Equipment that has not been used in an appropriate manner, or has been subject to misuse, neglect, abuse, accident, alteration, negligence, damage during transit, delivery or installation, fire, flood, riot, or act of God.
- Equipment that has the model number or serial number removed or altered.
- Equipment on which the security seal has been broken.
If the equipment has been changed, altered, modified, or repaired without express written permission from ACE, then the manufacturer shall not be liable for any damages to any person or to any property, which may result from the use of this equipment thereafter.
This equipment is intended for commercial use only. Warranty is void if the equipment is used other than a commercial application.
In the event your repair is not covered under the stated warranty provisions, parts are available by calling 1-800-223-7750. Equipment not covered by repair should be picked up from our warehouse facility within 10 business days from the notification date. Any and all arrangements and expenses for the return of this merchandise is your responsibility.
THE FOREGOING WARRANTY IS IN LIEU OF ANY AND ALL WARRANTIES EXPRESSED OR IMPLIED INCLUDING ANY IMPLIED WARRANTY OF MERCHANTABILITY OR FITNESS FOR PARTICULAR PURPOSES AND CONSTITUTES THE ENTIRE LIABILITY OF ACE. IN NO EVENT DOES THE LIMITED WARRANTY EXTEND BEYOND THE TERMS STATED HEREIN.”
VER40111



















