Cameracd X4 Webcam Quick Start Guide

X4 WEBCAM Manual
Product Brief:
Thank you for choosing our WEBCAM. This is Webcam for real-time data transmission to PC via USB port. It has the advantages of high resolution, fast transmission rate, beautiful appearance, easy to carry etc.
System Requirements
Hardware requirements: Desktop and laptop computers with USB ports, Pentium 200 or higher CPU
Operation system:
Windows XP/ VISTA/ Win7/ Win8/ Win10
Linux 2.6.24 and above/ Ubuntu
Mac OS 10.6 and above/ Android5.1 and above
Over 500MB available hard disk space
4GB or higher RAM memory; CPU processor 2.0GHz or higher frequency
Supports Direct X VGA graphics card
Product diagram

❶ Light Mode control button(Three modes: warm light, white light, warm white light)
‘a’ button: Short press this button to switch the fill light mode in turn(Long press to turn off light).
‘b’ button: Short press this button to switch the light brightness, 5 brightness modes are available(20%, 40%, 60%,80%,100%).
❷ Fill light
❸ 360 ° Omnidirectional dual MIC
❹ Status indicator
❺ 4MP Full HD camera
❻ Universal rotating base
❼ Tripod Screw Hole
❽ Adjustable universal clip / base
❾ USB Cable
❿ User Manual
Product information and parameters
Full HD COMS color sensor, maximum resolution is 4MP, but the real output depends on the application
Interface: USB 2.0 port(Compatible USB3.0)
Image focus: 50cm to infinity
LED light: Warm light, white light, warm white light
Status indicator: Yes
Microphones: Omni Directional Microphones
Specification of tripod screw hole: 1/4″ standard screw hole
Webcam Installation
- Place the camera
Place the camera where you want it on the computer monitor, desktop or tripod.
Note: This product does not include a tripod, please purchase separately if necessary.
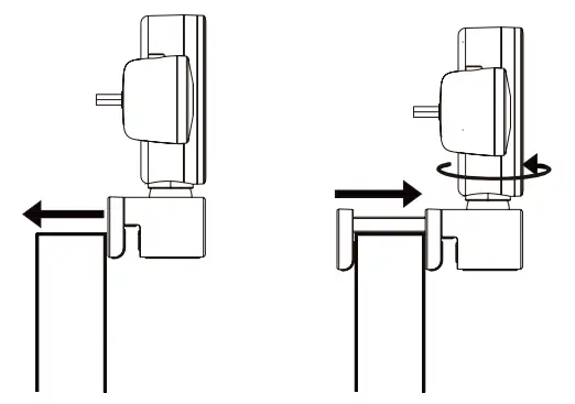
Place on monitor to install:
Open the camera mounting clip, follow the steps and methods shown in the figure to place the camera above the display, make sure the camera is securely installed.
- Connect Webcam
Connect camera to computer via USB interface.
Tips:
When using a desktop computer, highly recommend connect the camera to the back side USB port.
- When installation is completed, you can start using.
NOTE:- Do not use in hot, cold, dusty or humid environments.
- Avoid touching the lens with your hands, sharp or rough objects, please use a clean and soft cloth for cleaning.
- Try to avoid dropping the product. Severe falls may cause damage to the lens, old seals or scratched surfaces.
- If your computer (laptop) has a built-in camera, you need to change the default camera settings. For example, change the default camera in the chatting software setting!
www.cameracd.com













